网站首页  词典首页


请输入您要查询的字词:

 

字词 锆酸铅与锆酸钡固溶体的介电常数
类别 中英文字词句释义及详细解析
释义

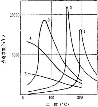
锆酸铅与锆酸钡固溶体的介电常数


图注:1.(0.1Ba·0.9Pb)ZrO3 4.(0.35Ba·0.65Pb)ZrO3

2.(0.2Ba·08Pb)ZrO3 5.(0.40Ba·0.60Pb)ZrO3

3.(0.3Ba·0.7Pb)ZrOa

随便看

 

离鸟网收录3541549条中英文词条,其功能与新华字典、现代汉语词典、牛津高阶英汉词典等各类中英文词典类似,基本涵盖了全部常用中英文字词句的读音、释义及用法,是语言学习和写作的有利工具。

 

Copyright © 2004-2024 vtrois.com All Rights Reserved
更新时间:2026/4/21 18:21:47