网站首页  词典首页


请输入您要查询的字词:

 

字词 废气吸收法
类别 中英文字词句释义及详细解析
释义
废气吸收法

废气吸收法

吸收法是用适当的液体洗涤废气,吸收其中易溶解的有害气体或蒸气的一种净化方法。吸收可分为物理吸收和化学吸收。物理吸收是不伴有明显化学反应的物理溶解过程,吸收所能达到的限度,决定于吸收条件下气液两相的平衡关系,吸收速度则主要取决于组分从气相转入液相的传质速度。化学吸收中,吸收限度同时取决于气液平衡和液相反应平衡关系,吸收速度则同时取决于传质速度和反应速度。为了提高对被吸收气体的吸收率和吸收速度,必须选择性能良好的吸收剂,要求被吸收气体的溶解度大,液相平衡分压力低。此外还必须保证气液有较大的接触面积和良好的流体动力学条件。
常用的吸收设备 良好的吸收设备必须是:
❶被吸收气体与吸收剂之间有足够的接触面积和接触时间;
❷气液两相间扰动强烈,吸收阻力低,吸收效率高;
❸在结构上尽量保证逆流操作,增大吸收推动力;
❹气体通过吸收设备的阻力小;
❺耐磨,耐腐蚀;
❻结构简单,便于制作和检修;
❼便于清除和处理吸收过程中所生成的污水和污泥。常用的吸收设备有以下几种。
(1) 喷雾塔: 喷雾塔的结构如图1所示,气体由塔下部进入,吸收剂自上部用几层喷雾器喷洒,气液呈逆流接触。气体与吸收剂雾滴充分接触后,经塔上部的除雾器把液滴挡下,经出口排至塔外。
喷雾塔的空塔气流速度一般为1~2m/s。喷雾器在塔内的布置应使断面上的雾滴分布均匀。现多采用y-1型离心式喷雾器喷雾,雾滴的大小与其结构及水压力有关,一般选用出水孔径为3~5mm,水压力为2~3 kg/cm2。转


图1 喷雾塔
1.气体入口 2.喷雾器 3.气体出口 4.除雾器 5.吸收剂入口 6.吸收剂出口


图2 填料塔
1.气体进口 2.气体出口3.除雾器 4.吸收剂入口5.填料 6.吸收剂出口


盘式离心雾化器具有不易堵塞的优点,但其结构较复杂。喷雾塔中安装的折式挡板式除雾器结构简单,不易堵塞,其阻力一般为5~15mmH2O。
喷雾塔结构简单,阻力小(包括雾滴分离器在内,一般仅20~30mmH2O),其吸收效率与液气比、喷雾密度有关。它对大颗尘粒有一定的去除效果。
(2) 填料塔:填料塔(图2)的塔体通常为一竖直圆筒,其中充填固体填料,液体吸收剂自塔顶均匀喷洒,沿填料表面流下,气体沿填料间隙上升,在填料表面成逆流接触,进行吸收。填料的作用是使气液两相有较大的接触面积,强化传质。常用的填料有拉西环 (瓷环或塑料环),鲍尔环,鞍形环和波纹板填料等,也有结合特殊需要使用焦炭块或石块作填料的。对填料的要求是: 单位体积填料具有较大的表面积,气体通过填料时阻力低。由于液体流经填料层时,有向塔壁汇集倾向,使中心填料不能充分湿润,当填料层厚度大时,常将填料层分成若干层段,每一层段填料用多孔模板支撑,使液流重新分配均匀。填料塔的空塔气流速度一般为0.5~1.5m/s,流速过大时,液体不沿填料下流,使填料层的阻力骤增,发生“液泛”现象,破坏填料塔的正常工作。填料塔的液气比一般为2~10,塔阻力随填料的种类、空塔气流速度、液气比而异,一般为30~70mmH2O/m。
填料塔结构简单,宜于用耐腐蚀材料制作,气量变化时适应性强,在塔中气液接触时间较长,尤适用于液相控制,气液反应较慢的吸收过程,但其体积大。吸收液循环使用时,可能含有固体颗粒或沉淀物,则易造成填料堵塞,不宜净化含尘量大的烟气。
小球、上挡网、吸收剂喷雾器、除雾器等部分组成。被净化的气体由塔的下部引入,经过筛板,以一定的速度流向塔顶,小球被吹起在塔内湍动旋转,互相碰撞,吸收剂自塔顶向下喷淋,将小球表面湿润。由于气、固、液三相接触,使小球表面液膜不断更新,从而加强了气液两相的传质,提高了净化效率。
塔内装填的小球一般采用聚乙烯或聚丙烯制作,直径为20mm~38mm。湍球塔的空塔气流速度一般为2~6m/s。可根据被净化气体的初始浓度和净化要求,将塔设计成单段或多段,每段塔的阻力为30~100mmH2O。


图3 湍球塔
1.气体入口 2.塔体3.上挡网4.气体出口5.除雾器6.吸收剂入口 7.塑料球8.中筛板9.支承筛板10.吸收剂出口


湍球塔空塔气流速度较高,处理能力大,气液分布比较均匀,不易被有害气体中的尘粒物堵塞,阻力稳定,具有吸收和除尘的双重作用。但塑料球只能在一定温度下使用,并需定期更换。
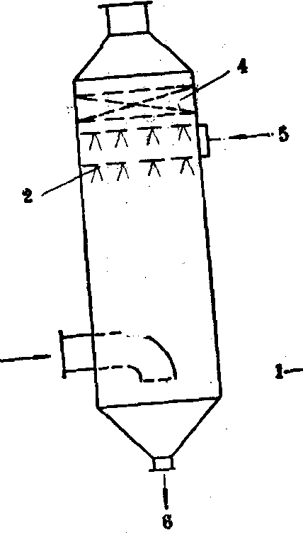
(4) 筛板塔(泡沫塔): 筛板塔(图4)是由进气口、水平多孔筛板,气液分离器、出口等部组成。在多层筛板塔内,气液呈错流状态,吸收剂从上层筛板的降液管流到筛板上,沿水平方向流过筛板,越过溢流堰经降液管流至下层筛板上,降液管的下端浸没于次一层筛板上的液层中,形成液封,被净化的气体自塔的下部引入,经筛孔穿过筛板上的液层,使其泡沫化。它随气流速度大小的不同形成不同的气液混合状态。在泡沫区产生强烈的湍流运动,气液两相接触表面大为增加并不断更新,吸收过程进行得十分迅速。筛孔直径一般取5~10mm,空塔气流速度取1.0~3.5m/s,筛孔气流速度取6~13m/s。在上述条件下,每层筛板的阻力为20~100mmH2O。筛板应保持水平。筛板的上方应设气液分离器。如采用折板式气液分离器时,该断面处的空塔气流速度应小于2m/s;如采用磁环层气液分离器时,该断面处的空塔气流速度应小于0.5m/s。


图4 筛板塔
1.溢流管2.溢流板3.气体出口4.筛板5.吸收剂入口6.吸收剂出口7.气体入口8.吸收剂出口


筛板塔结构简单,处理气体量大,有一定的吸收及除尘效果,阻力适中。但筛孔易被粘性物质或积垢堵塞,清理较麻烦,只适用于在气液负荷波动不大的情况下运行。
(5) 斜孔板塔: 斜孔板塔(图5)是筛板塔的一种改进型式。斜孔宽10~20mm,长10~15mm,高6mm。气体由塔的下部进入经斜孔水平喷出,相邻两孔的孔口方向相反,交错排列,吸收剂经溢流堰供至塔板,垂直于气流方向流动,产生强烈的湍流运动,这种结构使塔板上能保持较均匀的液层,气液能进行充分和较长时间的接触,从而进一步提高了传质效果。斜孔板塔具有筛板塔的各种优点,而塔板上气流分布更为均匀,气液接触时间长,雾滴夹带量小,斜孔大,不易堵塞等更是筛板塔所不及的。


图5 斜孔板塔

☚ 废气净化   废气吸附法 ☛
00012595
随便看

 

离鸟网收录3541549条中英文词条,其功能与新华字典、现代汉语词典、牛津高阶英汉词典等各类中英文词典类似,基本涵盖了全部常用中英文字词句的读音、释义及用法,是语言学习和写作的有利工具。

 

Copyright © 2004-2024 vtrois.com All Rights Reserved
更新时间:2026/4/21 17:21:21