网站首页  词典首页


请输入您要查询的字词:

 

字词 电压互感器
类别 中英文字词句释义及详细解析
释义

电压互感器


1.基本原理

电压互感器的代号为P.T.,它的工作原理与电力变压器相同。

电压互感器的一次线圈匝数很多,而二次线匝数很少。工作时,一次线圈并联在供电系统的一次电路中,而二次线圈并联仪表、继电器的电压线圈。由于这些电压线圈的阻抗很大,所以电压互感器工作时二次线圈接近于空载状态。二次线圈的额定电压一般为100V。

电压互感器的作用是在测量高电压时,为了安全与方便,将高电压经过它变为低电压(通常为100V),供给测量仪表和继电器的电压线圈。

电压互感器一次电压U1与其二次电压U2间存在着下列关系:

U1=U2·N1/N2≈Ku·U2 (4-11)

2.接线方案

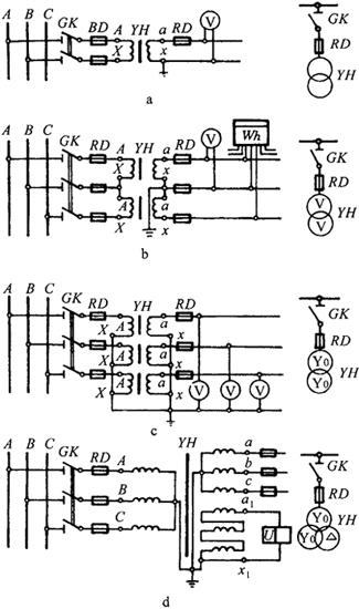
电压互感器在三相电路中有如图4-15所示的四种常见的接线方案:

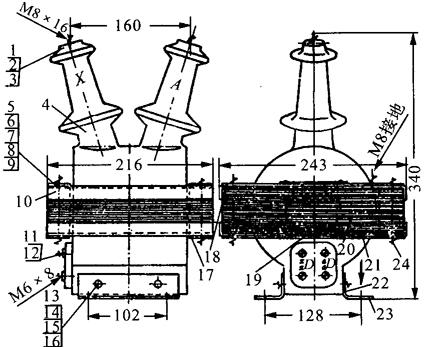
图4-15 JDJ-10型电压互感器的外形尺寸

(1)一个单相电压互感器的接线(图4-14a):供仪表、继电器接于一个线电压。

图4-14 电压互感器的接线方案

a一个单相电压互感器 b.两个单相接线V/V形 c.三个单相接成Y0/Y0形 d.三个单相三线圈电压互感器或一个三相五心柱三线圈电压互感器接成Y0/Y0/△形

(2)两个单相电压互感器接成V/V形(图4-15b):供仪表、继电器接于三相三线制电路的各个线电压,它广泛地应用在工厂变配电所的6~10kV高压装置中。

(3)三个单相电压互感器接成Y0/Y0形(图4-15c):供电给要求线电压的仪表、继电器,并供电给绝缘监察电压表。由于小接地电流系统在一次侧发生单相接地时,另两相电要升高到线电压,所以不能接入按相电压选择的电压表,否则在发生单相接地时电压表可能被烧坏。

(4)三个单相三线圈电压互感器或一个三相五心柱三线圈电压互感器接成Y0/Y0/△(开口三角)接成Y0的二次线圈,供电给需线电压的仪表、继电器及作为绝缘监察的电压表。辅助二次线圈接成开口三角形,构成零序电压过滤器,供电给监察线路绝缘的电压继电器。三相电路正常工作时,开口三角形两端的电压接近于零。当某一相接地时,开口三角形两端将出现近100V的零序电压,使电压继电器动作,给予信号。

3.电压互感器的类型及其选择

电压互感器按绝缘冷却方式分,有干式和油浸式。目前日益广泛采用浇注绝缘的干式互感器。电压互感器应按装置地点的条件及一次电压、二次电压(一般为100V)、准确度级等条件进行选择。对电压互感器,不必校验其短路电流的效应。

电压互感器的准确度也与二次负荷容量有关,满足的条件与前面式(4-9)相同,即S2e这里S2为二次回路中所有并联的仪表、继电器电压线圈所消耗的总的视在功率,即

式中∑PJ=∑(SJ·cosφJ),∑QJ=∑(SJ·sinφJ),分别为仪表、继电器电压线圈消耗的总的有功功率和无功功率。

电压互感器按其准确度分为0.2、0.5、1、3四个等级(其中常用的为0.5级),各级规定的误差限值在下述的次级极限容量范围和初级电压范围内,不应超过表4-34的数值。

表4-34 电压互感器各级规定的误差限值

注:①电压误差(AU%)

式中 K——电压互感器变比;

U1、U2——电压互感器一、二次线圈电压。

②角误差指一、二次侧电压相位间的角度差。

次级极限容量范围为

初级电压范围为:

0.9Ue到1.1Ue

式中 U1——初级电压(V);

Ue——额定电压(V);

Pe——额定容量(VA)。

电压互感器各级规定的误差限值见表3-34。

0.2级的电压互感器,一般用作试验精密测量。0.5~1级用于发电厂和变电所的配电盘仪表上,但电度表须用0.5级的电压互感器。3级用于非精密测量。

使用电压互感器时要特别注意,电压互感器的二次侧不允行短路,因短路会烧坏二次线圈。为防止短路,高低压侧都要装熔断器。

4.电压互感器型号含义

电压互感器型号含义为:

J——在第一位时,表示电压互感器;在第三位时,表示油“浸”式;

在第四位时,表示“接”地保护。

Z——浇“注”式。

D——“单”相。

S——“三”相。

G——“干”式。

W——“五”柱式。

5.常用的电压互感器的型号、结构及主要数据

(1)JDJ型:JDJ型为单相双线圈油浸式的电压互感器。其中JDJ-6型和JDJ-10型为户内用,JDJ-35型为户外用。它们均可用于单相或三相电路。JDJ-10型的外形尺寸见图4-15,JDJ-35型的外形尺寸见图4-16,其接线见图4-17和图4-18,技术数据见表4-35。

图4-16 JDJ-35型电压互感器的外形尺寸

1.高压套管 2.低压套管 3.注油塞 4.吊攀 5.接地螺栓M12 6.放油塞 7.储油柜 8.铭牌

图4-17 JDJ型电压互感器用于单相线路的接法

图4-18 JDJ型电压互感器用于三相线路的接法

表4-35 JDJ型电压互感器技术数据

(2)JSJW型:JSJW型为三相三线圈五铁芯柱油浸式(简称三相五柱式)电压互感器。它的一次线圈和基本二次线圈分别接成星形(Y0/Y0-12),三个线圈端头及中性点均固定于其箱盖上,额定二次电压(线电压)是100V,供给测量仪表和继电器用;辅助二次线圈接成开口三角形,只引出两个接线端,供给母线绝缘监视用。JSJW-10型电压互感器的外形见图4-19,它用于三相线路的接线法,见图4-20,其技术数据见表4-36。

图4-19 JSJW-10型电压互感器外形尺寸

图4-20 JSJW-10型电压互感器用于三相线路的接法

V-电压表;DJ-电磁型电压互感器

表4-36 JSJW型电压互感器技术数据

JSJW型电压互感器的辅助二次线圈的性能是:

①在基本二次线圈空载、辅助二次线圈接有3级负荷和一次侧施加平衡的额定电压情况下,当一次线圈中的一个线端与中点短接时,辅助二次线圈出头ap、xp间的电压为97~103V。

②在基本二次线圈接有1级负荷、辅助二次线圈接有3级负荷和一次侧施加平衡的额定电压情况下,当一次线圈中的一个线端与中点短接时,辅助二次线圈出头ap、xp间的电压为90~110V。

③在二次线圈无负荷和一次侧施加平衡并为正弦波形的额定电压时,辅助二次线圈出头ap、xp间的电压(用静电电压表或电子管型电压表测量)不大于8V。

(3)JDZ型:JDZ型为单相双线圈树脂浇注绝缘的户内用电压互感器。它具有体积小,重量轻,节约铜材、钢材及满足三防(防潮、防盐雾、防霉菌)要求的特点。可供交流线路中作电压、电能测量及供继电器和其他控制设备作电源用。在使用上可取代JDJ型。JDZ-(6)10型的外形见图4-21,其尺寸见表4-37。技术数据见表4-38。

图4-21 JDZ-10、JDZJ-10型电压互感器外形尺寸

表4-37 JDZ-10、JDZJ-10型电压互感器尺寸明细表

表4-38 JDZ型电压互感器技术数据

注:当产品用于三相组合成Y形(100/V),使用容量为额定容量的1/3时,其准确级次不变。

(4)JDZJ型:JDZJ型为单相三线圈、浇注绝缘的户内用电压互感器。供中性点不直接接地的系统中作电压、电能测量和单相接地保护之用。它的基本特点与JDZ型相同。所不同的地方是JDZJ型有辅助二次线圈,在使用时它的一次线圈的一端接高电压,另一端接地;但其一次线圈两端均为全绝缘的结构,其外形与JDZ-10型相同。用三台JDZJ型可取代JSJW型电压互感器,但不能作单相运行。

JDZJ型能在1.1倍额定电压下长期运行,并能在8h内无损伤地承受2倍额定电压。

JDZJ型的辅助二次线圈性能如下:

①当基本二次线圈空载时,辅助二次线圈空载误差符合3级准确等级要求。

②由JDZJ型组成三相组时,一次线圈与二次线圈为Y0/Y0-12连接,辅助二次线圈接成开口三角形,在互感器运行时必须通过负荷而接成三角形,当基本二次线圈接有一级负荷(cosφ=0.8),辅助二次线圈接成开口三角形的额定负荷为100VA,一次线圈加上额定平衡电压的情况下,当一次线圈中的一相和中点短接时,辅助二次线圈开口三角形的ap、xp两端电压为95~105V。

JDZJ型电压互感器的外形尺寸见图4-22。尺寸明细表见表4-37。其技术数据见表4-39。

图4-22 JDG-3型电压互感器外形图

表4-39 JSZJ型电压互感器技术数据

注:准确级次由基本二次线圈确定。

(5)JDG型:JDG型为单相双线圈、干式、户内用的电压互感器,其线圈连接组为1/1-12。本型互感器能在1.1倍额定电压下长期运行。

JDG-0.5型电压互感器的铁芯采用壳式结构,由E形及条形硅钢片叠成。二次线圈绕在矩形胶纸筒上。一次线圈绕在二次线圈的外面,对二次线圈的绝缘采用纸板。在铁芯夹件上装有一、二次接线板及接地螺栓。JDG0.5型电压互感器的技术数据见表4-40。

表4-40 JDG型电压互感器技术数据

JDG-3型电压互感器采用三柱芯式结构,由条形硅钢片叠成。在中间的一个铁芯柱上套有两个线圈——二次线圈及一次线圈。二次线圈绕在绝缘纸筒上。一次线圈绕在二次线圈的外面,对二次线圈的绝缘采用纸板及电缆纸角环。两个线圈均为多层圆筒式。二次线圈不分段。一次线圈分为两段,在这两段线圈的最外层均放有静电屏。JDG-3型电压互感器的外形见图4-22。其技术数据见表4-40。

(6)JDJJ1-35型:JDJJ1-35型为单相三线圈、油浸式、户外用电压互感器,其连接组为1/1/1-12-12,其X端接地,故95kV仅对A而言。本型电压互感器能在1.1倍额定电压下长期运行,并能在8h内无损伤地承受1.9倍额定电压,其辅助二次线圈的性能如下:

①当基本二次线圈无负荷时,辅助二次线圈能符合3级准确等级的要求。

②将3台JDJJ1-35型电压互感器的一次和基本二次线圈接成Y,y0-0,辅助二次线圈接成开口三角形,在基本二次线圈接有1级额定负荷(cosφ=0.8),辅助二次线圈接有3级额定负荷时,在一次线圈施加平衡的额定电压的情况下,当一次线圈中的一个线端与中点短接时,辅助二次线圈的开口三角形两端间的电压为90~110V。

JDJJ1-35型电压互感器的技术数据见表4-41。其外形见图4-23。

表4-41 JDJJ1-35型电压互感器技术数据

图4-23 JDJJ1-35型电压互感器外形

6.使用注意事项

(1)电压互感器的二次侧在工作时不得短路。短路时将产生很大的短路电流,可能烧毁互感器。为此,电压互感器的一、二次侧都必须装设熔断器进行短路保护。

(2)电压互感器的二次侧有一端必须接地。这也是为了防止一、二次线圈绝缘击穿时,一次侧的高电压窜入二次侧,危及人身和设备的安全。

(3)电压互感器的连接时,也要注意其一、二次线圈接线端子上的极性。我国规定单相电压互感器的一次线圈端子标以A、X,二次线圈端子标以a、x,A与a为同极性端,X与x也为同极性端。三相电压互感器,按照相应,一次线端子分别标以A、X,B、Y,C、Z,二次线圈端子分别标以a、x,b、y,c、z,这里A与a,B与b、C与c为相对应的同极性端,X与x,Y与y,这里A与a、B与b、C与c为相对应的同极性端,X与x、Y与y、Z与z也为相对应的同极性端。

随便看

 

离鸟网收录3541549条中英文词条,其功能与新华字典、现代汉语词典、牛津高阶英汉词典等各类中英文词典类似,基本涵盖了全部常用中英文字词句的读音、释义及用法,是语言学习和写作的有利工具。

 

Copyright © 2004-2024 vtrois.com All Rights Reserved
更新时间:2026/4/18 11:43:57