网站首页  词典首页


请输入您要查询的字词:

 

字词 税收会计制度
类别 中英文字词句释义及详细解析
释义 税收会计制度

第一章 总则

第一条 为了规范和加强税收会计工作,保证税收会计资料真实、准确、完整,充分发挥税收会计在加强税收管理中的作用,特制定本制度。

第二条 凡是直接负责税款征收或入库业务的税务机关,都必须严格按本制度的规定,组织税收会计核算工作。

第三条 税收会计的核算对象是税收资金及其运动,即税务部门组织征收的各项收入的应征、征收、减免、欠缴、上解、入库和提退等运动的全过程。

第四条 税收会计核算单位,按其对税收资金管理任务的不同,分为直接管理税收资金上解的单位(简称上解单位)、直接管理税收资金入库的单位(简称入库单位)、管理税收资金上解和入库双重业务的单位(简称双重业务单位)及管理部分税款上解和部分税款入库的混合业务单位(简称混合业务单位)四种。

上解单位,指直接负责税款的征收、上解业务,而不负责与金库核对入库税款和从金库办理税款退库业务的税务机关。它是入库单位的基层核算单位,核算税收资金从应征到上解的过程,为了满足上解单位考核税收收入任务的需要,它还必须将税款的提退也纳入其核算范围,以便提供税款上解净额指标。入库单位,指直接负责与金库核对入库税款和从金库办理税款退库业务,而不直接负责税款的征收和上解业务的税务机关。它是上解单位和混合业务单位的上级核算单位,它核算税收资金从应征到入库(提退)的全过程。

双重业务单位,指既直接负责税款的征收、上解业务,又直接负责与金库核对入库税款和从金库办理税款退库业务的税务机关。它核算税收资金从应征到入库(提退)的全过程。混合业务单位,指与乡(镇)金库的设置及其职责相对应,对规定在乡(镇)金库入库的税款,除负责征收业务外,还负责办理在乡(镇)金库的入库和退库业务;对规定在支金库入库的税款,只负责征收和上解业务,而不负责入库和退库业务的税务机关。它是入库单位的基层核算单位,核算税收资金从应征到上解过程及部分税收资金的入库和提退过程。

设置乡金库的地区,可以按混合业务单位组织会计核算,也可以按上解单位组织会计核算,具体按哪种单位组织核算,由各地税务机关自定。

第五条 入库单位和双重业务单位以上各级税务机关均为会计核算汇总单位。

第六条 各核算单位和汇总单位都必须在有关机构中设置税收会计人员并指定会计主管人员。

各单位配备的会计人员应当具备会计从业资格、持有会计证,担任会计机构负责人和会计主管人员必须具有国家规定的相应会计任职资格。

会计机构负责人和会计主管人员调动工作或离职,必须事先征得上级税务机关会计机构负责人的同意,并且必须与接管人员办清交接手续。

第七条 本制度第三条规定的会计核算对象所涉及的税收业务,都必须在税收业务发生时填制或取得合法的会计原始凭证,并由核算单位各凭证受理部门于填制或收到凭证的次日送交会计机构或会计人员。

第八条 各核算单位对所有实际发生的并引起税收资金运动的税收业务,都必须如实、及时地进行会计核算。不得伪造、变造会计凭证、会计账簿,报送虚假的会计报表。

任何部门、单位和个人不得指使、强令税收会计篡改会计资料和提供虚假的会计资料。

第九条 各核算单位和汇总单位向上级税务机关或对外报送的会计核算资料,应有核算单位或汇总单位负责人、会计机构负责人、会计主管人员的签章。签章人员对会计资料的合法性、真实性承担法律责任。

第十条 会计年度自公历1月1日至12月31日止。

第十一条 会计核算以人民币“元”为记账单位,元以下记至分。

第二章 记账方法

第十二条 税收会计采用“借贷记账法”。

第十三条 税收会计“借贷记账法”,以税务机关为会计实体,以税收资金活动为记账主体,采用“借”、“贷”为记账符号,运用复式记账原理,反映税收资金的运动变化情况。其会计科目划分为资金来源和资金占用两大类。它的所有账户分为“借方”和“贷方”,左“借”右“贷”、“借方”记录资金占用的增加和资金来源的减少,“贷方”记录资金占用的减少和资金来源的增加。它的记账规则是,对每项税收业务,都必须按照相等的金额同时记入一个账户的借方和另一个账户的贷方,或一个账户的借方(或贷方)和几个账户的贷方(或借方),即“有借必有贷,借贷必相等”。织会计核算,具体按哪种单位组织核算,由各地税务机关自定。

第十四条 借贷记账法的平衡公式是:

所有账户的借方余额(或发生额)合计$所有账户的贷方余额(或发生额)合计

或:

所有资金占用账户余额合计$所有资金来源账户余额合计

第三章 会计科目

第十五条 税收会计科目是对税收会计核算对象的具体内容,按照税收资金运动过程和税收管理需要,进行科学分类的项目。它是设置账户、组织会计核算的依据。

第十六条 国家税务总局统一规定的总账科目名称、编号、核算内容及其使用方法,各地不得自行变更。如有特殊情况,需要在国家税务总局统一规定的总账科目之外增设其他总账科目,可由省级税务机关统一作出规定。

各地必须按照国家税务总局统一规定的明细科目内容进行明细核算;需要在国家税务总局统一规定的明细科目之外增设其他明细科目,及二级、三级等各层明细科目的具体名称、编号和使用方法由各省级税务机关自行制定。

省级以下各级税务机关必须严格按照国家税务总局和省级税务机关的规定设置和使用会计科目,不需要的会计科目可以不用,不得随意增减会计科目或改变科目名称、编号、核算内容和使用方法。

第十七条 根据现行税收制度和税收管理需要,以及国家预算收入科目和国家金库制度,税收会计科目按四种核算单位的业务情况综合设置如下:

第十八条 会计科目核算内容和使用方法如下:

1.“应征税收”、“应征其他收入”,是上解单位、入库单位、双重业务单位和混合业务单位的共用科目。

本类科目核算纳税人发生纳税义务后,税务机关应征的税金。包括:
❶ 纳税人和扣缴义务人及代征代售单位(人)向税务机关申报、预缴或由税务机关直接核定的应纳税金;
❷ 按定期定额方式征收的应纳税金;
❸ 不须缴纳,但须向税务机关申报的已发生的征前减免税金;
❹ 查补的各种税金、滞纳金和罚款;
❺ 税务机关征收的临时性零散税金等。当增值税纳税申报进项税额大于销项税额,应征税金为零时,不作账务处理,但以留抵税额抵顶欠税时,应作账务处理。

本类科目“贷方”记实际发生的应征税金数和申报无误缴款有误的应退多缴税金数,“借方”记应退还的多缴税金数和抵减应征税金数。即实际发生各项应征税金时,借记“待征”类科目,贷记本类科目;发生应退还的多缴税金时,借记本类科目,贷记“多缴税金”科目;若应退多缴税金属于申报无误缴款有误的多缴税金,还应借记“待征”类科目,贷记本科目;以留抵税额抵顶欠税、定期定额户停业抵减当期定额税款、调低定额抵减当期原定额税款、及申报发生错误而多报税款需要抵减原申报数(税款未缴)时,借记本类科目,贷记“待征”类科目。平时余额在“贷方”,表示累计实现的应征税金总量。年终与“上解”类科目、“入库”类科目、“减免税金”、“提退税金”和“损失税金核销”科目的“借方”余额进行对冲,冲账后的余额与“多缴税金”科目余额之和,表示年终欠缴税金、在途税金、待解税金、待处理损失税金和待清理呆账税金的来源合计数。年终余额应结转下年度继续处理。

2.“多缴税金”,是上解单位、入库单位、双重业务单位和混合业务单位的共用科目。

本科目是“应征”类科目的抵减科目,核算应退还纳税人、扣缴义务人及代征代售单位(人)的多缴税金。包括:
❶ 纳税人、扣缴义务人及代征代售单位(人)自行申报或申请并经税务机关核定应退还的多缴税金;
❷ 税务机关、审计机关和财政监督机关在税务检查中发现的多缴税金;
❸ 税务机关在行政复议中确定的多缴税金;
❹ 法院在审理税务案件中判定的多缴税金。本科目不核算减免退税、出口退税。

本科目“贷方”记多缴税金发生数,“借方”记实际抵缴或退还的多缴税金数。即发生应退还的多缴税金时,借记“应征”类科目,贷记本科目;以多缴税金抵减欠税或抵减本期应纳税款时,借记本科目,贷记“待征”类科目;以现金或退库方式退还多缴税金时,借记本科目,贷记“提退税金”科目。余额在“贷方”,表示未抵缴或未退还的多缴税金数。年终余额应结转下年度继续处理。

3.“暂收款”,是上解单位、双重业务单位和混合业务单位的共用科目。

本科目核算按照规定向纳税人收取的预缴纳税保证金、发票保证金和拍卖款。

本科目“贷方”记实际收到的保证金和拍卖款,“借方”记保证金和拍卖款抵缴应纳税款数和退还数。即实际收到保证金和拍卖款时,借记“保管款”科目,贷记本科目;以保证金和拍卖款抵缴应缴税款、退还保证金时,借记本科目,贷记“保管款”科目。余额在“贷方”,表示暂收款未处理数。年终余额应结转下年度继续处理。

4.“待征税收”、“待征其他收入”,是上解单位、入库单位、双重业务单位和混合业务单位的共用科目。

本类科目核算应征而未征的税金。

本类科目“借方”记所有应征税金发生数和申报无误缴款有误的应退多缴税金数及呆账税金收回数,“贷方”记实征税款数和征前减免税金数、实际抵缴的多缴税金数和各种抵减待征税金数、以及结转到“待处理损失税金”科目的损失税金数和结转到“待清理呆账税金”科目的欠税数。即发生应征税金时,借记本类科目,贷记“应征”类科目;发生申报无误缴款有误的应退税金时,借记本类科目,贷记“应征”类科目;纳税人、扣缴义务人和代征代售单位(人)直接向银行缴纳税款及税务征收人员自行将自收税款汇缴银行时,借记“上解”类科目(入库单位和双重业务单位借记“在途税金”科目;混合业务单位属于在乡金库入库的税款,也借记“在途税金”科目),贷记本类科目;扣缴义务人、代征代售单位(人)和税务征收人员向会计结报现金税款或以纳税保证金、发票保证金和拍卖款抵缴税款时,借记“待解税金”科目,贷记本类科目;发生征前减免时,借记“减免税金”科目,贷记本类科目;以多缴税金抵减欠税或抵减本期应纳税款时,借记“多缴税金”科目,贷记本类科目;以留抵税额抵顶欠税、定期定额户停业抵减当期定额税款、调低定额抵减当期原定额税款及申报发生错误而多报税款需要抵减原申报数(税款未缴)时,借记“应征”类科目,贷记本类科目;结报前发生损失税金时,借记“待处理损失税金”科目,贷记本类科目;呆账欠税结转时,借记“待清理呆账税金”科目,贷记本类科目;呆账税金收回时,借记本类科目,贷记“待清理呆账税金”科目。余额在“借方”,表示实际欠缴数。年终余额应结转下年度继续处理。

5.“减免税金”,是上解单位、入库单位、双重业务单位和混合业务单位的共用科目。

本科目核算应纳税金发生后减征和免征(包括通过退库方式实施减征和免征)的税金,即实际发生的减免税金。已批准但未发生的减免税金不核算;出口退税不作为减免税金核算;非生产、经营性单位(个人)的征前免征税金不核算;纳税人解散、破产、撤销,经过法定清算仍未收回而依法注销的欠税和按国家规定经批准依法注销的欠税不在本科目核算。

本科目“借方”记实际发生的各种减免税金数(包括各种退库减免),“贷方”平时无发生额。即发生征前减免和以欠税抵顶减免时,借记本科目,贷记“待征”类科目;通过退库减免时,借记本科目,贷记“提退税金”科目。平时余额在“借方”,表示累计减免数。年终按税收和其他收入分类,与相应的“应征”类科目的“贷方”余额结转冲销后无余额。

6.“上解税收”、“上解其他收入”,是上解单位和混合业务单位的共用科目。

本类科目核算纳税人、扣缴义务人、代征代售单位(人)直接缴入和税务机关自行征收后汇总缴入银行的税金。混合业务单位属于在乡金库入库的税款缴入银行时,不在本类科目核算,应在“在途税金”科目核算。

本类科目“借方”记已经缴入银行的税金,“贷方”记接到入库单位提退清单的退库税金数。即纳税人、扣缴义务人和代征代售单位(人)直接向银行缴纳税款及税务征收人员自行将自收税款汇缴银行时,借记本类科目,贷记“待征”类科目;税收会计将结报的税款现金或存款汇缴银行时,借记本类科目,贷记“待解税金”科目;收到入库单位转来的提退清单时,借记“提退税金”科目,贷记本类科目。平时余额在“借方”,表示扣除退库数后的累计净上解税金数。年终与相应的“应征”类科目的“贷方”余额进行冲销后无余额。

7.“待解税金”,是上解单位、入库单位、双重业务单位和混合业务单位的共用科目。

本科目核算扣缴义务人、代征代售单位(人)和税务征收人员向会计结报的税款现金或存款。小额退税和损失税款追回及赔偿一律经过本科目进行核算,即小额退税必须由税收会计办理,从库存税款现金中退付;损失税款追回及赔偿也都必须交税收会计,由税收会计汇总缴库。

本科目“借方”记税款现金和存款增加数,“贷方”记减少数。即会计收到扣缴义务人、代征代售单位(人)和税务征收人员结报现金税款或以纳税保证金、发票保证金和拍卖款抵缴税款时,借记本科目,贷记“待征”类科目;责任人赔偿损失税款和追回损失税款时,借记本科目,贷记“待处理损失税金”科目;税收会计将库存现金或存款汇缴银行时,借记“上解”类科目(入库单位和双重业务单位借记“在途税金”科目;混合业务单位属于在乡金库入库的税款,也借记“在途税金”科目),贷记本科目;从库存现金中办理小额退税时,借记“提退税金”科目,贷记本科目;库存税款现金或存款发生损失时,借记“待处理损失税金”科目,贷记本科目。余额在“借方”,表示税款现金和存款实有数。年终余额应结转下年度继续处理。

8.“在途税金”,是入库单位、双重业务单位和混合业务单位的共用科目。

本科目核算已经缴入银行上解,但尚未到达国库的税金。对于混合业务单位,不管对应多少个乡金库或多少个银行,凡是在乡金库入库的税款,只要税款缴入银行,都得通过“在途税金”科目核算;凡是在支金库入库的税款,缴入银行上解时,不在本科目核算,应在“上解”类科目核算。本科目“借方”记缴入银行的税款数,“贷方”记已到达国库的税款数。即纳税人、扣缴义务人和代征代售单位(人)直接向银行缴纳税款及税务征收人员自行将自收税款汇缴银行时,借记本科目,贷记“待征”类科目;将库存税款现金或存款汇缴银行时,借记本科目,贷记“待解税金”科目;税款到达国库时,借记“入库”类科目,贷记本科目。平时余额在“借方”,表示在途税金实有数,如果出现“贷方”余额,则表示已入库但尚未收到缴款书报查联或上解凭证汇总单和待解凭证汇总单等征解凭证的税款数。年终决算前,在年度清理期内,应将其余额处理完毕,决算一般无余额,如有余额应结转下年度继续处理。

9.“入库税收”、“入库其他收入”,是入库单位、双重业务单位和混合业务单位的共用科目。

本类科目核算已入库的税金。

本类科目“借方”记已入库的税金数,“贷方”记从国库办理的提退税金数。即税款入库时,借记本类科目,贷记“在途税金”科目;从国库提退税款时,借记“提退税金”科目,贷记本类科目。平时余额在“借方”,表示累计入库数。年终与相应的“应征”类科目的“贷方”余额冲销后无余额。

10.“提退税金”,是上解单位、入库单位、双重业务单位和混合业务单位的共用科目。

本科目核算在自收税款中支付的小额退税和通过退库方式提退的各项税金。包括:
❶ 汇算清缴和申报结算的多缴税款退税(含税收政策调整结算退税);
❷ 出口退税;
❸ 因误收、误缴而多缴税款的小额退税和退库退税;
❹ 减免退税;
❺ 提退代扣代收手续费和代征手续费。

本科目“借方”记实际退库和小额退税数,“贷方”记退库减免结转到“减免税金”科目数和多缴税款退税冲转“多缴税金”科目数。即发生退库退税时,借记本科目,贷记“入库”类科目(上解单位及混合业务单位在支金库入库的税款贷记“上解”类科目);若退库税金属于减免退税,还应借记“减免税金”科目,贷记本科目;若退库税金属于多缴退税,还应借记“多缴税金”科目,贷记本科目。发生小额退税时,先借记本科目,贷记“待解税金”科目;然后借记“多缴税金”科目,贷记本科目。平时余额在“借方”,表示累计出口退税数、手续费提退数和其他退税数。年终按税收和其他收入分类,与相应的“应征”类科目“贷方”余额结转冲销后无余额。

11.“待清理呆账税金”,是上解单位、入库单位、双重业务单位和混合业务单位的共用科目。

本科目核算超过!年仍然没有收回的欠税,以及纳税人发生解散、破产、撤销经法定清算后仍未收回准备核销的欠税。其中欠税按日历日期计算,从滞纳之日起,超过!年仍然没有收回时,经基层税务机关核实,并报地(市)级税务机关审批确认为呆账后,根据呆账审批确认书将欠税由“待征”类科目转入本科目核算。

本科目“借方”记批准确认的呆账税金数和纳税人发生解散、破产、撤销经法定清算后仍未收回准备核销的欠税数。“贷方”记纳税人发生解散、破产、撤销并经法定清算后仍未收回而依法注销的欠税数和按国家规定经批准依法注销的欠税数及确认呆账税金后又清理收回的欠税数。即批准确认呆账税金或经法定清算后仍未收回欠税时,借记本科目,贷记“待征”类科目;依法注销欠税时,借记“损失税金核销”科目,贷记本科目;确认的呆账税金以后又清理收回时,借记“待征”类科目,贷记本科目。余额在“借方”,表示尚未清理的呆账税金数。年终余额应结转下年度继续处理。

12.“待处理损失税金”,是上解单位、入库单位、双重业务单位和混合业务单位的共用科目。

本科目核算税款征收后,由于各种原因造成损失,需要上报审批等待处理的损失税金。

本科目“借方”记上报审批等待处理的损失税金数,“贷方”记经批准予以核销或追回的损失税金及责任人赔偿的税金数。即税款在结报前发生损失时,借记本科目,贷记“待征”类科目;库存税款现金或存款发生损失时,借记本科目,贷记“待解税金”科目;批准核销损失税金时,借记“损失税金核销”科目,贷记本科目;损失税金追回或赔偿时,借记“待解税金”科目,贷记本科目。余额在“借方”,表示尚未处理的损失税金数。年终余额应结转下年度继续处理。

13.“损失税金核销”,是上解单位、入库单位、双重业务单位和混合业务单位的共用科目。

本科目核算按规定审批权限报经批准同意核销的损失税金和纳税人发生解散、破产、撤销经法定清算仍未收回而依法注销的欠税及按国家规定经批准依法注销的欠税。

本科目“借方”记损失税金批准核销数和欠税依法注销数,“贷方”平时无发生额。即批准核销损失税金时,借记本科目,贷记“待处理损失税金”科目;依法注销欠税时,借记本科目,贷记“待清理呆账税金”科目。平时余额在“借方”,表示累计批准税款核销数和依法注销欠税数。年终按税收和其他收入分类,与相应的“应征”类科目“贷方”余额结转冲销后无余额。

14.“保管款”,是上解单位、双重业务单位和混合业务单位的共用科目。

本科目核算存放在税务机关或金融单位的纳税保证金、发票保证金和拍卖款现金和存款。

本科目“借方”记保管款现金和存款增加数,“贷方”记减少数。即收到保证金和拍卖款时,借记本科目,贷记“暂收款”科目;以保证金和拍卖款抵缴应缴税款、退还保证金时,借记“暂收款”科目,贷记本科目。余额在“借方”,表示保管款现金和存款实有数。年终余额应结转下年度继续处理。

第四章 会计凭证

第十九条 税收会计凭证是说明税收业务发生情况,明确经济责任,具有法律效力,并据以登记账簿的书面证明文件。

各项税收业务的会计处理,都必须有原始凭证,并据审核无误的原始凭证归类整理填制记账凭证,然后才能根据原始凭证和记账凭证记账。税收会计凭证按其填制程序和用途分为原始凭证和记账凭证两种。

第二十条 税收会计原始凭证是记录税收业务发生的最初书面证明,它是进行会计核算的原始资料,是填制记账凭证和登记明细账的依据。原始凭证必须是证明税收业务已经发生或已经完成的文件,凡是不能证明税收业务已经实际发生或完成的文件,都不能单独作为会计的原始凭证。

第二十一条 税收会计原始凭证按其反映的税收业务内容的不同,分为应征凭证、减免凭证、征解凭证、入库凭证、提退凭证和其他凭证等六大类。各类凭证的具体内容如下:

1.应征凭证。是指税务机关用以确定纳税人、扣缴义务人及代征代售单位(人)应缴税金发生情况的证明,是核算应征税金的原始凭证。具体有以下几种:

(1)纳税申报表(当纳税申报表中有减免税款时,该纳税申报表同时也是一种减免凭证);

(2)代扣代收税款报告;

(3)预缴税款通知单;

(4)企业纳税定额申请核定表或应纳税款核定书;

(5)年(季度)纳税营业额申报核定表或定税清册;

(6)调整定额税款通知书;

(7)核准停业通知书;

(8)申报(缴款)错误更正通知书;

(9)税务处理决定书;

(10)税务行政处罚决定书;

(11)税务行政复议决定书;

(12)审计决定书;

(13)财政监督检查处理(处罚)决定书;

(14)法院判决书;

(15)海关(代征税款)专用缴款书。

(16)各种临时征收凭证(指税务机关在纳税人发生纳税义务的当时,就当即确定其应纳税额,并当即予以征收而填开的各种税收票证,包括临时征收的税收缴款书、税收完税证和印花税票销售结报单等)。

为便于会计记账和票证保管,对此类凭证可要求征收人员或代征单位(人)在结报税款时汇总填制一份“票款结报单”,附上述原始凭证一起报送会计,会计以“票款结报单”作为应征凭证。

2.减免凭证。指按税法规定享受减税、免税的纳税人,在减税、免税期间发生纳税义务后,按税务机关确定的纳税申报期限向税务机关填报的,用以确定其实际享受的减征、免征税额的一种凭证。它是记录减免税金实际发生情况的证明,是减免税金核算的依据。具体种类如下:

(1)征前减免的,其减免凭证即为纳税申报表。凡是某个税种全部免征的纳税人,都应按期单独填报纳税申报表;同一税种部分项目免征,部分项目应纳税款的,可以分别单独填报纳税申报表,也可以合填一份纳税申报表,全额申报应纳税款,应当减免的税款填列在纳税申报表的有关专栏中,作为应纳税款的抵减数;属于减征税款的纳税人,必须全额填报纳税申报表,减征税款部分填列在有关专栏中,作为应纳税款的抵减数。所有减免税款都必须在纳税申报表中注明减免性质。

(2)退库减免的,其减免凭证为办理退库的收入退还书。签发收入退还书时,必须在收入退还书的备注栏注明减免性质。

1.征解凭证。是纳税人、扣缴义务人和代征代售单位(人)缴纳税款或办理税款结报和上解时使用的一种凭证。它是核算上解税金、在途税金和待解税金的依据。征解凭证种类如下:

(1)各种税收缴款书报查联及汇总专用缴款书收据联;

(2)各种税收完税证存根联;

(3)税收转账专用完税证存根联或汇总划解税款清单;

(4)罚款收据存根联;

(5)代扣代收税款凭证报查联;

(6)票款结报单;

(7)印花税票销售结报单;

(8)邮寄汇款收款凭证。

上述八种征解凭证中,票款结报单、印花税票销售结报单和用于征收临时税款的各种税收缴款书、税收完税证同时也是核算应征税金的原始凭证。对于征收呆账税金的,应在上述各种征解凭证的备注栏注明“征收呆账税金”字样。

4.入库凭证。是证明税款已经缴入国库的一种凭证。它是核算入库税金的原始凭证。具体有三种:

(1)各种税收缴款书回执联;

(2)预算收入日报表;

(3)更正通知书。

5.提退凭证。是税务机关从已征收或已入库的税款中,办理退税和提成或证明退税和提成时使用的一种凭证。它是记录提退税金发生情况的证明,是核算提退税金的原始凭证。具体有三种:

(1)收入退还书报查联和付账通知联;

(2)小额税款退税凭证存根联;

(3)提退清单。入库单位办理退库后,应及时向上解单位和混合业务单位填发“提退清单”,通知提退情况。

上述提退凭证中,如果所退税款属于减免退税,则该凭证同时也是减免税金核算的原始凭证。

6.其他凭证。是指除以上各种凭证外,可以证明税收业务发生或完成的其他各种凭证。主要有纳税保证金收据、发票保证金收据、票款损失报告单、票款损失处理批准文件、损失税金追回及赔偿收据、扣押商品货物财产专用收据、退税(抵税)申请审批确认书、呆账税金审批确认书、法定清算报告、注销欠税批准文件、注销税务登记通知书、拍卖品收购发票、拍卖款汇款收款凭证、拍卖款转账退款凭证、拍卖款现金退款凭证、异地完税凭证、核准延期纳税通知书、催缴税款通知书、以及其他各种可以证明税收业务发生的凭证。

上述各种原始凭证,如联数不够,可以用复印件或自制凭证作为会计原始凭证。

第二十二条 为满足入库单位会计核算需要,各上解单位和混合业务单位必须将原始凭证归类整理、按期(最长不得超过!&天)编制以下各种原始凭证汇总单(其式样见附件)一式两份,一份留存;一份及时上报入库单位作为会计核算的原始凭证。

1.应征凭证汇总单。是上解单位和混合业务单位根据应征凭证等原始凭证汇总编制的,向入库单位上报应征税金等发生情况的一种原始凭证汇总单,它是入库单位核算应征税金等有关税金的原始凭证。

2.征前减免凭证汇总单。是上解单位和混合业务单位根据征前减免凭证汇总编制的,向入库单位上报征前减免税金情况的一种原始凭证汇总单。它是入库单位核算减免税金的原始凭证。

3.上解凭证汇总单。是上解单位和混合业务单位根据纳税人、扣缴义务人、代征代售单位(人)和自收现金税款的税务征收人员自行向银行缴纳税款的税收缴款书报查联及汇总专用缴款书收据联等原始凭证汇总编制的,向入库单位上报税款上解等情况的一种原始凭证汇总单。是入库单位核算在途税金等有关税金的原始凭证。

4.待解凭证汇总单。是上解单位和混合业务单位根据反映待解税金变化情况的所有原始凭证汇总填制的,用以向入库单位上报待解税金变化情况的一种原始凭证汇总单。它是入库单位核算待解税金的原始凭证。

5.入库凭证汇总单。是混合业务单位根据乡(镇)金库直接办理税款入库的各种税收缴款书回执联汇总编制的,向入库单位上报其入库税款情况的一种原始凭证汇总单。是入库单位核算入库税金的一种原始凭证。

6.退库凭证汇总单。是混合业务单位根据从乡(镇)金库办理税款退库的收入退还书报查联汇总编制的,向入库单位上报其税款退库情况的一种原始凭证汇总单。它是入库单位核算提退税金的一种原始凭证,如有减免退税,它还是核算减免税金的一种原始凭证。

第二十三条 税收会计记账凭证是根据审核无误的原始凭证或原始凭证汇总单加以归类整理编制,确定会计分录作为登记会计总账及其明细账的依据(其式样见附件)。记账凭证的编制要求如下:

1.必须以审核无误的原始凭证或原始凭证汇总单为依据,按每一项税收业务或同类税收业务汇总填制,不得把不同类型的税收业务合并填在一张记账凭证上。

2.编制要及时,要按税收业务发生日期及时填制,不得无顺序地编制。

3.总账科目和二级明细科目必须填写全称,不得只填代码不填名称或简化科目名称。

4.科目对应关系要清楚,会计分录只能一借一贷或一借多贷、一贷多借,不得编制多贷多借的会计分录。

5.记账凭证应按业务发生日期的顺序按月连续编号。

6.每份记账凭证要注明所附原始凭证的张数,并连同原始凭证及时整理,装订整齐。如果原始凭证需要另外保管或几种不同业务共用一张原始凭证的,必须在摘要栏加注说明,以备查找。

第二十四条 会计凭证于记账后,应按会计档案要求及时装订,加具封面,并注明年度、月份、编号和签章,于年度终了后归档保管。

第五章 会计账簿

第二十五条 会计账簿是以会计凭证为依据,按照会计科目,运用会计账户形式,全面、系统和连续地记录税收资金活动情况的簿籍。它是编制会计报表的主要依据。

第二十六条 税收会计设置以下几种账簿:

1.总分类账。又称总账,它是按总账科目设置,考核税金活动总括情况,平衡账务,控制和核对各明细账的簿籍。

2.明细分类账。又称明细账,它是按明细科目设置,具体核算总账科目有关明细项目的簿籍。

3.日记账。它是按照税收业务发生时间的先后顺序逐笔进行登记的簿籍。

4.辅助账。又称备查账簿,它是对在总账、明细账和日记账中未能记载的事项或记载不够详细的税收业务进行补充登记的簿籍。

第二十七条 税收会计账簿的设置和登记方法如下:

1.总分类账的设置和登记。税收会计各核算单位对其所用的总账科目都必须分别设置账页,开设账户。总分类账簿必须将账页固定在一起装订成册,其账页格式采用“借、贷、余”三栏式。可以按记账凭证直接登记,也可以将记账凭证按相同科目加以汇总,编制科目汇总表,然后根据科目汇总表登记(其账簿格式见附件)。

2.明细分类账的设置和登记。税收会计各核算单位都必须按照会计科目中规定的明细核算内容设置明细账。明细账必须根据记账凭证并参考原始凭证或原始凭证汇总单进行登记。它一般使用活页式账簿,其账页格式可采用三栏式和多栏式呆账税金时,将征收或确认呆账的往年欠税记入“往年陈欠”的贷方。

(3)为满足税收收入分析需要,各上解单位、双重业务单位和混合业务单位必须设置“留抵税额登记簿”,用以核算反映增值税留抵税额情况。

使用计算机核算的单位,其账簿格式可采用“借、贷、余”三栏式,“贷方”登记本期进项抵扣税额和本期动用期初进项抵扣税额,“借方”登记本期实际抵扣税额和本期留抵税额抵顶欠税数,余额在“贷方”,反映期末尚未抵扣完的留抵税额;采用手工核算的单位,其账簿格式由各地根据当地核算条件自定。

该登记簿的登记依据是一般纳税人报送的增值税纳税申报表中的相关数据。

(4)其他辅助账应根据各核算单位的具体情况设置,主要有查封(扣押)物品登记簿、入库税金明细登记簿、出口产品退税明细登记簿和提取手续费登记簿等。一般根据原始凭证和有关的征管资料进行登记。

辅助账的具体格式由各核算单位自定。

第二十八条 账簿的使用和登记要求如下:

1.使用账簿时,应在“账簿启用表”上将各栏内容填写清楚,经办人员更换交接时,应填明交接日期,互相签章。年度终了,必须将活页账簿装订成册归档保存。

2.各种账簿的记录,必须做到登记及时、内容完整、数字正确、摘要清楚,不得乱擦乱补、涂改或用退色药水消除字迹。

3.账簿记录发生错误,应根据错误性质和具体情况,采用划线更正法、红字冲销法和补充登记法加以更正。

4.税收会计以月为结算期,以年度为决算期。“入库”类账户应按旬小结。月份、年度终了时,各种账户必须办理结账。“提退税金”账户每月结账时,应结出本月借方发生额合计和本年借方累计发生额。

每次结账时,应先进行试算平衡,总账与明细账必须核对无误,有关账户必须办理年度结转冲销工作。

第六章 税收会计核算程序

第二十九条 税收会计可采用记账凭证和科目汇总表两种核算程序。但一个核算单位在一个会计年度内,只能采用其中的一种程序,而不能交叉使用两种程序。

其程序图如下:

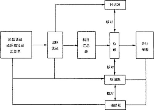
1.记账凭证核算程序如下:

(1)根据原始凭证或原始凭证汇总单填制记账凭证;

(2)根据记账凭证登记日记账;

(3)根据原始凭证或原始凭证汇总单和记账凭证,登记明细账和有关的辅助账;

(4)根据记账凭证登记总账;

(5)总账和有关的明细账、日记账核对,明细账与有关的辅助账核对;

(6)根据总账、明细账和有关的辅助账编制会计报表。

2.科目汇总表核算程序如下:

(1)根据原始凭证或原始凭证汇总单填制记账凭证;

(2)根据记账凭证登记日记账;

(3)根据原始凭证或原始凭证汇总单和记账凭证,登记明细账和有关的辅助账;

(4)根据记账凭证定期按科目借方和贷方发生额汇总编制科目汇总表;

(5)根据科目汇总表登记总账;

(6)总账和有关的明细账、日记账核对,明细账与有关的辅助账核对;

(7)根据总账、明细账和有关的辅助账编制会计报表。

其程序图如下:

第七章 会计报表

第三十条 税收会计报表是用特定的表式,以会计账簿资料为主要依据,以货币为计量单位,通过一系列的税收指标,集中反映会计报告期内税收资金运动情况的书面报告。

各核算单位必须严格按照规定的时间向其上级税务机关编报各种会计报表。汇总单位应及时对下属核算单位上报的报表进行审核,并将同类报表加以汇总,编报汇总报表。

第三十一条 各核算单位和汇总单位应按期向上级税务机关编报如下报表(格式见附件):

1.税收电旬报(格式略)。它是以旬为报告期,向其上级税务机关报告本旬内税务机关组织各项税金入库情况的报表。

2.税收电月报(格式略)。它是以月为报告期,向其上级税务机关报告各税种、其他收入种类和有关重点品目税款入库和欠税情况的报表。

3.税收资金平衡表。它是以月、年为报告期,总括反映税收资金运动情况的报表。其中入库单位税收资金平衡表中的“暂收款”和“保管款”科目的余额,按各下属上解单位和混合业务单位编报的税收资金平衡表所列数据汇总填列。

4.应征税金明细报表。它是以月、年为报告期,按税种及其他收入种类反映本月和期末累计应征税金情况的报表。其中“查补税金”按“应征和入库查补税金登记簿”中的“应征查补税金”累计余额填列。

5.入库税金明细报表。它是以月、年为报告期,按预算收入科目有关类款项

随便看

 

离鸟网收录3541549条中英文词条,其功能与新华字典、现代汉语词典、牛津高阶英汉词典等各类中英文词典类似,基本涵盖了全部常用中英文字词句的读音、释义及用法,是语言学习和写作的有利工具。

 

Copyright © 2004-2024 vtrois.com All Rights Reserved
更新时间:2026/4/18 14:59:20