网站首页  词典首页


请输入您要查询的字词:

 

字词 电源
类别 中英文字词句释义及详细解析
释义 电源

能把其他形式的能转换为电能的装置

1.电源的电动势:表征电源把其他形式的能转换为电能的本领,它由电源本身的性质决定的,跟外电路的组成无关,电源的电动势在数值上等于电路中通过1C电量时电源所提供的电能,不同的电源,电动势不同,电动势用符号E表示,单位与电压相同,电源的电动势的数值还可用伏特表直接接在电源的两极上测出.

2.电源的内阻:把电源接入电路就形成闭合回路,电源外部的电路叫外电路,电源内部的电路叫内电路,内电路所共有的电阻叫内电阻,用符号r表示.

3.内电压、外电压(路端电压),内电路电阻r两端的电压称内电压,外电路两端的电压为外电压(路端电压).

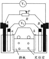
例 如图所示,为电源的内、外电压测量的实验装置示意图,关于此装置图,下列说法中正确的是( ).

A.伏特表V1所测量的电压为内电压,伏特表V2所测量的电压为外电压

B.伏特表V1所测量的电压为外电压,伏特表V2所测量的电压为内电压

C.通过伏特表V1的电流由左流向右,通过伏特表V2的电流由右流向左

D.通过伏特表V1的电流由左流向右,通过伏特表V2的电流也由左流向右

分析 此装置为测量闭合电路的内、外电压的实验装置示意图,其中电压表V1所测量的为外电压U,电压表V2所测量的为内电压Ur,电流在外电路中由高电势流向低电势,而在电源的内部则由低电势流向高电势,图中的左端为电源的正极,右端为电源的负极,故电流流过伏特表V1的电流由左向右,故流过伏特表V2的由右向左,所以正确的答案为BC.

随便看

 

离鸟网收录3541549条中英文词条,其功能与新华字典、现代汉语词典、牛津高阶英汉词典等各类中英文词典类似,基本涵盖了全部常用中英文字词句的读音、释义及用法,是语言学习和写作的有利工具。

 

Copyright © 2004-2024 vtrois.com All Rights Reserved
更新时间:2026/4/18 7:43:40