网站首页  词典首页


请输入您要查询的字词:

 

字词 滑块往复运动机构
类别 中英文字词句释义及详细解析
释义 滑块往复运动机构

例5.2-40 剥线钳机构

该机构由两个曲柄滑块机构OABE和OCDF组成。H为手柄,S为弹簧,M为钳臂,E为滑块,也就是割刀。割刀有根据不同导线直径而设的半圆刃口。F为滑块,用于夹紧导线。当手握手柄H时,OA和OC同时转动,两滑块移动,F夹紧导线,割刀E割断导线外面的绝缘层。当继续握拢手柄时,滑块不再移动,这时两曲柄滑块机构带动钳臂M绕O点转动,各自分开,剥出被割断的绝缘层。

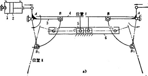
例5.2-41 车门启闭机构

车门相当摆杆滑块机构的连杆,气源进入车门上部的汽缸1,与活塞杆相铰链的角形摆杆3绕固定销轴心A转动,滑块C在滑道6内移动。作为连杆的两扇车门作平面运动,可由关闭位置Ⅰ到开启位置Ⅱ。

例5.2-42 三联风箱

该机构属于曲柄滑块机构。当和连杆2、3、4形成回转副的曲柄1,以固定轴心A为中心回转时,各风箱a作往复移动,交互吸入与排放空气。

随便看

 

离鸟网收录3541549条中英文词条,其功能与新华字典、现代汉语词典、牛津高阶英汉词典等各类中英文词典类似,基本涵盖了全部常用中英文字词句的读音、释义及用法,是语言学习和写作的有利工具。

 

Copyright © 2004-2024 vtrois.com All Rights Reserved
更新时间:2026/4/18 23:59:33