网站首页  词典首页


请输入您要查询的字词:

 

字词 曲柄摇杆往复运动机构
类别 中英文字词句释义及详细解析
释义 曲柄摇杆往复运动机构

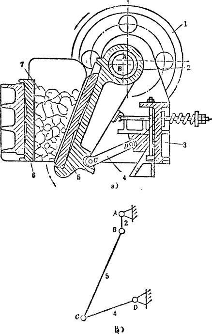
例5.2-34 颚式破碎机

当电动机通过三角皮带轮1带动偏心轴2回转时,悬挂在偏心轴2上且下部与推力板4相铰接的活动颚板5作复杂的平面运动。固定颚板6和动颚5都有齿。当5作周期性往复运动时,和6时而靠近,时而离开。靠近时破碎物料,离开时物料靠自重自由落出。这种破碎机的主要部分为曲柄摇杆机构,偏心轴2相当于曲柄,长度为偏心距AB;动颚5相当于连杆,长度为BC;推力板4为摇杆,长度为CD。

随便看

 

离鸟网收录3541549条中英文词条,其功能与新华字典、现代汉语词典、牛津高阶英汉词典等各类中英文词典类似,基本涵盖了全部常用中英文字词句的读音、释义及用法,是语言学习和写作的有利工具。

 

Copyright © 2004-2024 vtrois.com All Rights Reserved
更新时间:2026/4/19 3:57:22