网站首页  词典首页


请输入您要查询的字词:

 

字词 定传动比转动机构
类别 中英文字词句释义及详细解析
释义 定传动比转动机构

例5.2-1 皮带轮行星减速机构

图中1为固定中心轮,2、3为双联行星齿轮,4为可动中心轮(从动件),H为系杆,即皮带轮(主动件)。运动由皮带轮传入,经行星齿轮,传递给接于机床主轴的齿轮4。其传动比为

此结构充分利用了皮带轮所占空间,

例5.2-2 起重葫芦减速机构

借助于手动链轮D1,将运动由中心齿轮1,经双联行星齿轮2、3和固定中心内齿轮4传递给H,而带动起重链轮D2。其传动比为

此结构在手动链轮上加一定的拉力,即可相应地提起重物。

例5.2-3 车床电动三爪卡盘行星减速机构

运动经主动齿轮1通过H所支承的齿轮2、2′、固定齿轮3和从动齿轮4的啮合而驱使齿轮4转动,轮4的阿基米德螺旋槽控制卡盘卡紧或松开工件。其传动比为

若齿数z1=6、、z3=57、,则i14=-588(负号表示齿轮1与4转向相反),此结构紧凑,体积小,传动比大,但安装比较复杂;亦可用于中小功率传动或机械的控制部分。

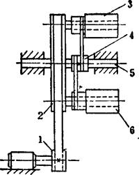
例5.2-4 带式摩擦行星机构

轴5固定不转,其上固结著带轮4,并且空套有大带轮2,轮2装有对称的两个销轴,并空套有滚筒3和6,轮1转动时,通过带传动使滚筒3和6作既有公转又有自转的行星运动,这种机构可用作抛光滚筒的传动。

例5.2-5 少齿差行星减速机构

以偏心轴H(系杆)为主动件,驱动行星齿轮1与固定中心轮2啮合,通过传动比为1的输出机构,带动输出轴3匀速转动。其传动比为

若齿轮2齿数z2=z1+1,则iH3=-Z1、因此机构有传动比大和结构紧凑的优点。其中齿轮1、2的齿廓曲线,可用渐开线或摆线、针齿。这类机构的主动轴转速一般可达1500~1800r/min。若采用摆线针轮,则能提高效率,传递功率可达45~100kW。

输出机构一般用销盘和孔盘组成(图b);传动功率较小时,也可采用一对齿数相等的渐开线内、外齿轮组成的零齿差输出机构(图c)。为避免齿形干涉,该齿轮除径向变位外,还需切向负变位。

例5.2-6 谐波传动

谐波传动是靠柔性齿轮的弹性变形来传递运动的,图示为双波发生器谐波传动机构,波发生器H的两个触头3将柔性齿轮1撑成椭圆形,在长轴处柔性齿轮1与刚性齿轮2沿全齿高啮合,在短轴处完全脱离啮合。当H转动时,将轮1的轮齿依次压入轮2齿间,使1、2轮产生相对转动。轮齿廓形以直角三角形较为理想,但为了便于制造刀具,也广泛应用渐开线齿形。

该种机构的传动比:刚轮2固定,波发生器H主动,柔轮1从动,为

柔轮1固定,波发生器H主动,刚轮2从动,为

谐波传动的特点是,传动比大,传动平稳,结构简单,效率高,体积小,重量轻,但柔轮易出现疲劳损伤。谐波齿轮传动机构有双波、三波和单级、双级等各种类型。

例5.2-7 滚轮减速机构

图示滚轮减速机构,以双臂曲柄1作主动件,通过曲柄两端的滚轮2驱动从动轮3绕固定轴O3与主动件同向匀速转动,滚轮中心A、B相对圆盘3的运动轨迹为摆线γ,是与圆盘内侧曲线β相距为r(滚轮半径)的等距线。该机构主、从动轴中心距应符合要求:,否则y曲线将出现交叉。其主、从动轮的传动比为:

例5.2-8 平行连杆进给机构

该机构为一平行四边形连杆机构ABCD。当主动曲柄1逆时针转动时,带动从动曲柄3作同向同速转动,使送料杆2作平移运动,从而即可将物料4逐步向前搬动。

例5.2-9 砂轮边缘圆磨机构

图中三角盘4、5分别绕固定支点A、B转动。当构件6作主动件往复摆动时,通过四杆机构带动从动件1作绕定点的摆动,使构件1上的金刚石2作圆弧运动,把砂轮3的边缘磨成圆形.

例5.2-10 简森平行四杆支座

以两个平行四杆机构组合而成,平行四杆的外侧铰点B1、B2(C1、C2)与固定铰点B0(C0)成三角形,且绕B0(C0)转动。内侧铰点B3、B4(C3、C4)与固定轴A0成三角形,两组三角形全等。当外侧铰点B1、B2(C1、C2)绕B0(C0)转动时,带动铰接在环上的B3、B4(C3、C4),使环绕A0转动180°。该机构可代替支撑天线的环形支座。

例5.2-11 可变轴距多平行四杆机构

图示主、从动轴距可变的多平行四杆机构,在圆盘构件2、4、6的等圆周上各设三个等间距的轴消,分别与长为l的连杆3、5…相互铰接,形成多个平行四杆机构,主动轴1通过连杆及中间盘带动从动轴7作同向同速转动,主、从动轴的轴距可根据需要改变(最大轴距为2l)。

例5.2-12 转动导杆减速机构

图示转动导杆机构的主动杆1绕固定轴O1转动,其两端以铰链A、B连接滑块3、4,并带动滑块在从动盘2的垂直导槽内滑动,同时驱动从动盘绕固定轴O2作同向匀速转动,其尺寸条件和传动比分别为:

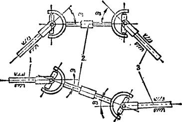
例5.2-13 十字槽联轴器

图示十字槽联轴器由主动盘1、中间盘2和从动盘3组成。主动盘1的凹槽带动中间盘2右侧的嵌入凸肩,中间盘2的左侧凹槽与右侧凸肩相互垂直,左侧凹槽驱动从动盘3的嵌入凸肩,使从动盘3作同向转动。十字槽联轴器常用于偏距不太大,或两轴线不易重合的平行轴的联接传动。

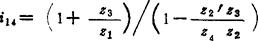
例5.2-14 双万向联轴器

双万向联轴器实现等速传动的条件为:主动轴1与中间轴2的夹角a1必须等于从动轴3与中间轴2的夹角a3,即a1=a3;中间轴2两端的轴叉必须能同时分别位于轴1、2所共平面和轴2、3所共平面内。这种联接器适用于主动轴与从动轴平行、相交以及相错的传动,其等速传动比i13=n1/n3=1。

随便看

 

离鸟网收录3541549条中英文词条,其功能与新华字典、现代汉语词典、牛津高阶英汉词典等各类中英文词典类似,基本涵盖了全部常用中英文字词句的读音、释义及用法,是语言学习和写作的有利工具。

 

Copyright © 2004-2024 vtrois.com All Rights Reserved
更新时间:2026/4/19 9:43:55