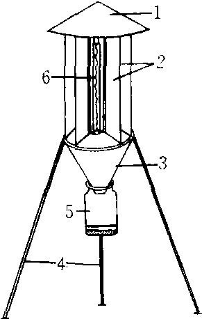
黑光灯ultraviolet lamp光波为36.5~40.0 nm、发紫黑色光的荧光灯。用于测报和诱杀害虫。由于很多昆虫的趋光性表现为嗜向紫外光波段,其诱杀效果比普通白炽灯效果更好。现已广泛应用于防治棉红铃虫、亚洲玉米螟、金龟子、蝼蛄等害虫。黑光灯的装置(见图)包括灯管(3W、8W、20W和40W)、灯架、防雨罩、挡虫板(由3~4块玻璃组成)和收集器(毒瓶或水盆)等。 
黑光灯 1.防雨罩 2. 玻璃挡虫板 3. 漏虫斗 4.支柱 5. 毒瓶 6. 黑光灯管 黑光灯 ☚ 高压汞灯 氙灯 ☛ 00015381 |