网站首页  词典首页


请输入您要查询的字词:

 

字词 钢的冶炼
类别 中英文字词句释义及详细解析
释义
钢的冶炼

钢的冶炼gang de yelian

炼钢的基本任务是根据所需钢种的要求,把生铁中碳及其他元素的含量增加或减少到规定的范围内。炼钢的主要过程是把炉料在高温下熔化成液体,用氧氧化铁水中的碳、锰、硅、磷、硫等元素。因此,炼钢的反应特征是氧化。现代炼钢主要有平炉、电炉和氧气顶吹转炉炼钢3种方法。
平炉结构见图1。平炉炼钢的热源主要是煤气 (或



图1 平炉结构简图
1 熔炼室 2 炉头 3 空气蓄热室 4 煤气蓄热室

同时在炉头处用油枪喷入重油) 。生产时,煤气和空气分别进入炉子一侧的蓄热室,被预热至1 200℃左右,在炉头相汇产生高温火焰。由于气体高速流动和倾斜喷出,可使火焰扩张至熔炼室。熔炼产生的废气经另一侧的蓄热室并把蓄热室加热后导出。当一侧的蓄热室被加热时,另一侧的蓄热室的热量被煤气和空气带走两室,交替使用,进行预热。
除炉气中的氧之外,燃料燃烧时产生的H2O,CO2等在高温的条件下也是有效的氧化剂。在熔炼室中O2,H2O,CO2首先与熔池表面的FeO作用,生成的Fe2O3浓度增加后向下扩散,在渣和金属的界面上与Fe作用,重新还原为FeO。FeO又与金属中的C,Si,Mn,P等元素反应,生成的CO上浮使熔池沸腾,随炉气排出,生成的SiO2,MnO,P2O5等进入炉渣。整个反应过程为


平炉炼钢的主要操作过程:
❶补炉 在冶炼中炉底会受侵蚀而损坏,装料前需将被损坏的地方加以修补;
❷ 装料 平炉所用原料的是废钢和铁水。此外还需装入造渣用的石灰石和萤石、氧化剂(铁矿)和脱氧剂(铁合金);
❸熔化 从装入冷料到兑入钢水全部熔清称为熔化期。为了加快熔化,这时要以最大的速度加入燃料;
❹精炼 经一系列氧化反应,使C,S,P,Mn,Si等的含量不断下降,使不需要的元素变为炉渣。精炼过程需不断分析,直到各元素含量合格方可出钢;
❺ 出钢和脱氧 根据钢种的要求,把脱氧用的铁合金放入炉中或盛钢桶中进行脱氧。脱氧的原理是由于加入的合金 (如硅铁) 或金属 (铝锭) 与氧的亲合力大于铁与氧的亲合力。平炉炼钢的主要特点是可搭用较多的废钢,原料适应性强,但冶炼时间长。我国目前主要采用平炉炼钢。
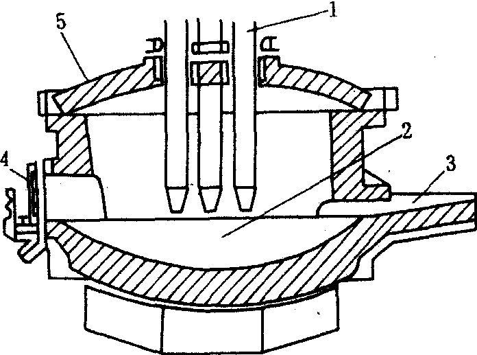
电炉又称电弧炉,其结构见图2。电炉的炉墙用镁砂加焦油捣打,或用镁砖砌成,炉顶用高铝砖制作。有3根石墨电极插入,通电后电极与炉料直接起弧发热,电弧可达3000℃高温。整个炉体能前后倾动,以便出渣、出钢。炉盖移开便可加料。电炉炼钢操作步骤分为:
❶补炉
❷装料 电炉的炉料为各种废钢、生铁、铁合金和铁矿石;
❸熔化 通电并把电极下降至一定位置,使其接近炉料,产生电弧把料熔化;
❹氧化 利用加入炉内的铁矿石、氧气,脱除钢中的有害杂质S,P,同时也使部分C,Si,Mn被氧化,反应生成的2FeO·SiO2,MnO·SiO2,4CaO·P2O5及CaS等不溶于钢水而进入渣中;
❺还原 即进行钢液脱氧、脱硫,将其他化学成分调整到规定的含量范围。这一阶段需在不同时期先后加入石灰石、萤石、焦炭和硅铁粉等,以进行还原反应。当化学成分达到要求,温度适宜 (1440~1480℃) 时便可出钢了。该法的优点是电弧的温度高,可以炼制难熔元素的合金钢,如不锈钢、硅钢、滚珠轴承钢等; 因热源是电,避免了燃料对钢的污染,但成本高。


图2 电弧炉结构简图
1 电极 2熔池 3 出钢槽 4炉门 5炉顶



图3 氧气顶吹转炉结构示意图
1 排烟罩 2炉体 3喷枪


氧气顶吹转炉的结构见图3,它是一个用厚钢板制成的容器,炉内衬有耐火材料,用轴把它支持在转动架上,使之可以转动。炼钢时,先把转炉倾斜装入石灰、萤石等熔剂。然后兑入钢水,最后插入氧气水冷喷枪进行吹炼。吹入的氧气纯度为 98%~99%,因此吹炼时间短,生产能力大,且设备简单,成本低,但金属吹损较大。
☚ 生铁的冶炼   铜的冶炼 ☛
00006469
随便看

 

离鸟网收录3541549条中英文词条,其功能与新华字典、现代汉语词典、牛津高阶英汉词典等各类中英文词典类似,基本涵盖了全部常用中英文字词句的读音、释义及用法,是语言学习和写作的有利工具。

 

Copyright © 2004-2024 vtrois.com All Rights Reserved
更新时间:2026/4/18 14:02:56