网站首页  词典首页


请输入您要查询的字词:

 

字词 轮距
类别 中英文字词句释义及详细解析
释义

轮距track ,tread

轮式拖拉机两前轮和两后轮中心线间的距离。一般农用拖拉机为适应中耕作业的需要,应能较方便和可靠地调节轮距。驱动轮轮距有无级式和有级式两种调节方法。无级式是将驱动轮轮毂沿车轴末端的花键或平键轴向移动,也可通过蜗轮蜗杆机构移动轮毂;另一种无级调距是在轮辋上焊有螺旋滑轨,辐板通过滑块与滑轨连接,转动轮辋或轮毂即可实现轮距调节。有级式调距是改变轮辋同焊有凸耳辐板的相互位置来调节轮距。

轮距

轮距tread

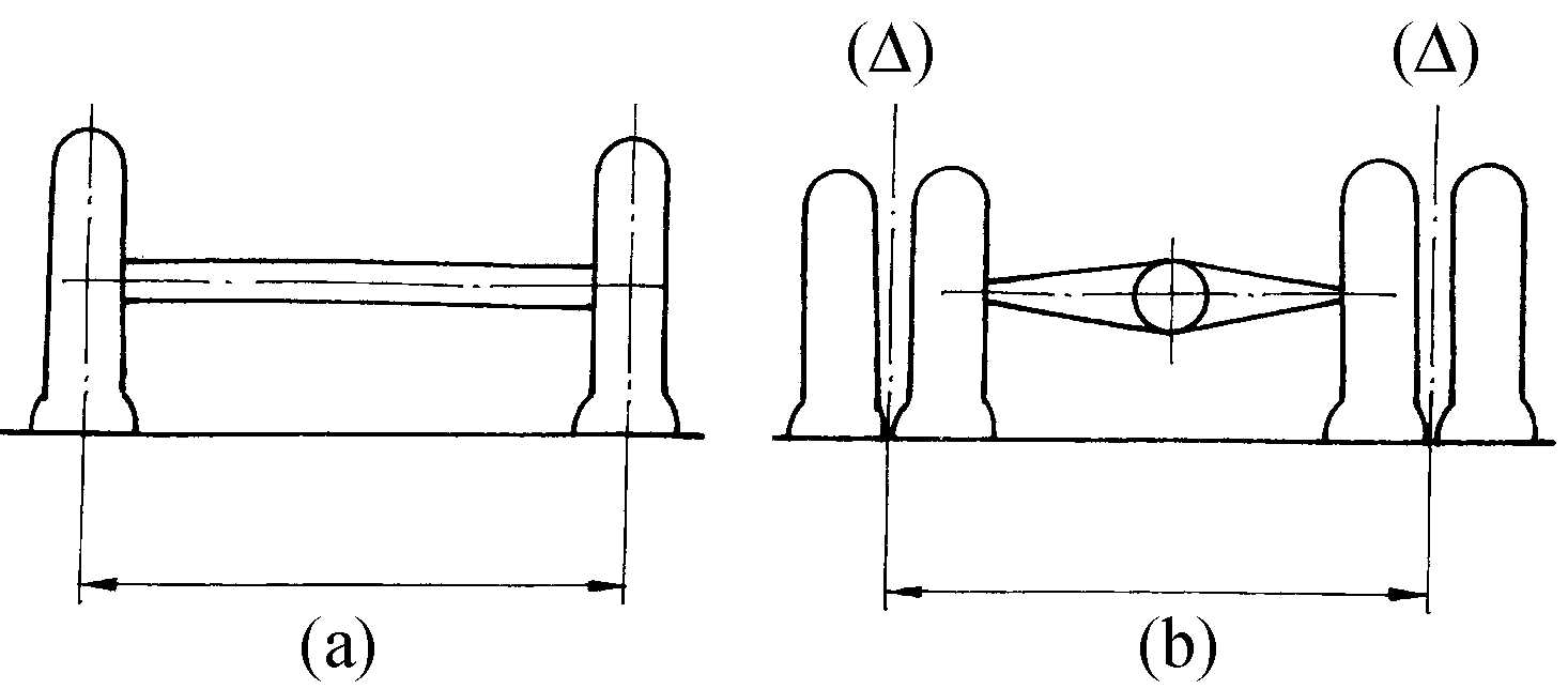
汽车同一轴上左右两车轮在汽车支承平面上留下的轨迹中心线之间的距离。如图(a)所示。车轴左右两侧为双轮时,轮距为两侧双轮的中心平面之间的距离。双轮的中心平面是与外车轮轮辋内缘和内车轮轮辋外缘等距的平面,见图(b)。

轮距

☚ 轴距   接近角 ☛
00002105
随便看

 

离鸟网收录3541549条中英文词条,其功能与新华字典、现代汉语词典、牛津高阶英汉词典等各类中英文词典类似,基本涵盖了全部常用中英文字词句的读音、释义及用法,是语言学习和写作的有利工具。

 

Copyright © 2004-2024 vtrois.com All Rights Reserved
更新时间:2026/4/18 13:16:39