网站首页  词典首页


请输入您要查询的字词:

 

字词 行间中耕机械
类别 中英文字词句释义及详细解析
释义

行间中耕机械inter-row cultivating machinery

作物生长期间在行间进行除草、松土、培土等作业的机械。有用于旱地作物的锄铲式中耕机、回转式中耕机和用于水稻的中耕机。
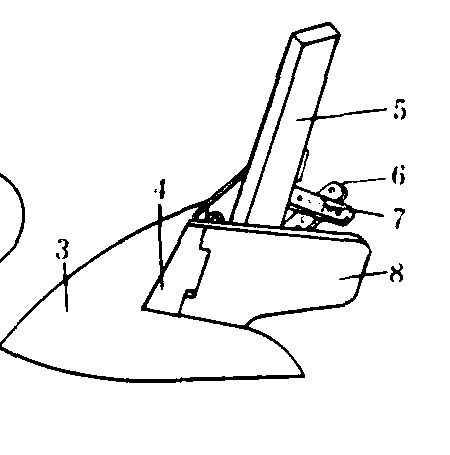
锄铲式中耕机 以各种锄铲为工作部件。畜力的有用于平作的耘锄和用于垄作的铲耥机。机力的多为后悬挂,也有前悬挂和轴间悬挂。后悬挂锄铲式行间中耕机由机架和若干个中耕单组组成。中耕单组是在一个行间配置的独立部件,包括锄铲、仿形轮及其与梁架的连接件(图1),可单独随地仿形。

图1 中耕单组


工作部件 有除草铲、松土铲和培土器等。
除草铲 有三种型式,如图2。单翼铲由倾斜铲刀和垂直护板组成,并配置在紧靠苗行两侧。它的垂直护板起保护幼苗不被土壤覆埋的作用。作业深度为4~8厘米。双翼铲除草能力强而松土能力较弱,耕深较浅。双翼通用铲具有除草和碎土两项功能,工作深度可达8~12厘米。


(a)单翼铲


(b)双攫铲


(c)双冀通用铲

图2 除草铲


松土铲 有三种形式,如图3。用于行间松土。凿形松土铲松土深度较大。箭形松土铲耕后土壤松碎,沟底较平整。尖形松土铲的作用与凿形铲相似,但铲尖可调换并可调头使用。


(a )凿型松土铲


(b)尖形松上铲


(c )箭形松士铲

图3 松土铲


培土器 用于向玉米、棉花等作物的根部培土。普通培土器由铲尖、分土板和培土板组成[图4(a)]。铲尖切开土壤,使之破碎并沿铲面上升,由培土板将土壤培到苗行上。培土板的角度一般可以调节。筑埂用的凹面圆盘也可作为培土器使用(见平畦筑埂机械)。
铧式培土器[图4(b)]是中国东北垄作地区的行间松土、除草和培土的传统工具。其外形近似三角形,工作表面为凸曲面。作业时土壤沿曲面上升破碎后,一部分培于垄上,一部分从后部落入垄沟,形成座土。工作深度可达8~12厘米。


(a)普通培士器


(b)铧式培土器

图4 培土器

1、5. 铲柄;2、8. 培土板;3. 垄作铧子;4、12. 分土板;6、10. 调节板;7. 固定销;9. 固定螺栓;11. 铲尖


中耕锄铲的铲柄有的用弹簧扁钢弯曲而成,工作时有缓冲和振动作用,对碎土和灭草均有良好效果。锄铲通常配置成前后两列,两相邻铲间有重叠量,以防止漏锄。锄铲边缘到作物行之间留有护苗带(不耕耘地带),以防止伤苗伤根。
护苗器 防止土块压苗和锄铲伤苗的部件。常见的有滚动式、挡板式和护罩式三种。滚动式护苗器(图5)不易缠草;挡板式护苗器仿形性好,并可越过障碍物;护罩式保护性强。

图5 滚动式护苗器

图6 四杆式仿形机构


仿形机构 使工作部件随地面不平而起伏以保证作业深度的机构。常用的型式有:❶单杆式仿形机构。是通过一根拉杆把工作部件与机架铰连。工作部件能随地面起伏而浮动,结构简单。
❷四杆式仿形机构。由仿形轮和平行四杆机构组成(图6)。仿形轮随地面起伏时,整个中耕单组随之平行地上下运动以保持耕深基本一致。
❸多杆式仿形机构。其工作部件与仿形轮紧固联结,又与四杆机构ABCD的后支架BD与E点铰接(图7)。该机构有两个自由度,工作部件与仿形轮可绕E点转动,后支架BD还可绕其瞬心π转动。这两个自由度被仿形轮和铲的后踵约束。该机构具有工作稳定、运动平缓等优点,已在中国东北地区垄作中耕机上推广使用。

图7 多杆式仿形机构


回转式行间中耕机 具有回转式工作部件的中耕机。主要有以下几种类型:
驱动式旋转中耕机 工作部件由拖拉机动力输出轴驱动旋转。碎土性能好,不易缠草,耕后地表平整。为了防止工作部件抛土掩埋作物,旋转部件两侧加有护罩。
转动锄 是从动式旋转中耕机。工作部件是靠土壤阻力转动的齿盘(见除草机械)。对破碎板结层和坚实土块有较强的作用。
梳齿式苗间除草机 利用两个在横向垂直面内配置的梳齿盘在垄顶两侧相向旋转(图8)。梳齿的最深入土处在垄帮上,具有松土除草的作用。但也存在一定的伤苗率(最多达10%)。

图8 苗间除草梳齿盘的配置


水稻中耕机 在水稻田进行碎土、除草和平田作业的机具。中耕深度约2~6厘米。水稻中耕机按动力可分为:
人力耘禾器 人力操作的水田除草工具,有钉齿式、滚轮式或钉齿与滚轮结合式。图9为蒲辊式人力中耕器,工作时,由框架前装的锄草刀锄草,刀滚将草压入土中。人力中耕器结构简单,除草质量好,但效率低。
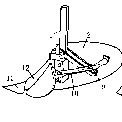
畜力水稻中耕机一般由牵引装置、工作部件、机架和扶手等部分组成(图10),由畜力牵引。但因牲畜难于走直线,在作业与转向时常践踏秧苗,故畜力中耕机只在行距宽而直的稻田使用。

图9 人力耘禾器

图10 畜力水稻中耕机


动力水稻中耕机 工作部件由工作轮驱动或驱动轮驱动。❶工作轮驱动型(图11)。工作部件是直径为30~40厘米的除草轮,轮上有弧形齿爪。工作时除草轮对地面产生滚压和滑转,其弧形齿搂除杂草,将杂草压入土中并搅动土壤,由土壤对除草轮的阻力推动机器前进。
❷驱动轮驱动型。驱动轮与工作部件均由动力机驱动。工作部件有小直径爪轮(直径15~25厘米)、钉齿轮和立式旋刀等。这些工作部件对土壤的搅拌能力很强,在多草或板结的田块里中耕效果良好。

图11 一种动力水稻中耕机

随便看

 

离鸟网收录3541549条中英文词条,其功能与新华字典、现代汉语词典、牛津高阶英汉词典等各类中英文词典类似,基本涵盖了全部常用中英文字词句的读音、释义及用法,是语言学习和写作的有利工具。

 

Copyright © 2004-2024 vtrois.com All Rights Reserved
更新时间:2026/4/20 0:53:39