网站首页  词典首页


请输入您要查询的字词:

 

字词 船闸
类别 中英文字词句释义及详细解析
释义

船闸chuánzhá

在水位落差较大的航道修建的让船舶顺利通行的建筑物,由闸室和两头的闸门构成。

船闸chuán zhá

河道上水位差较大的地段通行船只的水工建筑物,因形似水闸,故名。1940年《科学画报》第六卷第十期:“在坝的一端另建可以启闭的船闸。”1948年《水工名词》:“Ship lock,船闸。”

水利

水利

控制流量的开闭物:闸(闸门;闸口;~头;闸板;水闸;电~;船~;千斤~) 阏 霎
用石头砌或的小闸:碶(碶闸;筑~)
束水工程建筑的一种:坝埽
排灌工程:沟(沟渠;地沟;田沟;阳~;阴~) 渠(渠道;水渠;河~;干~;支~) 壕(壕沟) 渎
田间水沟:洫(沟洫)

另见:防止 水灾 工程 治水

☚ 水利   水坝 ☛

船闸lock

在河渠上有集中水位落差的地点,利用闸门及水力系统控制和调节闸室水位以便浮运船只的通航建筑物。由停靠船只的闸室及其两端装有控制水位的闸门及输水系统的上、下游闸首以及上、下游引航道组成。过闸方式是当船只下行时,先由上闸首输水系统向闸室充水,待室内水位与上游齐平时关闭输水系统并开启上闸首闸门,船只由引航道驶入闸室停靠,然后关闭上闸首闸门,开启下闸首输水系统,将闸室放水至与下游水位齐平时开启下闸首闸门,船只出闸,沿下游引航道驶入下游河道。船只上行时程序相反。根据交通频繁程度,可修建单线或双线船闸。在平原地区的小河道上,为挡外河水、排洪、灌溉、通航的要求而修建的简易小型船闸,又称套闸。闸室可用混凝土、钢筋混凝土、砌石修造,引航道可用土石料、混凝土等修造。

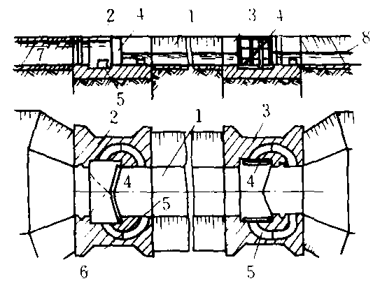
船闸

1.闸室 2.上游闸首 3.下游闸首 4.上、下游闸门 5.输水道 6.输水道闸门 7. 上游 8. 下游

船闸

为船舶克服水道落差而设置的一种结构简单、使用方便的通航建筑物。一般由闸室、上下闸首及上下游引航道组成。类型很多,主要有单级船闸和多级船闸。

船闸

船闸navigation lock

“通航建筑物”的一种。在天然河流由于调节流量、渠化通航以及在运河上因地形条件及水面坡度的限制,必须具有阶梯形的纵断面形成集中水面落差。所以必须借助专门的通航建筑物使船舶直接通过落差。现代通航建筑物应用最多的是船闸。它是一厢形构筑物,由上、下游引航道与上、下游闸首连闸室组成。闸室是停泊船舶(或船队)的厢形室,借助室内灌水或泄水来调整闸室中的水位,使船舶在上、下游水位之间作垂直的升降,从而通过集中的航道水位落差。当船舶由下游向上游行驶时,室内水位降至与下游水位齐平,然后打开下游闸首的闸门,船进闸室,关闸门,灌水,待水位升高到与上游水位齐平后,开上游闸首闸门,船即可出闸通过上游引航道驶向上游。当船由上游向下游行驶时,过闸操作程序则与此相反。

☚ 通航建筑物   升船机 ☛

船闸

在水位集中跌落的航道处,用以保证通航的箱形水工建筑物。

船闸

船闸

为使船舶安全、方便地克服较大的水位落差而设的建筑物称过船建筑物。过船建筑物主要有船闸和升船机两种。船闸是一种由闸室、上下游闸首、上下游引航道及相应设备组成的过船建筑物。它的工作原理是水涨船高,具体的运作是上下闸首各设闸门,把上、下游水位隔开,中间用闸室连接,闸室是供过闸船只停泊以随水位升降的空间。船闸的操作程序如下(以船由下游向上游行驶为例):上闸门紧闭—闸室内水位降至与下游水位齐平—开下闸首门—船进闸室—关下闸门,经闸室灌水至水位与上游水位齐平—开上闸门—船出闸(见第1035页船闸组成示意图)。船闸种类很多,有海船闸、内河船闸、单级船闸、多级船闸、广室船闸、井式船闸、省水船闸等。


船闸组成示意图
1上首闸; 2下首闸; 3闸室;4上游引航道; 5下游引航道;6闸门; 7输水廊道; 8阀门;9主导航建筑物;10辅导航建筑物;11靠船建筑物

☚ 通航保证率   船闸航标 ☛

船闸

ship lock;lock

随便看

 

离鸟网收录3541549条中英文词条,其功能与新华字典、现代汉语词典、牛津高阶英汉词典等各类中英文词典类似,基本涵盖了全部常用中英文字词句的读音、释义及用法,是语言学习和写作的有利工具。

 

Copyright © 2004-2024 vtrois.com All Rights Reserved
更新时间:2026/4/18 13:51:29