网站首页  词典首页


请输入您要查询的字词:

 

字词 管道式挤奶机
类别 中英文字词句释义及详细解析
释义

管道式挤奶机pipeline milking machine

挤集的牛奶直接经管路输送到贮奶罐的奶牛挤奶设备。其特点是:牛奶与空气接触少,卫生,质量好;各项设备均安装在固定位置,手工操作少,劳动生产率高。
类型 有牛舍管道式和挤奶间管道式两大类。前者用于规模较大的拴养牛舍;后者用于隔栏牛舍式或围场式散养奶牛场,也可用于放牧饲养的奶牛场。
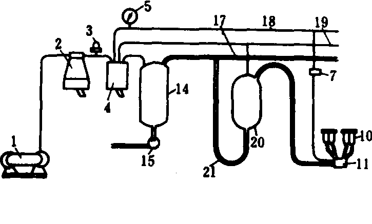
牛舍管道式挤奶机 主要由挤奶器、真空装置、管路系统、清洗装置、贮奶罐等组成。一般不配置牛奶计量器,挤奶和输奶合用一条输奶管路[图1(a)]。为便于检修和观察内部液体流动情况,常采用高配管式输奶管路,管路配置高度约为人的视线高度。但必需使用较高的真空度来提升牛奶,乳头易受刺激,也容易引起管路内的真空不稳定。为保持挤奶真空度的稳定,宜采用两套独立的真空装置,一套专供脉动器使用,真空压力保持为51千帕;另一套供挤奶和输奶用,真空压力可达74千帕,同时在集乳器前增设一个真空减压器,使挤奶杯乳头室的真空压力仍保持为51千帕。


(a)无单独输奶管路的管道式挤奶机(无牛奶计量鼍)


(b)输奶管路与挤奶真空管路分设的管道式挤奶机(有牛奶计量器)

图1 管道式挤奶机

1.真空泵和动力装置;2.真空罐;3.真空调节器;4.气液分离罐; 5.真空表; 6、18.脉动器用真空管路;7.脉动器; 8.挤奶管路; 9.脉动真空软管; 10.挤奶杯; 11.集乳器; 12.牛奶软管;13、19.挤奶真空管路;14.集奶罐;15.牛奶泵; 16.牛奶排出管路;17.输奶管路;20.牛奶计量器; 21.输奶软管


挤奶间管道式挤奶机 安装在挤奶间内的管道式挤奶机,简称挤奶间式挤奶机。由挤奶台、挤奶器、真空装置、管路系统、清洗装置和多种辅助设备等组成。辅助设备有清洗乳房的热水和喷洗设备、奶牛进出挤奶栏门的闭门机构、自动喂精料的装置、挤奶杯自动摘卸装置(见奶牛挤奶设备)、牛奶冷却贮存罐等。其设备利用率高,生产率高,容易实现机械化管理。
挤奶间式挤奶机一般均配置牛奶计量器,牛奶需先经计量器计量(或抽样检测奶质),再流入集奶罐,挤奶和输奶分设两条独立的管路[图1(b)],使挤奶杯的乳头室内有较稳定的真空。在挤奶间内设有低于地面的工作坑,可采用低配管式输奶管路,管路配置低于牛站立的平面,因而不必使用高的真空度来提升牛奶,不易引起真空不稳定。
主要组成部分
管道式挤奶机用真空装置 用以供应挤奶器及由管路系统输送牛奶所需的真空。真空泵所需抽气量比提桶式挤奶机大。其必须抽气量为150+60n升/分;必须贮备量为100+25n升/分。其中n为同时工作的挤奶器数。
管路系统 管路由不锈钢管或硼硅玻璃管制成。每一条25毫米管径的挤奶管路上同时开动的挤奶器数不应超过4套。输奶管路应向集奶罐方向徐徐倾斜,以利于牛奶顺利流向集奶罐。
气液分离罐 是一玻璃容器,安装在真空罐与集奶罐之间的真空管路上,使真空管路与有可能接触牛奶的管路分开,防止牛奶或其他液体泄入真空管路和真空泵内。其有效容积不小于3升,内有防止液体溢入真空罐的浮球阀,底部装有排液阀。
集奶罐 安装在输奶管路的一端,汇集由输奶管路输入的牛奶,并使奶、气分离。罐的容量不小于23升。底部装有吸排器。常用的吸排器为不锈钢制的离心式奶泵,内有开启式单片叶轮,流量为4500~6300升/小时,扬程达3米。奶泵的工作是由集奶罐重量或罐内液面高低来控制的。重量控制是利用奶罐中的牛奶达到规定重量后,使奶罐下降,通过杠杆推动开关,启动奶泵;奶排出后,奶罐重量减轻而上升,使奶泵停止工作。液面控制装置由插入奶罐内的三根不同长度的金属棒和继电器组成,在奶液平面升高到与短棒接触时接通电路,启动奶泵排奶;当奶液平面降到离开长棒时奶泵停止工作,第三根棒为共同的电回路,采用电压为12伏的直流电源。
清洗装置 用来清洗残留在输奶管路、容器等表面上的奶垢等污物,杀死残留的细菌和微生物。包括热水器、洗涤液添加箱、洗涤槽(或洗涤挤奶杯的喷嘴)、转换阀门等。早期国际上流行的是蒸汽杀菌,以后发展用化学药剂洗涤,20世纪80年代以来使用洗涤剂加热水的办法来进一步提高清洗和杀菌效率。标准的清洗——杀菌法是:挤奶结束后立即用冷水冲洗残留在管壁和容器壁上的牛奶,再用含有次氯酸盐的热洗涤溶液(温度为60~80℃)冲洗管道约15分钟。图2为管道式挤奶机的清洗装置工作过程。在清洗时将挤奶真空管路上的转换阀门转到热水箱与挤奶真空管路接通的位置,使管路系统处于清洗状态。在半自动装置中,控制电路内装有定时器,使洗涤、杀菌、冲洗等过程以预定的程序自动进行,但需用人工配制浓度正确和温度合适的洗涤溶液。在全自动装置中,除整个过程全部自动化外,还能使进入管道中的洗涤——杀菌剂停留若干时间后再进行冲洗,并在清洗过程中间断放入空气,促使液流形成涡流,加强清洗效果。
挤奶台 奶牛在挤奶间式挤奶机挤奶时站立的地点。按工作方式可分为固定式、转台式和传送带式;按奶牛在挤奶台上的排列方式可分为并列式、侧进式、通道式和斜列式(图3)。按挤奶台围绕工作坑四周的边数又可分为单边形、双边形和多边形等。并列式固定挤奶台的挤奶栏与牛舍的牛床排列相似,牛与工人位于同一平面或高出250~400毫米,以减少弯腰操作。奶牛可单独进出挤奶栏。每人每小时挤奶不超过35头。侧进式固定挤奶台的挤奶栏排列在工作坑的两边, 牛在挤奶栏内头尾相接, 栏侧有前、后门, 供牛单独进出, 工作坑低于地面800~900毫米。通道式固定挤奶台与侧进式相似, 挤奶栏分隔门拉出时就形成统一的挤奶栏通道, 奶牛须按批进出, 但挤奶间跨度小。侧进式和通道式挤奶台上前后挤奶器之间的距离有2.4米, 为避免操作者走动距离过长, 每一工作边的挤奶栏数常为2~3个。侧进式挤奶台配合辅助操作的机械化, 每人每小时最高可挤奶50~63头。斜列式固定挤奶台上挤奶栏排列方向与工作坑纵轴成30°~55°角, 奶牛分批进出挤奶栏, 但前后挤奶器之间的距离缩短到0.9米, 所以在挤奶间长度相同的情况下可设置较多的挤奶栏(每边4~10个), 每人每小时最高可挤奶83~92头, 多边形挤奶台较常见的是菱形, 每工作边都有一排斜列式挤奶栏, 每边4~8栏, 每人每小时最高可挤奶牛96~122头。挤奶速度慢的奶牛可安排在一条工作边上, 以减少对挤奶间生产率的影响。


(a)挤奶状态


(b)管道清洗状态

图2 管道式挤奶机的清洗装置工作过程

1. 热水箱; 2.冷水管; 3.洗涤液箱; 4.脉动器用真空管路; 5.转换阀门; 6.挤奶真空管路; 7.输奶管路;8.脉动器; 9.挤奶杯; 10.集乳器; 11.挤奶杯洗涤喷嘴; 12.牛奶计量器; 13.集奶罐; 14.牛奶泵; 15.气液分离罐; 16.真空罐; 17. 真空泵; 18.喷洗装置


转台式挤奶台的挤奶栏都排列在能回转的环形平台上,转台每转1转的时间约是1头奶牛挤奶所需的时间。最常见的是挤奶栏与转台径向成一角度的斜列式转台,奶牛尾部对着中央的工作坑,每人每小时可挤奶牛80~120头。


(a)并列式挤奶台


(b)侧进式挤奶台


(c)通道式挤奶台


(d)斜列式挤奶台


(e)斜列转台式挤奶台

图3 挤奶台的类型


传送带式挤奶台由若干作串联排列的挤奶栏组成, 挤奶栏上装有轮子,由一传送链带动,在轨道上围绕一个矩形工作坑转动。工作坑内一人操作,每人每小时可挤奶牛数80~120头。
栏门启闭机构代替手工及时开闭挤奶栏门,供奶牛按正确的方向进出,栏门由压缩空气通过活塞连杆机构操纵,在工作坑内控制。

管道式挤奶机pipeline milker

一种固定式挤奶机。工作原理与桶式挤奶机相同,不同之处在于不用奶桶盛奶,而是将挤奶杯中的奶用管道直接送往盛奶容器,因而在管路中增加了奶气分离器和输奶泵。如在管道式挤奶机中加上计量器,则称为计量式挤奶机。

随便看

 

离鸟网收录3541549条中英文词条,其功能与新华字典、现代汉语词典、牛津高阶英汉词典等各类中英文词典类似,基本涵盖了全部常用中英文字词句的读音、释义及用法,是语言学习和写作的有利工具。

 

Copyright © 2004-2024 vtrois.com All Rights Reserved
更新时间:2026/4/21 17:31:11