网站首页  词典首页


请输入您要查询的字词:

 

字词 示教电表
类别 中英文字词句释义及详细解析
释义
示教电表

示教电表shijiao dianbiao

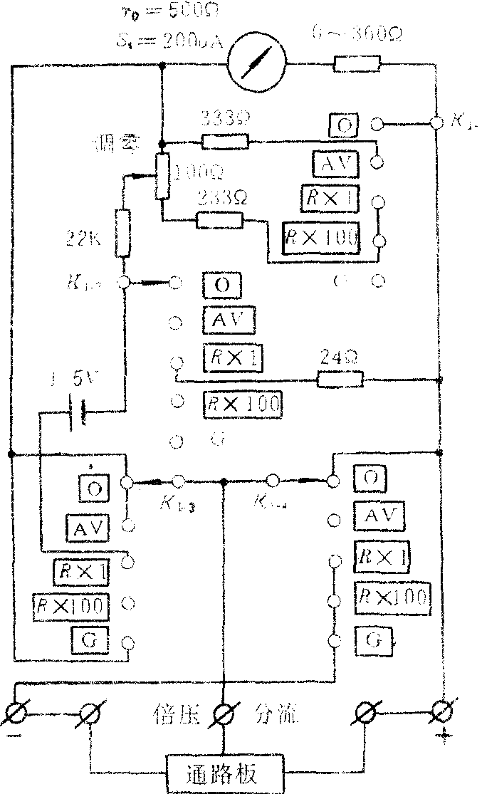
演示测量交直流电压、电流及直流电阻并可作检流计用的仪表。属于磁电系仪表。线圈分为工作绕组与阻尼绕组两部分,工作绕组接测量电路,阻尼绕组在指针摆动时提供磁阻尼。J0401型示教电表的电路原理如图所示。


电表备有10块通路板,供选用。使用时根据待测电量的性质、测量范围,按下表选配通路板与表盘。作检流计用时,不加通路板。

零件名称材料及数据(单位:mm)阻值
1A分流器
5A分流器
10V倍压电阻
25V倍压电阻
1A分流器
25V倍压电阻
250V附加电阻
零欧姆调整器
限流电阻
并联电阻
φ0.9裸锰铜线
φ1.3裸锰铜线
金属膜电阻
金属膜电阻
φ0.64漆包锰铜线
金属膜电阻
金属膜电阻
线绕电位器
金属膜电阻
φ0.06~0.07漆包锰铜线
0.1Ω
0.02Ω
20kΩ、1/8W
50kΩ、1/8W
0.65Ω
22kΩ、1/8W
223kΩ、1/2W
680Ω
2.2kΩ、1/8W
340Ω(355Ω)
R×100电阻档
电阻
精密金属膜电阻233Ω
R×1电阻档电阻精密金属膜电阻24Ω
☚ 万用表   灵敏电流计 ☛
00014730
随便看

 

离鸟网收录3541549条中英文词条,其功能与新华字典、现代汉语词典、牛津高阶英汉词典等各类中英文词典类似,基本涵盖了全部常用中英文字词句的读音、释义及用法,是语言学习和写作的有利工具。

 

Copyright © 2004-2024 vtrois.com All Rights Reserved
更新时间:2026/4/18 14:17:20