砂光机sanding machine用磨具对各种板材、木制品、木构件进行定厚加工和表面精细加工的机械。根据磨削机构的结构形式,砂光机可以分为辊筒式砂光机、带式砂光机、盘式砂光机和刷式砂光机。带式砂光机又可分为普通带式砂光机和宽带式砂光机。普通带式砂光机主要应用于家具制造和木模制造。刷式砂光机适用于加工成型表面,尤其是复杂表面的砂光。人造板工业中,主要采用辊筒式砂光机和宽带式砂光机。 辊筒式砂光机 辊筒是主要工作部件,钢制的辊筒表面粘贴毛毡,再包覆或卷绕砂带。辊筒式砂光机的砂带 一般为砂布,粒度约40~100,根据加工板材的性质和表面的粗糙度要求选择砂带粒度的大小。砂光辊筒在作高速转动的同时,还进行轴向游动,以使砂带在辊筒上相对稳定,并避免加工表面产生条状磨痕,提高砂光质量。工件作进给运动,进料机构有辊筒进给和履带式进给两种形式。辊筒进给机构具有刚性加工基准,可以达到较高的加工精度,但对被加工件的原始厚度偏差要求较高。履带式进给机构可以适用于加工原始厚度偏差较大的细木工拼板、木框等。根据产量的大小和工艺要求,辊筒式砂光机可以设计成单辊、多辊、单面砂光、多面砂光等多种组合型式。辊筒式砂光机磨削深度最大约0.5毫米,进给速度约6~30米/分。 宽带式砂光机 砂带比辊筒式砂光机的砂带长,易于冷却和清除磨屑,因此生产效率高,使用寿命长,更换也比较方便。20世纪70年代以来,在人造板工业中宽带式砂光机有替代辊筒式砂光机的趋势。宽带式砂光机结构,主要由砂架、进料装置、床身、传动装置组成(见图)。砂架是主要工作部件,分为辊式砂架和压板式砂架两种形式。辊式砂架磨削面积小、磨削压力大,一般适用于粗砂作定厚磨削。压板式砂架磨削面积大、磨削压力小,一般适用于精砂,提高表面光洁度。在设计时可以根据不同的工艺要求组合成各种类型的宽带式砂光机。砂带是特制的砂纸和砂布,砂的粒度约24~240。定厚砂光所用的砂带粒度较粗,表面修饰砂光所用的砂带粒度较细。砂带用胶粘剂粘成无端的环状,套装在接触辊和张紧辊上,上下辊筒之间有气压张紧装置,用以张紧砂带。砂带工作时辊筒作微量摆动,使砂带作轴向游动。进料机构分为履带式和辊筒式两种。履带是带有特殊沟纹的环状橡胶带,沿工作台台面运动。工作台可以根据被加工板材的厚度升降调节,在作表面装饰加工时工作台可调整在浮动状态,定厚砂光时,需将工作台固定在一个相应的位置上。进料传动机构一般采用无级调速装置,以选择最合理的进给速度。砂辊的传动系统内有制动机构,停机时可以缩短空运转时间,如发生砂带胶接处脱开和断裂等意外情况时,还有自动切断主传动电机电源和自动制动的功能。在砂架前后设有规尺,以限制进料厚度。有的砂光机还装有气压分段磨垫、压板等工作部件,以适应不同的加工材料,并提高加工表面的光洁度。宽带式砂光机上还有清除砂带上磨屑的喷嘴和排尘装置等。 新型宽带式砂光机自动化程度较高,工作精度和生产率均较高。该机进料速度约18~60米/分,最高可达90米/分左右,磨削深度可达1.27毫米,磨削后厚度偏差可达到±0.2毫米。三砂架的砂光机电动机总装机容量可达150千瓦以上,是一种高效率的生产设备。 
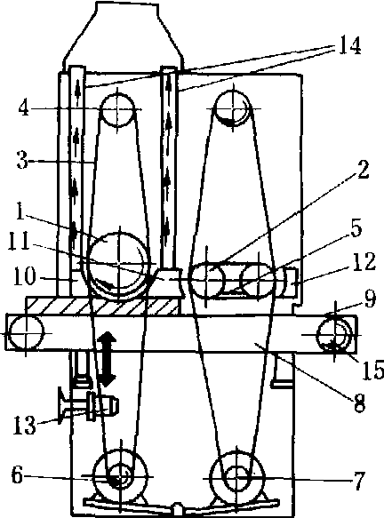
宽带式砂光机 1.第一号砂架;2.第二号砂架;3.砂带;4.张紧辊;5.压板;6、7.电动机;8.工作台;9.进料运输带; 10、11、12.前、中、后压力规尺;13.工作台升降电机;14.除尘管;15.进料带传动装置 |