网站首页  词典首页


请输入您要查询的字词:

 

字词 伸缩机构
类别 中英文字词句释义及详细解析
释义 伸缩机构

长度能够伸缩或高度能够升降的装置,称为伸缩机构。多数伸缩机构的末端输出都具有保持姿态不变的特点。

例5.2一148 销钉式伸缩套管

图示内伸缩套管1固定有弹簧片2,销钉3固定在弹簧片上,外伸缩套管4设有定距孔5。调节销钉3,使其在不同位置的孔中,即可实现伸缩。

例5.2-149 偏心套伸缩管

偏心环2以偏心距e与管3固定在一起。外套1活套在偏心环2的外侧,且上下卷边,包住环2。套1的上端只需稍略卷边,下端卷边后的端面孔应与管3同心,且包卷后不影响1、2间的相对转动。伸缩管4的外径稍小于管3的孔径,即3、4间为松配合。当相对2旋转1时,管4随偏心套下端面孔的偏摆而与管3楔紧,从而实现内、外管4、3间伸长或缩短后的联接。

例5.2-150 平行四边形伸缩机构

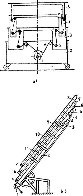
利用平行四边形机构中连杆作平动的特性,可开发出升降平台、绘图滑尺等装置。图a)为平行四边形升降台,由液缸驱动,平台2平移升降的轨迹为圆弧。图b)为平行四边形绘图尺移位机构,可使尺9在x、y两个方向定姿态移动。7为尺转角调整钮,以便画斜直线。10为绘图板。

例5.2-151 剪式升降平台

图a)、b)的原理基本相同。1为驱动活塞杆,2为升降平台,其主体均为变态平行四边形机构。当活塞杆伸缩时,平台2作升降运动,且平台2上任-参考点的轨迹均为铅直线。

例5.2-152 大行程剪式伸缩架

原理与上例完全相同,它由多个平行四边形机构迭加而成,可获得较大的伸缩行程。

例5.2-153 钢绳联动伸缩架

图a)、b)的原理完全相同,均由伸缩骨架、滑轮、钢绳、驱动器及机架组成。多个伸缩骨架迭加,可获得较大的伸缩行程。

例5.2-154 齿轮传动升降台

如图示,齿轮1、2、3、6、7彼此常啮合,并以连杆4、5作为转臂进行支撑。齿轮1与机架固定,并使齿轮1、2、3节圆直径相等。当主动转臂4转动时,与齿轮2、3固联的平行杆8、9作定姿态平行升降运动。

随便看

 

离鸟网收录3541549条中英文词条,其功能与新华字典、现代汉语词典、牛津高阶英汉词典等各类中英文词典类似,基本涵盖了全部常用中英文字词句的读音、释义及用法,是语言学习和写作的有利工具。

 

Copyright © 2004-2024 vtrois.com All Rights Reserved
更新时间:2026/4/18 13:00:51