网站首页  词典首页


请输入您要查询的字词:

 

字词 盐酸的生产
类别 中英文字词句释义及详细解析
释义
盐酸的生产

盐酸的生产yansuan de sheng-chan

氯化氢的水溶液俗称盐酸。近代工业制盐酸,按生成氯化氢的方法可分为合成法和副产法两种。
合成法的氯化氢是由氯气和氢气直接作用生成的,其反应式:

Cl2+H2=2HCl+184kJ

这是一个不可逆放热的气相连锁反应。由于大量氯、氢混合气受到光或热的激发会发生爆炸,因此,工业上把纯净的氢气流和氯气流分别导入一个俗称灯头的燃烧器,使它们连续地边混合边燃烧,从而实现安全生产。为了及时转移反应热,把灯头装在一个体积较大且易散热的合成炉内。合成炉多用耐腐蚀、耐高温的石墨做成。
氢和氯按化学计量比导入合成炉时,在数秒钟内能完全反应而不残留游离的Cl2。因此,氢和氯的摩尔比在理论上应为1 : 1。但是实际生产中氢需过量5%左右,这是为了保证Cl2完成反应,否则,当原料配比或操作条件稍有波动造成Cl2过量时,它就会腐蚀设备,影响产品质量,污染环境。
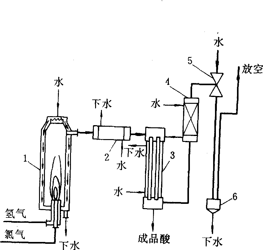
此法制得的HCl比较纯净,用水吸收即得盐酸,生产流程见下图。
氢气和氯气经灯头进行燃烧反应后,生成的氯化氢气由合成塔的顶部导出,经冷却降温后进入降膜式吸收塔,用稀盐酸吸收,制得浓度为35%左右的成品酸。经降膜式吸收塔吸收后的气体中仍含有少量HCl气,将其导入填料吸收塔用水吸收可制得稀盐酸,以此作为降膜式吸收塔的吸收剂。由填料吸收塔顶部导出的剩余气体主要是过量的氢,以及原料气带入的氮、一氧化碳、二氧化碳、水蒸气和微量的氯化氢气。它们在塔顶被吸入水喷射泵中,剩余的HCl气被高速喷射的水带入下水道,不溶于水的含H2废气由水分离器排入大气。
近年来,随着有机合成工业的发展,副产法制盐酸的比例逐年上升。此法的HCl气是有机合成工业中氯化过程的副产品,其反应通式:

RH+Cl2=RCl+HCl+113kJ

将反应中生成的HCl与有机氯化物分离并净化处理后,用水吸收即得盐酸。


合成法制盐酸生产流程示意图
1 合成炉 2 冷却器 3 降膜吸收塔 4 填料吸收塔5 喷射泵 6 水分离器

☚ 硝酸的生产   磷酸的生产 ☛
00006449
随便看

 

离鸟网收录3541549条中英文词条,其功能与新华字典、现代汉语词典、牛津高阶英汉词典等各类中英文词典类似,基本涵盖了全部常用中英文字词句的读音、释义及用法,是语言学习和写作的有利工具。

 

Copyright © 2004-2024 vtrois.com All Rights Reserved
更新时间:2026/4/18 2:54:16