网站首页  词典首页


请输入您要查询的字词:

 

字词 激发荧光细胞分类技术
类别 中英文字词句释义及详细解析
释义
激发荧光细胞分类技术

激发荧光细胞分类技术

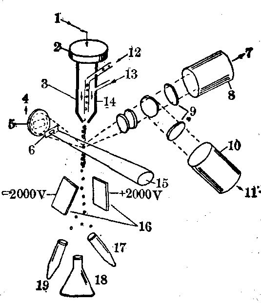
激发荧光细胞分类技术是借助激发荧光细胞分类器对单个细胞逐个进行高速定量分析和分类的一种技术。荧光细胞分类器是由超声喷嘴振荡器、氩离子激发器和阻断激光滤片、荧光检测器、散射光检测器和一对带有恒定静电压的偏转板和细胞收集器等组成(见图)。
荧光染色的细胞悬液通过样品进入管被压进超声喷嘴振荡器的喷嘴中央,同时无细胞的液体通过另一进入管亦被压入喷嘴,形成包围细胞悬液的壳液,由于同轴流动使细胞能保持在液流束的中央,通过直径50μm的喷嘴圆孔,成单行被喷射出来。喷嘴以每秒40,000周的超声频率作轴向振动。当同轴流动的细胞和壳液通过激光器发出的氩离子激光束照射的小区域后,被均匀振断成40,000个微粒,并经过激光束照射,被荧光试剂处理过的细胞即发出黄绿色荧光。荧光检测器接受经阻断滤片滤去激光而聚焦后的荧光,并产生电信号,以测量细胞表面所带荧光分子的数量。散射光检测器则接受被过路细胞散射偏转后的激光束的信号,此信号可反映细胞的大小。两个光检测器所产生的信号经过电子系统的处理、延迟和混合,产生电脉冲,被测量过的细胞在形成微滴时通过充电效应,使微滴带上不同的电荷(被充电)。当充电微滴通过带有恒定静电压的偏转板时,具有不同电荷的微滴与预先设置的标准对比后发生偏转。这样带正电荷的细胞微滴在静电场作用下,落入左方的细胞收集器,而带负电荷的细胞微滴落入右方的细胞收集器,不带电荷的细胞微滴落入未偏向容器中。这一分类技术能以每秒高达5000个细胞(每小时约18×106个细胞)的速度分类无菌细胞。所产生的样品纯度在90~99%之间,细胞的活性在通过仪器的行程中不受影响。本技术能区分淋巴细胞(包括其亚类)、正常血细胞、白血病细胞、培养的正常细胞和培养的肿瘤细胞等,可应用于细胞生物学、免疫细胞学和肿瘤学等各个领域的研究工作中。

激发荧光细胞分类器示意图

1.水滴形成信号 2.超声喷嘴振荡器 3.水滴充电信号 4.光散射信号 5.散射光检测器 6.光束光栏7.荧光信号 8.荧光检测器 9.阻断滤片 10.荧光检测器 11.荧光信号 12.细胞悬液 13.壳液14.喷嘴 15.氩离子激光束 16.偏转板 17.右侧细胞收集器 18.未偏向容器 19.左侧细胞收集器

☚ 显微放射自显影术   X-射线显微摄影术 ☛

激发荧光细胞分类技术

激发荧光细胞分类技术

激发荧光细胞分类技术是70年代新发展起来的借助激发荧光细胞分类器(FACS)进行细胞分类的技术。这是利用每个细胞结合荧光素的不同,以激光束照射单行流动的细胞以激发荧光。然后,收集聚焦后的荧光以测量细胞结合荧光素的多少和收集经过含细胞微滴的激光,以测量细胞的大小,借助光电效应,使微滴带上不同的电荷,当通过电场时,即可将细胞分开。这一分类技术能以每秒高达5000个细胞 (每小时约18×106个细胞)的速度分类无菌细胞。工作5小时能产生9×107个细胞,已足够实验使用。正常情况下,本仪器一次可工作8小时。所产生的分类样品,其纯度在90~99%之间,细胞的生活力在通过仪器的行程中不受影响。

激发荧光细胞分类器
细胞在压力下,经过喷嘴进入无细胞护套液流的中央,使得细胞保持在液流柱的附近。喷嘴以每秒40,000周频率作轴向振动,每秒钟将液流振断成40,000个微滴。检测荧光产生一个电信号,信号强弱与每一细胞上荧光分子的数量呈正比。检测正向散射光产生的信号则与细胞的体积有关。从两个光检测器接收的信号,经过电子系统处理,激发出液滴充电的信号。


工作流程如下: 被适当荧光制剂标记的细胞悬液在空气压力下通过喷嘴进入无细胞液流中央,然后通过直径50μm的喷嘴,使细胞列成单行喷出。喷嘴以每秒40,000周的超声频率作轴向振动。当液流通过氩离子激光束照射的小区域后被均匀振断成40,000个微粒。经激光照射的射流中被荧光标记的细胞即发出黄绿色的荧光。有两个光检测器对光信号进行检测。荧光检测器接受滤去激光而聚焦后的荧光,并产生电信号,以反映细胞表面所带荧光分子的多少; 正向散射光聚光镜则接受被过路细胞散射偏转后的激光束的信号,此信号可反映出细胞的大小。两个光检测器所产生的信号经过电子系统处理、延迟和混合,产生电脉冲,并给含标记荧光素的细胞微滴充电,当液滴通过电场时,具有不同电荷的液滴与预先设置的标准对比后发生偏转,最后进入不同的收集器。
所用的荧光制剂就是结合了特异性抗体的荧光抗体。抗体必须是特异性的,才能与细胞膜上的抗原起反应而结合。本技术不仅能区别淋巴细胞及其亚类,而且可对正常血细胞、白血病细胞、神经系统的细胞、培养的正常细胞和培养的肿瘤细胞进行区分。对白血病细胞的分类,有助于诊断和设计合适的治疗方案。对妊娠早期进入母体血液的少数胎儿细胞的分离和试验,有助于进行遗传病的产前诊断。因此,本技术在生物学和医学的各方面都可应用。
☚ 细胞分离技术   细胞电泳 ☛
00015847
随便看

 

离鸟网收录3541549条中英文词条,其功能与新华字典、现代汉语词典、牛津高阶英汉词典等各类中英文词典类似,基本涵盖了全部常用中英文字词句的读音、释义及用法,是语言学习和写作的有利工具。

 

Copyright © 2004-2024 vtrois.com All Rights Reserved
更新时间:2026/4/17 18:32:19