网站首页  词典首页


请输入您要查询的字词:

 

字词 湿式除尘器
类别 中英文字词句释义及详细解析
释义
湿式除尘器

湿式除尘器

湿式除尘器 使含尘空气与水滴或水膜接触而将尘粒从气流中分离出来的除尘设备。其除尘机理包括以下几方面:
❶通过惯性碰撞、滞留,使尘粒与水滴或水膜接触;
❷微小尘粒通过扩散与水滴接触;
❸加湿的尘粒相互凝聚。湿式除尘器的优点是结构简单,初始投资低,除尘效率较高,并能同时进行有害气体的净化,适于处理有爆炸性危险的含尘废气及同时含有多种有害气体的废气。它的缺点是有用的物料回收困难,泥浆处理较麻烦,高温烟气经洗涤后温度下降,不利于升高扩散。下面介绍几种常用的湿式除尘器。
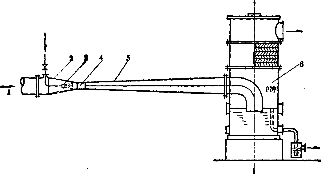
冲击式水浴除尘器 冲击式水浴除尘器如图1所示,它是由喷头、塔体水池、除雾器、进水管、溢流排水管等部分所组成。含尘废气以一定的速度经塔中央的喷头冲入水中,喷头没于水面以下,依靠气流的冲击作用,造成气液间的激烈搅动,并在水面上层形成大量泡沫,起到对含尘废气的除尘、净化和冷却作用。净化后的气体经折式挡水板除雾器后排空。一般情况下,喷头气流速度可取10~15m/s,除尘器的空塔气流速度取1~2m/s,喷头没水深度取10~20mm。如果喷头气流速度过大或喷头没水深度过深,除尘器的阻力就会增大,而除尘效率不能相应提高。为了使冲击式水浴除尘器保持设计的效率,必须使喷头没水深度在运行中始终不变。为此,常采用水封式溢流排水管以保持塔内液面位置。当除尘器处于负压状态时,溢流管到水封水面的高度H1(mm)应大于除尘器内的负压值P (mmH2O);当除尘器处于正压状态时,溢流管底到水封池水面的高度H2应大于除尘器内正压值。冲击式水浴除尘器的优点是性能稳定,结构简单,制作容易,便于维修管理,对亲水性较大尘粒可有90%净化效率,较广泛地应用于陶瓷厂,耐火材料厂,铸造车间及喷砂车间等。


图1 冲击式水浴除尘器
1.测压孔 2.挡水板 3.进风管 4.观察孔 5.塔体水池6.排污孔 7.出风管 8.净化后空气 9.进水管 10.喷头 11.溢流管 12.溢流管安放孔 13.水封溢流桶


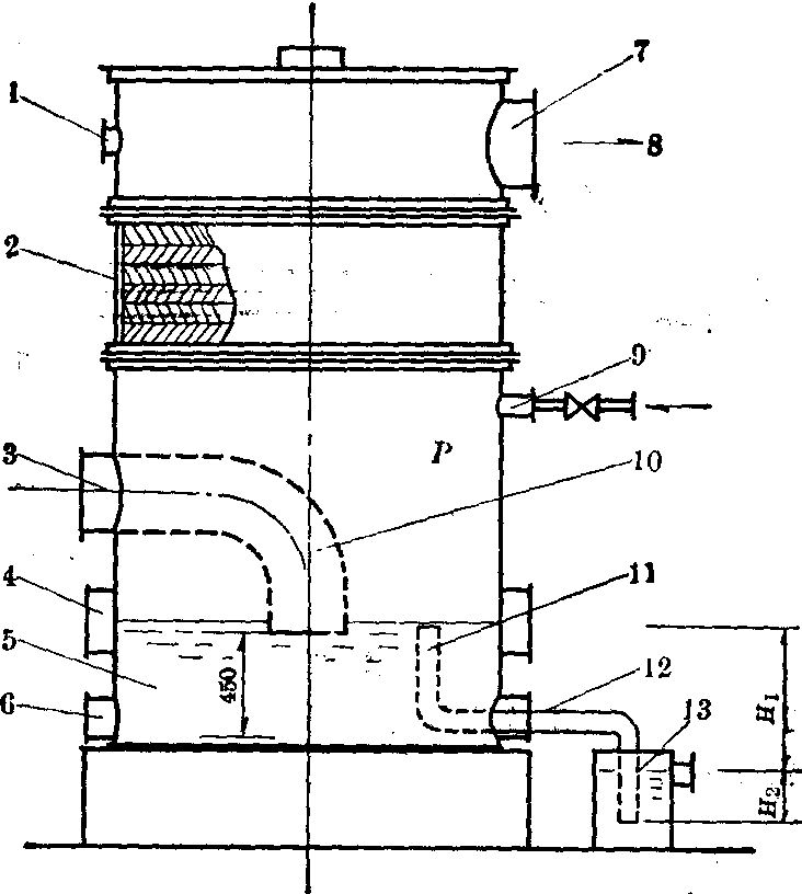
文丘里除尘器 文丘里除尘器是一种高效除尘设备,其效率可达90%~99%。钢铁厂、冶炼厂、化工厂等排出的含有2μm以下的尘粒的废气,用一般除尘器如旋风、冲击式水浴、卧式水膜旋风除尘器,泡沫塔等难以除去,而用文丘里除尘器净化能取得较满意的结果。文丘里除尘器如图2所示,它是由文丘里管(简称文氏管)和气液分离器二部分组成。含尘废气进入文氏管后,在渐缩管中加速,以极高的速度(60~100m/s)通过喉管部分,与设于此处的喷雾器喷出的雾滴相接触,产生激烈的质量交换,尘粒迅速湿润,成为易于捕集的较重大粒子。然后经渐扩管减速,通至气液分离器,在该处水滴及尘粒全部被捕集下来,净化后气体排空。文丘里除尘器的优点是: 结构简单,占地面积小,对微细尘粒有较高的除尘效率,其缺点是动力消耗较大。
卧式水膜旋风除尘器 卧式水膜旋风除尘器的结构如图3所示。它由横卧的倒卵形内筒和外筒组成,内外筒之间设有螺旋形导流叶片,使除尘器成为一螺旋形通道。含尘气体由一端沿切线方向行入,顺着螺旋形通道旋转运动,在离心力的作用下,尘粒被甩向外筒。每当含尘气流沿导流叶片经过水面时,把水推向外筒内壁形成螺旋形水膜,这时被甩到筒壁上的大尘粒为水膜捕集,而较小尘粒在气流冲击水面的过程中,为雾滴所捕集。这样,含尘气流在旋转前进过程中将得到多次净化。净化后的空气经除雾器除雾后,由除尘器的另一端出口排出。为了保证卧式水膜旋风除尘器的正常运行,必须保持除尘器内预定的水位不变。一般溢流管顶高度应低于倒卵形内筒最低部40~50mm。溢流管通往塔外时,必须水封,其要求与冲击式水浴除尘器相同。泥浆经溢流排水管连续排至塔外,同时,每天应排放一次污泥。


图2 文丘里除尘器
1.含尘气体进口2.渐缩管3.喷雾器4.喉管5.渐扩管6.冲击式水浴除雾器


图3 卧式水膜旋风除尘器

☚ 袋式除尘器   静电除尘器 ☛
00012590
随便看

 

离鸟网收录3541549条中英文词条,其功能与新华字典、现代汉语词典、牛津高阶英汉词典等各类中英文词典类似,基本涵盖了全部常用中英文字词句的读音、释义及用法,是语言学习和写作的有利工具。

 

Copyright © 2004-2024 vtrois.com All Rights Reserved
更新时间:2026/4/21 12:09:19