网站首页  词典首页


请输入您要查询的字词:

 

字词 流式细胞光度术
类别 中英文字词句释义及详细解析
释义
流式细胞光度术

流式细胞光度术

流式细胞光度术(FCP)又称流式细胞术(FCM)、流式显微荧光光度术(FMF)、脉冲细胞光度术(PCP)或荧光激活细胞分类术(FACS)。是一种对单细胞或亚细胞颗粒进行定量分析和分类的技术。其主要特点是能以每秒钟测定上千个细胞的速度,同时测定Coulter电阻、荧光、光散射和光吸收来定量测定细胞DNA含量、细胞体积、蛋白质含量、酶活性、细胞膜受体和表面抗原等许多重要参量。根据这些参量可将不同性质的细胞分开,获得供生物学和医学进行深入研究用的纯细胞群体。
三十年代Casperson测定过细胞内核酸对光的吸收。1956年Coulter描述了一种细胞在等电溶液中通过两个小室间小孔(75~100μm)时的电阻变化(称为Coulter电阻),进行细胞计数和测定细胞体积的装置。
1965年Kamentsky制成了多参数流式细胞光度计,可测定细胞大小和核酸含量。同年,Fulwyler又制成了细胞分类器。1969年Van Dilla等用氩离子激光器和分层鞘流技术,建立了一台液流、照明光轴和检测器轴互相正交的流式细胞光度计。以后,经Hulett等改进的细胞分类器使流动液体内的细胞能在空气中进行测量。上述系统所使用的激光光束都比液流中的细胞直径大,不能提供关于细胞形态学方面的信息,称为零分辨率系统。Wheeles和Patten发展了一种低分辨率狭缝扫描技术,从而进一步改进了流式细胞光度计。1969年Gohde和Dittrich描述了使用汞灯做光源的流式细胞光度计,在落射光照明条件下,可激发在流动室中与光轴平行流动的细胞。
流式细胞光度计分为分析器和分类器两类,或者合并为一套系统(图1)。待测样品 (细胞、染色体、精子或

图1 流式细胞光度计和分类计

细菌等) 经荧光染料染色后制成样品悬液,在一定的压力下通过鞘流包围的进样管进入流动室,悬浮细胞排成单列流经检测区与激光束相交,被激发产生荧光。与入射光束成90。放置的光学系统收集荧光信号。图1中的阻断滤色片用于阻挡激发光,二色分光镜及另一些阻断滤片用于选择荧光波长。检测器一般使用光电倍增管。光散射收集器测量细胞的小角度前向散射,以测定细胞的大小。
细胞分类器工作原理是由超声换能器产生高频振荡以振动液流喷嘴,使液流断离成一连串均匀的小液滴,小液滴包含待分类样品(如细胞),液滴刚形成之前,则根据已检测的细胞不同性质给液滴充以正或负电荷,带电的液滴通过静电场时,发生向左或右偏转,从而完成纯细胞的分离,供专门的化学和生物学研究。
整个仪器用多道脉冲高度分析器处理荧光脉冲信号和光散射信号,测量结果以频率分布图显示出来。目前荧光测定灵敏度较高,每个细胞只要有几百个荧光素分子就能被检测出来。用狭缝扫描技术进行检测,直径50μm的样品流可达到5μm的分辨率。
流式细胞光度计已用于生物学和医学研究的几个方面,主要有:
(1) 细胞生物学研究: 用于测定细胞周期各时相细胞的百分比。通过测定细胞群体中每个细胞的DNA含量,得出DNA含量的分布图(图2)。
图2中第一个峰是含有2C DNA含量的G1/G0(DNA合成前期/静止期)细胞,其次一个峰是4C DNA含量的G2+M(DNA合成后期 + 有丝分裂期)细胞,从2C到4C间的区域为S期 (DNA合成期)细胞。采用绘图法或最小平方拟合法可计算出细胞周期中各时相的细胞占整个细胞群体的百分数。
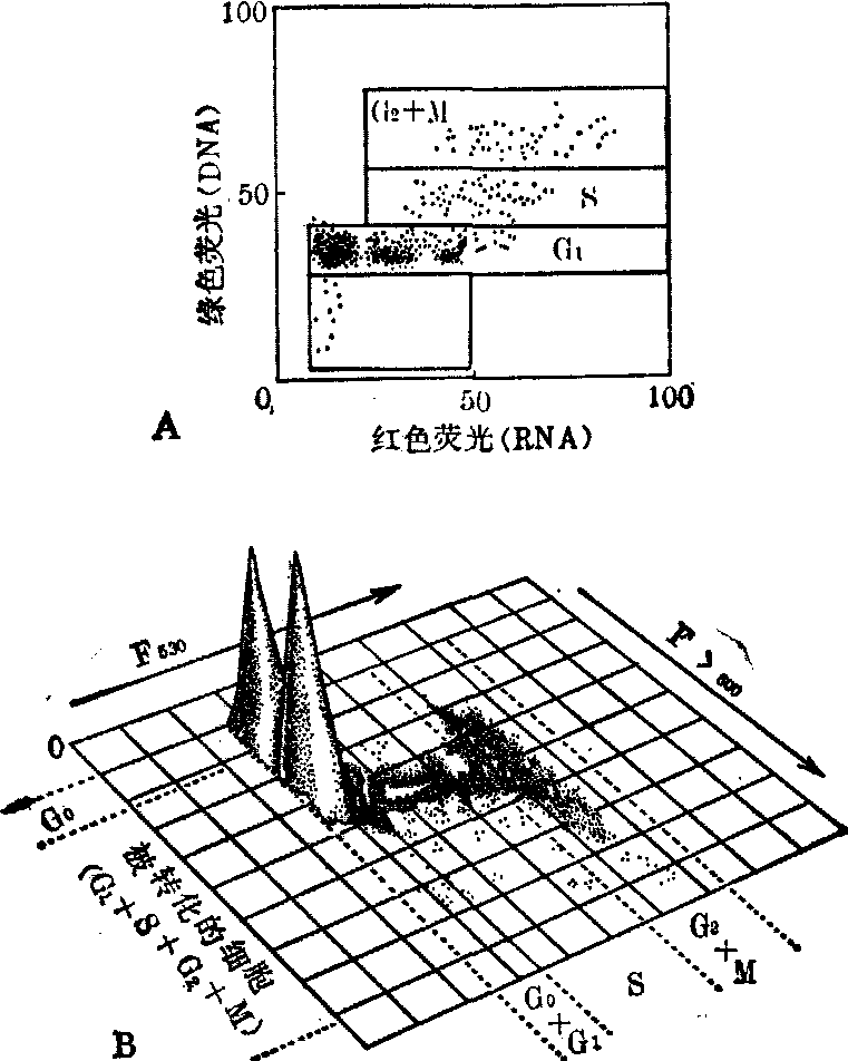
双参数分析是对同一个细胞测定它的二种性质,如散射光和荧光,或二种不同颜色的荧光。经吖啶橙染色的细胞,其DNA发绿色荧光,RNA发红色荧光。这样能同时测定一个细胞内的DNA和RNA含量。测定结果可用二维散布点图或等量图 (Isometric display)表示(图3)。用这种方法可鉴别出G0期与G1期,M期和G2期细胞。

图2 HeLa细胞DNA分布的直方图
纵座标:细胞数×103;横座标:相对DNA含量。光神霉素染色,根据计算机弥合分析可得出各时相的百分比

图3 用植物血凝素(PHA)转化的人外周血淋巴细胞A为二维散布点图,图中每个点代表1个细胞,其与座标的距离各相应荧光F530和F>600 B为三维等量图,图中峰的高度代表细胞数(随意单位)(据Darzykiewicz 1978)


此外,可用于测定细胞动力学参数,监视同步细胞群体在细胞周期中通过的情况(多重DNA分布),可得出细胞通过G1、 S和G2+M期的时间(TG1,Ts, TG2+M,Tc)及其变异系数(CVG1,CVs,CVG2+M,CVc),和细胞周期阻断和释放的情况,这对于了解肿瘤化疗干扰细胞周期动力学变化是一个很有效的方法。
FCM还可测定DNA合成率,细胞群体同步化的位置和程度,鉴别和分类死活细胞等。
(2)遗传学研究: FCP可用于染色体的DNA含量分析,得到染色体频率分布图(图4),称为流式染色体核型分析。同类型染色体出现一个峰,峰的面积代表这种类型染色体的丰度。用流式狭缝扫描系统可测定染色体的着丝粒指数。流式染色体核型分析技术不仅能快速分析染色体核型,而且能分类收集不同类型的染色体,供基因图和基因克隆的专门研究

图4 中国仑鼠M3-1细胞染色体的频率
分布图 纵座标: 染色体数; 横座标: 荧光强度


不同遗传性状的个性,其体细胞含有不同数量DNA的染色体(XX,XY,XO,XXY等)。用流式细胞光度术可发现Klinefelter综合征患者白细胞(XXY)与正常男性白细胞(XY)中的DNA含量不同(图5)。
精子中DNA含

图5 正常男性和Klinefelter综合征患者混合的白细胞DNA分布(据Gohde等1980)

量的测定,可用来监视环境中有害物质对机体的影响。用于家畜新鲜冷冻保藏精子中带X或Y染色体精子的分析和分类,将会发展出一种能控制家畜性别的新方法。
(3)免疫学研究: 在淋巴样细胞分析和分类方面,可用光散射鉴别活的淋巴和非淋巴细胞,测定淋巴样细胞大小的分布,并用光散射测定细胞的活性,利用免疫荧光方法可辨认和计数带有不同表面特异性抗原的细胞,如用荧光素标记的免疫球蛋白 (抗-Ig),就可鉴别T和B淋巴细胞。此外,又可根据细胞表面所带表面抗原的不同,分辨出不同的T和B淋巴细胞亚群,测出每个细胞所带抗原的数量、密度及其动力学参数,也可用流式细胞分类器对具有某种特异抗原决定簇正或负细胞的群体进行分类,进一步研究其功能特性。用双色荧光(FITC和TRITC)标记法可测定同一个细胞上的不同抗原决定簇的相关性。
FCP可定量分析结合于细胞的用荧光素标记的外源凝集素,用于测定细胞表面积和荧光素结合位点的相对密度,测定结合动力学,每个细胞结合位点的数目,以及研究外源凝集素之间与细胞表面结合的竞争性。
(4) 肿瘤学研究: 肿瘤细胞一般含有异常数量的DNA,在大多数实体瘤和急性白血病中发现非整倍体。由于FCP样品制备方法简单,测定结果精确,能快速得到DNA倍性的结果(图6),因而能提供有价值的诊断数据。在普通光学显微镜形态学观察不能做出可靠判断时,此方法的优点尤为突出。如果在测量DNA含量时,同时测定其他参数(如蛋白质含量、细胞大小、核质比等) 则可进一步提

图6 人睾丸癌细胞DNA分布(据Gohde等1980)

高诊断的可靠性。Wheeles等(1982)用多参数狭缝扫描系统检测623个吖啶橙染色的子宫颈组织样品中,得出14.6%的假阳性和3.4% 假阴性的结果。
FCP可在实验和临床中评价肿瘤化疗和放疗的作用,不少人尝试根据FCP的细胞动力学数据来监视肿瘤治疗。但由于肿瘤的复杂性,所得出的数据尚不能给予正确的解释。近年来,人们正在探索人的表面肿瘤S期细胞百分数的增加,采用对S期有特异性作用的药物进行治疗,以及根据人急性白血病G0期细胞复苏的数量和时间进程进行治疗等方面,正在进行有意义的探索。
☚ 细胞荧光光度术   光散射 ☛
00018807
随便看

 

离鸟网收录3541549条中英文词条,其功能与新华字典、现代汉语词典、牛津高阶英汉词典等各类中英文词典类似,基本涵盖了全部常用中英文字词句的读音、释义及用法,是语言学习和写作的有利工具。

 

Copyright © 2004-2024 vtrois.com All Rights Reserved
更新时间:2026/4/21 15:05:35