网站首页  词典首页


请输入您要查询的字词:

 

字词 污水沉淀池
类别 中英文字词句释义及详细解析
释义
污水沉淀池

污水沉淀池

污水沉淀池是将污水中比水重的悬浮物质沉降的主要构筑物,并用以减低污水的生化需氧量和减少细菌和寄生虫卵。沉淀池的作用原理,基本上与给水沉淀池相同,但污水的沉降物质较多,并且极大部分是有机物,容易在池底发生厌氧腐败,所以其构造与管理应与给水设备有所不同。
污水沉淀池的种类分为平流式沉淀池、竖流式沉淀池、辐射式沉淀池、斜管沉淀池及斜板沉淀池等,与给水的沉淀设备相类似,此外还有沉淀兼污泥处理池,如化粪池及隐化池等(见“化粪池”、“隐化池”条)。
平流式沉淀池 是长方形池,污水连续地由池一端进入,从另一端流出。池长与池宽之比一般为4:1,通常池深2~4m,污水在池内流经时间不大于2h,要求污水中绝大部分的悬浮物应自进水口与出水口的距离内沉降至池底,池的水平面积负荷量不宜大于每小时1.5~2.0m3/m2
为使沉淀池内污水均匀流动,防止短路、紊流或停滞等现象,通常在进水端设置距离均等的短水平管多管进水,并在进水后安装半淹没潜流挡板,有时在进水端设多孔挡板或溢流堰等。出水端往往采用半淹没式潜流挡板及出水溢流堰。


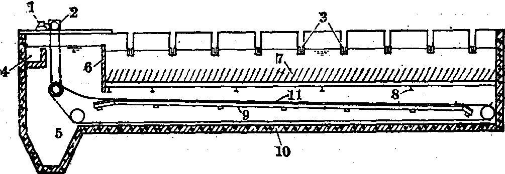
平流式污水沉淀池


1.电动机2.传动装置 3.出水槽 4.进水槽 5.污泥斗6.挡板 7.斜板 8.工字梁 9.支梁 10.护轨


平流式沉淀池截留污水中的污泥和浮渣,可用人力或机械清除,清除出的污泥送至污泥处理设备(见“污泥处理”条)处理。清除出的浮渣应予以掩埋或其它无害化处理。
人力除污泥沉淀池,池底建成4%的坡度,倾向进水端,在最低处设排泥阀,并在接近出水挡板处设置排浮渣设施及控制阀。清污泥时,停止进水,先排除浮渣,然后用泵提升污水至另一平行使用的沉淀池内,再用装有刮泥板的小型动力牵引车刮泥。
机械除污泥的沉淀池,池底较平坦,在进水端筑储泥坑,池内安装链带式刮板设施,用动力每日一或二次刮池底污泥入储泥坑内,也可在沉淀池工作中连续刮泥。储泥坑内积存的污泥可利用重力或污泥泵送至污泥处理设备。在链带式刮板运转时,可同时将水面浮渣推入排浮渣槽。
竖流式沉淀池 是圆形或方形池,构造与给水处理的竖流式沉淀池相同,池底为锥形,可收集沉降污泥,又设中央管,通至池顶,管底部的高度应在池底污泥面以上,中央管底部处装设挡板,污水在中央管中进入(见“沉淀池”条),下流至挡板处孔隙外并向上流动,至池顶周围溢流堰上排出。上升水流的平均速度一般采用0.5~0.75mm/s,沉淀时间1~1.5h。沉降的污泥贮存在锥形底内,较大的竖流式沉淀池,一般筑成平底,在底部修建多个储泥坑。储泥坑内都设有可控制的排泥管,清除污泥,送污泥处理设备。
在污水流动过程中,由于污水中的悬浮物颗粒大小与比重不同,有的随水流上升,有的向下沉降,有的则停留在一定水平形成了立体污泥层,污水中的较细的悬浮物颗粒通过此种立体污泥层时,能因接触凝聚等作用成为较大颗粒而下沉。
中、小型圆形竖式沉淀池,可采用圆锥形,其横截面自下向上逐渐扩大,使水流上向速度不断减小,有利于微细悬浮物颗粒的沉降。
辐流式沉淀池 是一个直径较大,水深较浅的圆形沉淀池。直径一般为20~30m,池中心深度为2.5~5m,池边为1.5~3m。污水由池中心进入,在入流管周围常用穿孔板围成入流区,污水经穿孔均匀地向池的四周辐射,在池边顶部溢流堰或淹没式溢流孔排出,在溢流前装设半淹没式挡板。污水在池内的流程时间,不大于2h。池底斜向中央,坡度0.06~0.08,储泥坑在池中心底部 (见“沉淀池”条)。
辐流式沉淀池内水流速度,近池中心较大,愈近池边愈小,因而较重的悬浮颗粒在近中心处沉降,较小而比重较轻的则逐渐近池边沉降。
池底污泥常用机械刮除,有的由池中心竖轴旋转,带动池底刮板,把污泥刮到储泥坑,然后用水力或泵把污泥送至污泥处理设备;有的在圆形池顶铺单轨,上设横梁,梁的一端以池中心为轴,可绕轴沿圆轨转动,梁下安装伸入池底的刮泥板,横梁旋转时即可刮泥。
斜管及斜板沉淀池 原理和建筑与给水沉淀处理相同,可将斜管或斜板装在平流沉淀池、辐射沉淀池中,处理污水的能力比一般沉淀池高10倍以上,在斜管或斜板中沉降的污泥能自动滑到池底。
☚ 隐化池   活性污泥法 ☛
00012504
随便看

 

离鸟网收录3541549条中英文词条,其功能与新华字典、现代汉语词典、牛津高阶英汉词典等各类中英文词典类似,基本涵盖了全部常用中英文字词句的读音、释义及用法,是语言学习和写作的有利工具。

 

Copyright © 2004-2024 vtrois.com All Rights Reserved
更新时间:2026/4/21 3:46:29