网站首页  词典首页


请输入您要查询的字词:

 

字词 比重去石机
类别 中英文字词句释义及详细解析
释义

比重去石机stone separator by specific gravity

根据粮粒与砂石比重和悬浮速度的不同,把粮食中的并肩石(与粮粒形状大小近似的砂石)等重杂分离出来的机器。比重去石机具有去石效果好、结构简单、体积小和能耗低等优点。粮食经过比重去石机一次清理,除石率大于95%,除砖瓦、泥块率大于60%,而且丢失粮粒少,清除的砂石中含饱满粮粒不超过100粒/千克。
工作原理 借助振动运动,调节气流和调节筛面倾斜度来进行粮食和砂石的分离。粮食是由粒度和比重不同的颗粒组成的散粒体,在受到振动或以某种状态运动时,各种颗粒会按照它们的比重、粒度、形状和表面状态的不同而分成不同的层次。比重去石机工作时,物料从进料斗不断进入去石筛面的中部,由于筛面的振动和穿过物料层气流的作用,使颗粒间的孔隙度增大,物料处于流化状态,促进了自动分级,比重大的石子沉入底层与筛面接触,比重小的粮食浮向上层,在重力、惯性力和连续进料的推动下,下滑到净粮出口;而比重大的石子在筛面振动系统惯性力和气流的作用下,相对去石筛面上滑,经聚石区移向精选区。精选区的精选室由风机引进一股气流,沿弧形通道向筛面前方反吹,将石子中含有的少量粮粒吹回聚石区,避免同石子一同排出。
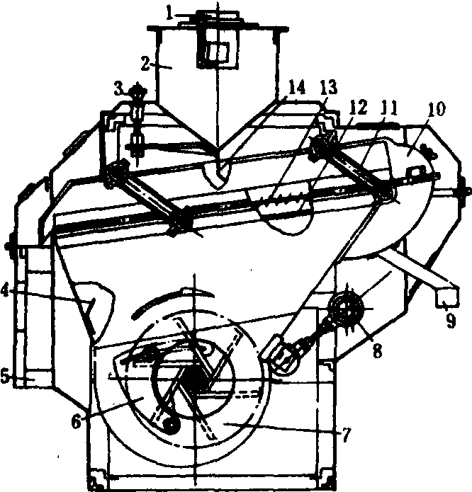
类型 按使用气流的方式分为吹式和吸式两种。吹式比重去石机 由进料装置、去石筛面、气流系统和传动机构等部分组成(图)。筛体与风机外壳固定连接成一体,用吊杆悬吊在机架上,由偏心传动机构带动产生往复运动。去石筛面是一块冲有一排排鱼鳞形筛孔的薄钢板,根据作用不同,分为分离、聚石和精选三个区。鱼鳞筛孔有单面凸起和双面凸起两种,筛孔口较小,粮粒不能通过,只能使空气按一定方向流动,并阻止石子下滑。

吹式比重去石机

1.进料口; 2.进料斗; 3.进料调节手轮; 4.导风板;5.出料口; 6.进风调节装置; 7.风机; 8.偏心传动机构; 9.出石口; 10.精选室; 11.吊杆; 12.匀风板;13.去石筛面; 14.缓冲匀流板


吸式比重去石机 其结构与吹式基本相同,只是自身不带风机,在去石筛面上装有气密良好的吸风罩及吸风管,与加工厂风网的风机相接,作业时尘土不外扬,因而使用较多。为简化结构和便于制作,有些国家的吸式比重去石机的去石筛面多采用直径为1毫米的钢丝编织而成,筛体用弹簧支承,由振动电机驱动。

比重去石机specific gravitystone separator

利用谷粒与杂质颗粒的比重不同以清除重杂质的机械。主要工作部件是振动筛和风机。工作时,应用振动和气流的共同作用,使比重小的谷粒上浮,由物料的上表面向下滑,经出料口排出,而石子等重杂质则下沉到接触筛面,由筛子向上推移并从出石口排出。比重去石机按气流供应方式不同有吹式和吸式两类;筛面有冲孔筛和编织筛两种。

随便看

 

离鸟网收录3541549条中英文词条,其功能与新华字典、现代汉语词典、牛津高阶英汉词典等各类中英文词典类似,基本涵盖了全部常用中英文字词句的读音、释义及用法,是语言学习和写作的有利工具。

 

Copyright © 2004-2024 vtrois.com All Rights Reserved
更新时间:2026/4/20 21:24:26