网站首页  词典首页


请输入您要查询的字词:

 

字词 松脂加工
类别 中英文字词句释义及详细解析
释义

松脂加工resin processing

用水蒸气蒸馏或其他方法将松脂分成松节油和松香的过程。松脂中的挥发性物质为松节油,非挥发性的熔合物为松香。
简史 中国的松脂加工业历史久远,在20世纪50年代以前都是简单地将块状松脂放入蒸馏釜内,用直接火加热炼制。由于松脂含油少,杂质和氧化树脂多,加工所得的松节油收率低,松香质量差。50年代以来采用了新的采脂方法,松脂质量改善,部分工厂改用间歇水蒸气加工松脂的生产工艺,松节油的收率和松香质量都有提高。60年代初,大部分小型厂改进了直接火法的炉灶结构,在炼制过程中往釜中滴水,以降低蒸煮温度,改善了这些厂产品的质量。70年代推广了松脂加工连续化生产。80年代初实现了松脂蒸馏的自控。
加工方法 包括松脂贮存、输送、蒸馏。松脂加工厂备有贮脂池,以便按计划连续生产。加工时用螺旋输送机将池中松脂送至料斗进行加工。规模较大的工厂,贮脂池离加工车间较远,松脂通过管道用压缩空气送至车间料斗。蒸馏工艺分连续水蒸气蒸馏法、间歇水蒸气法和简易加工法3种。
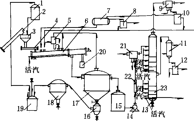
连续水蒸气蒸馏法 用水蒸气作为加热和解吸介质加工松脂的方法。先用水蒸气将松脂加热熔解,使成流体状态(脂液),滤去大部分杂质; 后用澄清的方法净制,进一步除去细小杂质和绝大部分水; 最后,将净制脂液用过热水蒸气蒸出松节油,得到松香。这三个工序是连续进行的。连续水蒸气蒸馏法马尾松松脂加工工艺流程如图1。松脂从上料螺旋机输入料斗,再

图1 连续水蒸气蒸馏法松脂加工工艺流程
1.中油贮槽; 2.上料螺旋输送机; 3.加料斗; 4.给料器; 5、9、11.换热器; 6.连续熔解器; 7.优油贮槽; 8.盐滤器; 10、12.油水分离器; 13.放松香管; 14.脂液泵; 15.贮脂罐; 16.稳定器; 17.连续澄清槽; 18.中层脂液澄清槽; 19.压脂罐; 20.残渣受器; 21.脂液预
热器; 22.转子流量计; 23.连续精馏塔


经螺旋给料器不断送入连续熔解器,并加入适量的水和松节油。在熔解器中松脂被加热熔解。熔解脂液经过滤滤去大部杂质,流入连续澄清槽,杂质在残渣受器内定期排出。澄清后的脂液连续流入贮脂罐。中层脂液于中层脂液澄清槽澄清后流入压脂罐,用水蒸气压入中油贮槽回收。脂液泵将澄清脂液从贮脂罐抽出,经过转子流量计计量、预热器加热后连续送入蒸馏塔。蒸馏塔上段蒸出优油和水的混合蒸汽,经换热器(9)冷凝后流入优油油水分离器(10),分离后的优油流入贮槽,一部分送至熔解器作熔解松脂用,其余的经盐滤器除水后流入优油仓库。塔下段蒸出的重油和水的混合蒸汽由换热器冷凝后,经油水分离器分离水分。重油流入仓库。塔底部连续放出松香。
松脂熔解 为了除去松脂中的杂质和水分,先将松脂熔化成流体,然后进行净制。松脂熔解时加入松节油,使脂液中松香和松节油的比例成64~62:36~38,以降低脂液的浓度和粘度。加原料松脂8~10%的水,洗涤松脂,除去水溶性色素。加草酸0.05~0.1%,以还原深色的树脂酸铁盐。连续熔解器有卧式和立式的两种。卧式为一圆筒,由不锈钢板焊制,内有带孔翼片的螺旋器,推动松脂块前进。使松脂块有足够的熔解时间。在器底设直接水蒸气喷管,用水蒸气加热熔解松脂。立式熔解器为一圆筒体,由一根直立的进脂管与熔解器本体下部相连而成。器下部设直接水蒸气喷管,底部锥形,装有排渣阀门。松脂、熔解用松节油和水连续地沿进脂管流入熔解器下部,然后在熔解器中由下而上不断地被直接水蒸气加热而熔解。较脂液重的粗渣、泥沙等沉积于熔解器底部,通过锥底下的排渣阀门定期排放。熔解脂液从熔解器顶部流入滤渣器滤去大部杂质,进入净制工序。在熔解过程中,蒸发出的油水蒸气可用换热器冷凝流回熔解器中。熔解温度控制在96℃以下。
脂液净制 中国多采用澄清法。此法设备简单,维修容易,无须消耗动力,缺点是占地面积大,分离时间长,还需加一套中层脂液处理设备。通常采用半连续式澄清槽组,水分和杂质通过2~4个澄清槽分离,生产量较小时,也可只用一个澄清槽。脂液澄清连续进行,水与杂质间歇排出。澄清的脂液再经一小型过滤器,除去未沉降极少量的树皮杂质后,流至蒸馏塔。澄清过程中,在澄清脂液和下层水之间,有一层脂液、细小杂质和水的混合物,称中间层。中间层与渣水由各槽下部放出,再经进一步澄清后放回至熔解器回收,或直接蒸馏回收黑色松香和松节油。
连续蒸馏 净制脂液直接蒸馏时,沸点随脂液中松香含量的增加而升高,如欲将松节油蒸尽,温度将达到250~300℃,这将使树脂酸脱羧分解,大大影响松香质量。水蒸气蒸馏可降低蒸馏温度,保证松香质量。蒸馏时适当提高温度可减少水蒸气的耗量。马尾松松脂常压连续蒸馏工艺有3种:❶一塔三段。蒸馏塔用盲板分隔为三个塔段,相邻塔段间有溢流管相通,净制脂液经预热器加热至140℃左右,连续进入塔上部,在三个塔段的顶部分别蒸出优级松节油(优油)、中间松节油(中油,作熔解用)和高沸点松节油(重油)与水的混合蒸汽,经换热器冷凝和油水分离后得优油、中油和重油。从塔底连续放出松香。塔底温度一般为190~200℃。
❷二塔三段。净制脂液经预热后进入第一塔,塔分两段,上段蒸出优油与水的混合蒸汽,经冷凝后得优油;下段蒸出中油、重油与水的混合蒸汽,经分凝塔分离中油和重油。塔底放出松香。
❸一塔二段。蒸馏塔分隔成两段,上段蒸出优油与水的混合蒸汽,下段蒸出重油与水的混合蒸汽,分别冷凝和油水分离后得优油和重油,塔底放出松香。松脂中不含高沸点油分时可采用一个塔,亦不分段,蒸出全部优油,塔底温度亦可降低。
连续蒸馏塔一般为板式塔,采用浮阀塔较多。每一塔段底装有直接水蒸气喷管,喷出过热水蒸气,温度在300~350℃,每块塔板上装有水蒸气加热盘管,以加热脂液,供给松节油气化所需热量。各级松节油和水的混合蒸汽由换热器冷凝冷却。可用浮头式列管换器或较高效的螺旋板换热器。在换热面积较小时,可用盘管换热器。
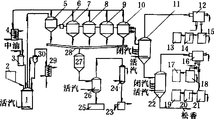
间歇水蒸气法 分三个工序间歇进行,其原理和工艺条件与连续水蒸气法基本相同。间歇水蒸气法马尾松松脂加工工艺流程如图2。松脂从螺旋输送机进入料斗,经密闭加料阀间歇流入熔解釜,以直接水蒸气加热熔解后的脂液用水蒸气压入过渡槽。熔解时逸出的松节油和水的混合蒸汽经气液分离器和换热器回收。熔解脂液在过渡槽贮留10分钟后经过滤器流入澄清槽组(7、8、9、10)澄清。澄清脂液从澄清槽(10)分次流入一级蒸馏釜,蒸出优油和水的混合蒸汽,经换热器(12)冷凝、油水分离器分层和盐滤器(14)除去残水,优油由贮槽送往油库。蒸完优油的脂液分次流入二级蒸馏釜,按温度先后蒸出中油、重油,中油和水的混合蒸汽经换热器(16)冷凝、油水分离器分出的中油由贮槽泵往加油罐作熔解松脂用。重油和水的混合蒸汽经换热器(16)冷凝、油水分离器分层和盐滤器除残水,除水重油经重油贮槽送往油库。过渡槽和澄清槽逸出的松节油蒸汽经换热器冷凝流入加油罐回收。澄清时的中层脂液经排渣槽在中层脂液澄清槽再澄清后于喷提锅回收松节油,并蒸煮黑松香。

图2 间歇水蒸气法松脂加工工艺流程
1.熔解釜;2.料斗;3.加油罐;4.换热器;5.过渡槽;6.过滤器;7、8、9、10.澄清槽;11.一级蒸馏釜;12、16.螺旋板换热器;13.优油贮槽;14.优油盐滤器;15.优油油水分离器;17.中油贮槽;18.中油油水分离器;19.重油贮槽;20.重油盐滤器;21.重油油水分离器;22.二级蒸馏釜;23.油水分离器;24.换热器;25.黑香槽;26.喷提锅;27.中层脂液澄清槽;28.排
渣槽;29.换热器;30.气液分离器


松脂间歇熔解每次加料量按30分钟生产能力计算。间歇式熔解器为直立圆锥形,用不锈钢板焊制,也有用普通钢板内衬混凝土制成。直接水蒸气喷管设于底部,喷管上面有筛板。松脂熔解后,由熔解釜上部通入水蒸气(2~3千克/平方厘米),将脂液从底部压出,送至净制工序。较大的杂质留在筛板上,定期从出渣口清除。净制的工艺流程和设备与连续法相似。为了防止从熔解釜压送脂液时对澄清槽中脂液的搅动,在澄清槽前设一过渡槽,有效容积为一次熔解脂液的量。有的工厂在澄清槽后设一澄清脂液过渡槽,计量蒸馏一次的脂液,用水蒸气压送至一级蒸馏釜。马尾松松脂间歇水蒸气法蒸馏分二级或三级进行,一级蒸馏釜蒸出优油,二级蒸馏釜蒸出中油、重油,最后放出松香。或在一个蒸馏釜中分三个阶段蒸出优油、中油、重油。通常进料温度在85℃左右,加热至150~155℃前蒸出优油,175℃前蒸出中油,185~200℃前蒸出重油。蒸馏釜为不锈钢制圆筒体,下部设有间接水蒸气管加热脂液和一定数量小孔的直接水蒸气喷管,通入300~350℃过热直接水蒸气蒸出松节油。松脂中不含高沸点油分时只用一级蒸馏,在180℃前将松节油全部蒸出。
简易加工法 有滴水法、双釜滴水法和简易水蒸气法3种。
滴水法 将松脂装入蒸馏釜内,用直接火加热,以滴入水的方式产生水蒸气蒸出松节油。蒸馏釜由不锈钢板或铝板焊制,炉灶用砖砌成。松脂入釜后,炉灶开始生火,先蒸出部分轻油。当釜内温度上升至一定温度时,经转子流量计计量滴水,调节水量和温度先后蒸出优油、中油、重油,经冷凝后分别收集。釜内放出的松香,以两层不锈钢(或铜)网夹脱脂棉过滤,除去杂质,再进行包装。滴水法加工所需设备简单,投资少,对动力要求不高,设于靠近采脂林区,松脂可及时加工,减少运输过程中松节油的损失及松香的氧化。由于用直接火加热,松香质量不稳定,且易酿成火灾。
双釜滴水法 在单釜生产的同一灶上方增设一熔解釜,利用烟道气的余热,对松脂进行预热、熔解,然后借高位差使熔解的松脂经过滤后,间歇流入蒸馏釜中,进行蒸馏。双釜生产比单釜生产缩短加工工时,降低燃料用量,杂质在蒸馏之前滤去,可以提高产品质量,生产也比较安全。
简易水蒸气法 又称小蒸汽法。该法不用直接火加热,而用过热水蒸气,兼作解吸介质。是双釜滴水法的改进。其特点是: 在松脂质量较好时,可不加松节油熔解,也不设澄清工序,并免去残渣处理设备。蒸馏过程中过热水蒸气二次利用,用轮蒸法分别蒸出优油和中油、重油。比直接火法安全。
产品处理 ❶松香包装: 连续蒸馏塔生产的松香可直接从塔底经管道输入包装场,灌装于镀锌铁皮桶内,每桶松香净重225~230千克。如输送管道过长,可用水蒸气夹套保温。间歇水蒸气法或简易加工法放出的松香,先装入铝板制的槽(车),然后分装于桶中。装桶时应取样检验松香的质量。装满松香的铁皮桶用包装车分运至包装场冷却,桶间应保持一定距离,以利散热。松香全部固化约需3昼夜。冷却后的松香经结晶检查合格才能入库。
❷松节油的收集: 从蒸馏设备蒸出的各类松节油和水的混合蒸汽,通过换热器冷凝和冷却,进入油水分离器分离水分。优油和重油再经盐滤器除去所含乳状水分即得产品优级松节油和重质松节油。
❸松香结晶: 结晶影响松香质量,松香晶体熔点较高,可达110~135℃,难于皂化,降低松香使用价值。严重结晶的松香为等外品。中国马尾松松脂中枞酸型树脂酸含量较多,加热过程中发生异构,造成单一树脂酸组成含量过高而出现结晶现象。蒸馏温度较低,放香后冷却较快,长叶松酸含量较多时,易产生低温结晶。蒸馏温度过高,时间较长,异构剧烈,形成大量枞酸,易产生高温结晶。加热温度适当、冷却过程合理、长叶松酸和枞酸的含量比例适当时,结晶趋势最低,不易产生结晶现象。晶体在105~120℃时成长速度最快,在熔融松香冷却过程中,通过这段温度区域时间过长时,也易产生结晶现象。水分对晶体的形成也有较大的影响,松香含水率在0.15%以上者易结晶。包装冷却过程中,如有晶种存在,也会引起松香结晶。松香包装时,液香流槽内常有白色的混浊物,放香时这种白色混浊物被热香带入包装桶,难被热香熔化而悬浮在液香中,充当晶种而引起松香结晶。热香冷却过程中,受到振动,亦易引起结晶。防止松香结晶必须综合考虑到上述各方面的因素。如: 根据原料的组成特性,确定适宜的蒸馏温度和时间以及冷却条件,以控制松香中树脂酸的异构程度,使结晶趋势最小; 注意冷却环境,使松香较快地通过由40℃冷到80℃这一降温过程; 保证过热水蒸气的干度和温度,降低松香含水率; 保持松香包装工段的清洁,勿使晶体带入包装桶等。
趋势 中国随着工业的发展,国民经济许多部门对松香质量的要求日益提高,在国际市场上尤应努力提高松香质量,以加强竞争能力; 水蒸气蒸馏法松脂加工将得到进一步发展; 采用高真空蒸馏新工艺生产高酸值高软化点浅色松香,以满足用户的特殊需要。

松脂加工processing of pine oleoresin

用水蒸气蒸馏方法将松脂分离为松节油和松香的过程。松脂中挥发性的萜烯类物质为松节油,非挥发性的树脂酸熔合物为松香。按加热方式不同,加工方法有蒸汽加工法和滴水法两种。蒸汽加工法又有连续式和间歇式之分,为大、中型工厂所采用。松脂首先熔解,除去粗大杂质;再经澄清净制,除去细小杂质和水分,然后经水蒸气蒸馏而得松香和松节油。滴水法则在滴加清水的条件下煮炼松脂而得松香、松节油产品。此法简易可行,松脂就地加工,可避免原料运输损耗和氧化变质。但蒸汽法加工的产品品质好,原料利用率高,生产安全可靠。

随便看

 

离鸟网收录3541549条中英文词条,其功能与新华字典、现代汉语词典、牛津高阶英汉词典等各类中英文词典类似,基本涵盖了全部常用中英文字词句的读音、释义及用法,是语言学习和写作的有利工具。

 

Copyright © 2004-2024 vtrois.com All Rights Reserved
更新时间:2026/4/18 10:09:58