网站首页  词典首页


请输入您要查询的字词:

 

字词 木丝板
类别 中英文字词句释义及详细解析
释义

木丝板wood wool board

条状木丝与无机矿物质如石膏、菱苦土或水泥拌和后经成型、加压而制成的人造板。无机矿物质在板材中既是胶结材料,又是成板物质。
概况 用作包装衬垫材料的木丝出现甚早。制造木丝的机器于1885年在德国制成,到1928年,商品性的水泥木丝板开始进入市场。二次世界大战之前,德国曾用39%水泥、35%菱苦土、26%石膏作为木丝板的胶结剂。战后水泥渐多,欧美各国就单用水泥制造水泥木丝板。1941年奥地利建成一个具有典型工艺流程的海拉克利特(Heraklith)法的工厂,是为水泥木丝板工业化生产的开始。欧洲的木丝板生产在20世纪60年代后,因占木丝板总成分40~50%的木材价格上涨,又面临刨花板、泡沫塑料、绝缘板等产品的竞争而逐渐萎缩,趋于淘汰。中国在40年代就有水泥木丝板工厂,50年代产量日增,产品大部用于建筑工程。
木丝板生产工艺比较简单,用途较广,尤其适用于热带、亚热带地区。在20~60年代木丝板盛行于国际市场。非洲及东南亚国家如缅甸、马来西亚、斯里兰卡等都建有木丝板工厂。印度在1975年木丝板产量达60万吨。在欧洲,法国、瑞典均有木丝板生产工厂。联邦德国已建成全自动化的木丝板生产企业,生产单层、二层、三层结构的木丝板;二层以上的产品系水泥木丝板与聚苯乙烯类泡沫塑料复合成板。

图1 平刨刀木丝机工作原理
a.工具架;b.木段;c.纵切刀;
d.平切刀;s.木丝厚度


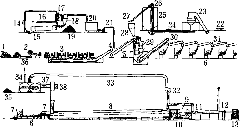
生产方法 制造木丝是用刨木丝机。刨切方式有平刨式(图1)与梳刨式。所产木丝大量用作包装衬填。木丝板制造用的木丝规格为:粗木丝,长100~300毫米,宽5毫米,厚0.3~0.5毫米;细木丝,长度、厚度与粗木丝同,宽度为1.5毫米。中国木丝板所用木丝规格为:长200~300毫米,宽3~6毫米,厚0.2~0.5毫米。木丝板生产工艺多种多样,而以上述工艺为基础所形成的生产流水线具有代表性者为奥地利的海拉克里特法,其流程见图2。该法以菱苦土(MgCO3)为原料,经过煅烧,一部分失去CO2,成为MgO,作为粘合剂。木丝刨出之后由条板运输带输送到与菱苦土搅和的搅拌机中,而在条板运输带上方则喷以硫酸镁溶液,多余的溶液则滤去。当菱苦土与木丝中预先喷洒在木丝上的硫酸镁接触后,很快就会凝固。成型带上方分很多料斗下料,铺成的板坯在一个长30米的压力运输带中一边加压,一边在炉道中行进。炉气温度达400℃,经过10分钟,菱苦土即固化。由于各地的菱苦土成分不尽一致,且木材的化学成分对木丝与菱苦土的粘合力也有很大影响,所以这种板材的性能很难达到一致。

图2 海拉克里特法生产木丝板工艺流程
1.木材;2.横截锯;3.木丝机;4.喷溶液;5.条板运输机;6.成型带;7.油;8.热炉道;9.记录; 10.驱动装置; 11.干燥器;12.锯;13.板堆;14.泵;15.溶解筒;16.热水输入;17.搅拌器;18.分液漏斗;19.硫酸镁矿石;20.溶液槽;21.泵;22.菱苦土;23.矿石粉碎机;24.螺旋运输机;25.菱苦土粉贮仓;26.斗式提升机;27、振动筛;28.料仓;29.搅拌器;30.计量运输带;31.分配设备;32.回气风机;33.回气管;34.热水锅炉;35.煤;36.热水;37.炉气;38.风机


性能与用途 水泥木丝板性能:密度0.35~0.85克/立方厘米,静曲强度0.5~4.2兆帕,导热系数0.06~0.07千卡/米·小时·℃;菱苦土木丝板性能:密度0.45克/平方厘米,静曲强度3.0兆帕,导热系数与水泥木丝板大致相同。木丝板是一种轻质建筑材料,大都用于高层建筑或一般建筑中墙体、吊顶等。由于它隔热性能优良,所以又作轻型隔热材料之用。木丝板又具有防白蚁、啮齿类动物及真菌的侵害及耐热、耐燃等性能,在热带及亚热带地区,常用作遮阳板,通风过道及屋顶构件。

木丝板

用条状木丝与无机矿物质合成的人造板。1885年德国研制出木丝机,1928年水泥木丝板进入商品市场。欧洲于20世纪60年代后逐渐淘汰。中国于40年代开始生产。木丝规格为:粗木丝100~300 mm长,5 mm宽,0.3~0.5 mm厚;细木丝长、厚与粗木丝相同,宽1.5 mm。

木丝板

又称“木花板”。用木丝、水泥、硅酸盐等拌匀,经加压凝固而制成的一种人造板。具有隔音、绝热、防蛀、抗燃等优点。可作大型建筑的隔音板等。

随便看

 

离鸟网收录3541549条中英文词条,其功能与新华字典、现代汉语词典、牛津高阶英汉词典等各类中英文词典类似,基本涵盖了全部常用中英文字词句的读音、释义及用法,是语言学习和写作的有利工具。

 

Copyright © 2004-2024 vtrois.com All Rights Reserved
更新时间:2026/4/20 14:04:37