网站首页  词典首页


请输入您要查询的字词:

 

字词 无菌培养试验
类别 中英文字词句释义及详细解析
释义

无菌培养试验sterile culture experiment

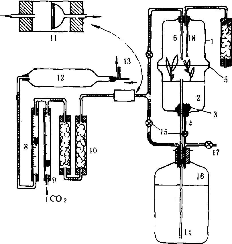
在无微生物活动条件下保持所研究成分不变的关于植物营养原理的试验。氨基酸形态的含氮化合物或有机磷化合物能否被根系直接吸收,必须在无菌条件下试验。可分为整株无菌培养和局部无菌培养。无菌培养技术要求严格。试验需在无菌室中进行,应杜绝每个环节发生微生物沾染的可能性。先要进行种子灭菌,通过用1%溴水、12%双氧水、0.25%~1%二氯化汞溶液处理种子。所用的容器、盆钵、导管、砂、营养液等材料都需经高压灭菌,并在试验过程中要严格检验无菌条件。但所研究的有机营养物质不应采用高压灭菌以免发生变化,应采用近代膜技术过滤以保持无菌条件。整株无菌培养装置如图1所示。局部无菌培养主要是根部处理在无菌环境中。图2为种苗及根系生长装置的放大详图。各种气体及灌溉都经过严密过滤,以保持无菌条件。


图1 整株无菌培养装置


1.4加仑硬质玻璃环套筒;2.砂;3.排水管上面的玻璃棉;4.通向贮液瓶的排水管;5.垫圈;6.空气导管;7.空气输入棉绒过滤管;8.空气输入转子流量计;9. CO2输入转子流量计;10.空气输入的玻璃棉和棉绒过滤器;11.空气输入微孔过滤器; 12.匀压瓶;13.过剩空气排出口 ; 14.溶液导管;15.活塞;16.贮液瓶;17.无菌检测取样阀;18.温度计



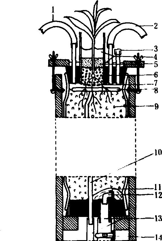
图2 种苗及根室详图


1.至CO2采集器;2.主贮液瓶;3.备用管;4.密封层;5.石蜡—砂;6.蛭石;7.塑料筛;8.喷灌装置;9.根系介质;10.引水管;11.玻璃棉;12.回液与通气管;13.橡胶管;14.灌水开关

随便看

 

离鸟网收录3541549条中英文词条,其功能与新华字典、现代汉语词典、牛津高阶英汉词典等各类中英文词典类似,基本涵盖了全部常用中英文字词句的读音、释义及用法,是语言学习和写作的有利工具。

 

Copyright © 2004-2024 vtrois.com All Rights Reserved
更新时间:2026/4/20 4:32:08