排氧装置
排氧装置是在加压舱内吸纯氧(或混合气)时,将呼出气体直接排出舱外的设备。
为满足高压下吸氧的需要,加压舱内均装有供氧装置。如采用开式供氧装置,舱内氧浓度将不断增高,易引起燃烧,发生火灾等危险。为了避免这类事故,必须控制舱内氧浓度不使超过25%。排氧通常有下述几种方法:
通风换气法 通过进气阀向舱内注入新鲜压缩空气的量与通过排气阀排出舱外的气量相等,使舱内气体成分得到更新。降低了舱内氧浓度而舱压不变。此方法需要大量的压缩空气。
收集排气法 是在加压舱内装有呼出气体的收集袋,经面罩和呼气软管将呼气袋充到一定程度时,通过断流阀或安全排气阀向舱外排气。
喷射排气法 是在呼吸面罩上装有两根软管,呼气软管通过收集管路与收集容器相连,收集容器与充有舱内空气的喷射器相连,利用Venturi原理,以舱内空气作喷射源,在空气向外喷射时将呼出的混合气体带出舱外。
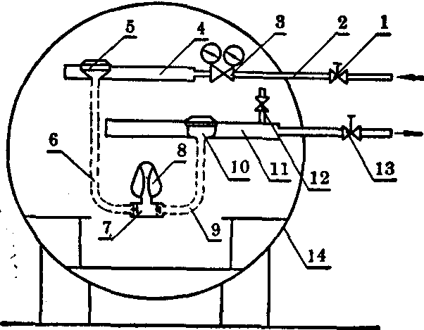
自动排气法 是由特殊膜片式自动排氧调节器等组成的排氧装置。其安装配置见排氧装置示意图:

排氧装置示意图
1.供氧截止阀 2.供氧管路 3.氧气减压阀 4.缓冲管 5.供气调节器 6.吸气软管 7.呼吸阀箱 8.呼吸面罩 9.呼气软管 10.排氧调节器 11.排氧管 12.衡压阀 13.排氧截止阀 14.加压舱
此装置的主要部件是排氧调节器。通过呼气软管连接装有呼吸阀箱的面罩,经吸气软管与供氧装置的供气调节器相连接,每人一套。为了减少加压舱壁上的开口,在舱内与供氧装置缓冲管平行安装一根大口径(内径30mm以上)的排氧管,舱壁上只开一个孔使排氧管穿出舱外,舱外连接一个口径较大的截止阀,可以减小排气阻力。在排氧管上安装与供气调节器相对应的排氧调节器 (相距10~30cm)。目前这是一种较理想的排氧装置。其工作原理,见排氧调节器结构图:
呼气时,阀箱的呼气单向阀打开,气体通过呼气软管进入排氧调节器内腔,其压力大于舱内环境压力20~50mmH2O时,使膜片向外凸起,拉动了排气阀杆,使排气阀头离开阀座,于是呼出气体进入排氧管而被排到加压舱外。呼气末期排氧调节器内腔压力与舱压相等,在弹簧力的作用下,排气阀杆拉动膜片向内凹陷,使排气阀头与阀座紧密相接,停止排气。吸气时,阀箱的吸气单向阀打开,氧气通过供气调节器供给。
使用此装置时,先将衡压阀关闭,然后打开舱外的截止阀。可根据机体的呼吸频率和幅度随时排氧。在加压过程中不使用此装置时,则舱外的截止阀关闭而将排氧管上的衡压阀打开,使排氧调节器的排气阀头两边的压力平衡,以免因舱内压力变化过大而损坏。

排氧调节器结构图
1.接吸气软管 2.吸气单向阀 3.呼吸面罩 4.呼气单向阀 5.呼气软管 6.膜片 7.排气阀杆 8.排气阀头 9.弹簧 10.阀座 11.排氧管