网站首页  词典首页


请输入您要查询的字词:

 

字词 头颅x线计算机体层扫描(ct)
类别 中英文字词句释义及详细解析
释义
头颅X线计算机体层扫描(CT)

头颅X线计算机体层扫描(CT)

X线计算机体层扫描简称CT,是通过两种方式显示肿瘤:
❶脑瘤与周围组织的密度对比;
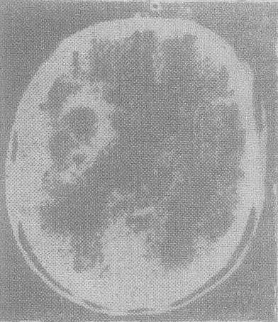
❷正常结构 (如脑室)的移位和变形。CT扫描对密度分辨能力比普通X线照片约强100倍,能够直接显示脑组织与脑室之间的自然密度对比,也能显示脑肿瘤与脑组织之间的密度对比,由此可将脑瘤密度与正常脑组织密度比较区分为低密度、等密度和高密度三类。此外还可经静脉滴注大剂量造影剂,以增强密度对比。亦可将脑瘤区分为“增强”后密度显著增高与“增强”后密度无增高两类,前者多为血运丰富的实质性肿瘤,后者多为囊性或血运不丰富的肿瘤。恶性胶质瘤(星形细胞瘤Ⅲ~Ⅳ级)通常显示为密度减低区,也可能呈中心半透明区,四周被一层密度较高的环形区域围绕着,该区域的周围又有一圈密度减低带是周围脑水肿所致。环形密度增高区可因静脉滴注造影剂而得到增强,中央透亮区由坏死和液化肿瘤组织构成,因此不会得到“增强”(图1)。这种表现也可以出现在转移瘤和脑脓肿,常难以鉴别。恶性胶质瘤也可以表现为不规则的密度增高和减低混合区,极少数肿瘤囊腔内有出血时可显出液平面。此外少数恶性胶质瘤可表现为均匀密度增高区,外周围绕着密度减低的脑水肿带。低度恶性的胶质瘤(Ⅰ~Ⅱ级)较常表现为密度增高区,如有囊性变,则在囊肿部位出现密度减低阴影,或显示肿瘤囊腔的一侧壁有突出的肿瘤结节。有时还能在肿瘤区发现病理钙斑。


图1恶性胶质瘤之CT表现


脑膜瘤通常表现为局部的高密度区或与脑组织等密度,但可以被造影剂显著增强。脑膜瘤与周围脑组织密度对比不显著时,脑水肿区可单独显影,以致被认为是低密度肿瘤,这种情况只有经过造影剂增强才能澄清(图2)。


图2脑膜瘤之CT表现


转移瘤似恶性胶质瘤一样,表现为密度减低多于密度增高,低密度转移瘤趋向有比恶性胶质瘤更为清晰的边界,但这种差别并不显著。转移瘤也经常发生中央坏死,因此同样会出现中央透亮区,并可被造影剂所增强而呈现环状密度增高阴影。转移瘤最特征的表现是在颅内发现多个分散的病灶,这些病灶在同一个病人可有不同的密度,是确定诊断的可靠依据。
蝶鞍区肿瘤如为实质性垂体瘤向鞍上发展,可与周围脑脊液形成对比,呈现为密度相对增高的肿瘤阴影 (图3)。鞍内型垂体瘤则必须使用高分辨率扫描机,而且最好采用冠状面断层,以便测量垂体的大小或鞍底上方软组织厚度,能够早期发现直径小于1cm的小型垂体腺瘤。颅咽管瘤可有三种表现:
❶能被造影剂增强,
❷多有囊变和
❸钙化。在小儿鞍区肿瘤当中,上述三个征象中出现任何二种即可明确诊断。在成人则需与脑膜瘤和垂体瘤鉴别,后者几乎不发生钙化。


图3 垂体肿瘤之CT表现


松果体区肿瘤如为畸胎瘤则因含有脂肪成分或含有密度增高的物质成分,故可表现为密度减低与密度增高相混杂的不均匀区域。松果体瘤是高密度病变,与周围脑室、脑池可形成鲜明对比,肿瘤轮廓清晰,此外常伴随高度扩张的侧脑室和第三脑室,诊断常无困难。
颅后窝肿瘤的髓内与髓外肿瘤的鉴别是困难的,最有帮助的征象是髓外肿瘤推挤脑皮质离开颅骨,但这种征象的出现率不高。冠状断层可能发现这一征象。断层扫描还可显示局部骨质破坏以及肿瘤与小脑幕或颅骨的阴影相延续,如有此种现象,则也可间接证明为髓外肿瘤。成髓细胞瘤和室管膜瘤多是高密度病变,它们与第四脑室的关系可以显示得十分清楚,并可为造影剂所轻度增强。钙斑则有时见于室管膜瘤。脑干胶质瘤多发生在小儿,普通CT可表现为各种密度,但以低密度病变居多,亦可为造影剂增强。脑干胶质瘤偶会发生囊变。小脑血管网状内皮瘤的典型表现为低密度囊性病变合并一个实质性的肿瘤结节,肿瘤实质部分可被造影剂增强,囊的形状与囊性星形细胞瘤、蛛网膜囊肿或表皮样囊肿没有不同,但它有时可能为多发性的。可有家族史及红细胞增多症,均有助于鉴别诊断。听神经瘤的CT诊断已成为早期诊断的重要手段。直径在1.5~2cm大小的听神经瘤多数能用CT正确诊断出来。其表现有:病侧内听道骨质破坏或开口扩大,普通CT扫描多数显示肿瘤为等密度。但用造影剂增强后,90%可清楚地显示出圆形肿瘤阴影及它与内听道之间的关系(图4)。


图4 听神经瘤之CT表现


脑肿瘤的CT图像需与下列情况相鉴别:
❶颅内血肿,急性颅内血肿表现为境界清晰高密度区,亦可合并有周围脑水肿带。但追踪观察可发现随着血肿的液化,局灶区密度逐渐减低,终于达到与脑实质密度相等,或成为低密度病变。
❷脑梗死为低密度病变,加强后可因造影剂使周围正常脑组织密度增高而显影更清楚,但病灶周围没有环状密度增高区。
❸脑脓肿发展的过程可分为3期: 第1期为不规则的密度减低区,周围没有明确境界,但有显著的占位作用(如有脑室变形移位)。第2期可有很清楚的边界,但没有形成明显的囊壁。第3期中心密度减低,出现周围有密度较高的囊壁,可伴有明显的脑水肿区。
☚ 放射性核素脑扫描   脑血管造影术 ☛
00011007
随便看

 

离鸟网收录3541549条中英文词条,其功能与新华字典、现代汉语词典、牛津高阶英汉词典等各类中英文词典类似,基本涵盖了全部常用中英文字词句的读音、释义及用法,是语言学习和写作的有利工具。

 

Copyright © 2004-2024 vtrois.com All Rights Reserved
更新时间:2026/4/17 19:40:36