网站首页  词典首页


请输入您要查询的字词:

 

字词 喷杆喷雾机
类别 中英文字词句释义及详细解析
释义

喷杆喷雾机boom sprayer

用装有喷头的喷杆喷洒药剂的喷雾机。喷杆的类型有水平横喷杆、竖喷杆和吊挂喷杆;按其与拖拉机的配套方式分为悬挂式和牵引式两大类。
发展概况 19世纪30年代,在欧美就出现了由畜力牵引的喷杆喷雾机;20世纪初拖拉机推广应用后,又相继出现了拖拉机牵引和悬挂的水平横喷杆式喷雾机;40年代末开始发展用于果树病虫害防治的悬挂竖喷杆式喷雾机。中国于50年代末开始研制用于棉花病虫害防治的悬挂吊挂喷杆式喷雾机,即在水平横喷杆上按照作物行距,每个作物行间设置一根吊挂喷杆,可对棉株的上、中、下各层及叶子的背面同时喷雾。70年代以后,又相继研制成一些由大中型拖拉机牵引的喷杆喷雾机,用于大田作物的化学除草,同时兼顾中耕作物的病虫害防治。在欧美及日本等发达国家中,悬挂式和牵引式喷杆喷雾机已形成系列产品。悬挂式系列的药液箱容量大致为300~1 500升,喷幅大致为6~12米;牵引式系列药液箱容量大致为400~4 000升,喷幅大致为10~24米。个别大型牵引式喷杆喷雾机的喷幅达27~36米。
类型与结构 喷杆喷雾机有悬挂式和牵引式两种。其工作部分主要由药液箱、液泵、喷杆、喷头、调压阀等组成。图1为悬挂式喷杆喷雾机结构,图2为牵引式喷杆喷雾机结构。药液箱内设有防止药液沉淀的
液力搅拌器。常用液泵有柱(活)塞泵、隔膜泵、滚子泵、离心泵等。水平横喷杆采用桁架式结构,分几段组成,可以折叠,折叠方法有人工折叠和液压缸折叠两种。常用喷头为圆锥雾喷头和扇形雾喷头(见液力喷头),且大都带有防滴装置,其结构型式为球阀式或隔膜式单向阀。

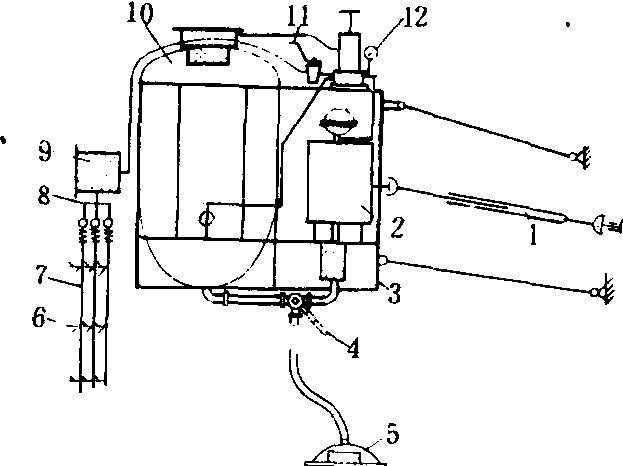
图1 悬挂式喷杆喷雾机结构示意图

1. 传动轴; 2. 液泵; 3. 悬挂架; 4. 吸水头; 5. 三通开关; 6. 喷头; 7. 吊挂喷杆; 8. 水平喷杆;9. 搅拌器; 10. 药液箱;11. 调压阀; 12. 压力表

图2 牵引式喷杆喷雾机结构示意图

1. 底盘; 2. 液泵; 3. 牵引杆; 4. 传动轴; 5. 调压阀; 6. 压力表; 7. 药液箱; 8. 搅拌器; 9. 液压升降机构; 10. 喷杆; 11. 喷头


工作原理 悬挂式与牵引式喷杆喷雾机的工作原理基本相同。通常由拖拉机的动力输出轴驱动液泵工作,将药液箱中的药液以一定的压力通过控制阀和输液管路输往喷杆,当喷头处的喷雾液体压力达到预定值时,防滴装置便自动开启,药液从喷头喷出,形成雾滴喷向目标物。喷雾压力的高低由调压阀进行调节。喷雾量的大小可通过调节喷雾压力或更换不同孔径的喷头进行调节。当喷雾机在地头或地中间停喷,喷头处的喷雾液体压力小于预定值时,防滴装置便自动关闭,从而起防滴作用。药液箱的加水一般由同一液泵进行,但在有些大型牵引式喷杆喷雾机上,增设一台流量较大的离心泵,专用于给药液箱加水。喷雾机作业时喷杆的离地高度通过机械式或液压式调节机构进行控制。喷杆在水平方向的平衡,靠自动平衡机构来实现。在两侧端喷杆与中段喷杆之间,设有弹性自动回位机构,在作业过程中,当两侧端喷杆越过田间障碍物之后,能够自动返回原来位置。在喷幅大于12米的喷杆上,通常还设有机械式或电子式自动仿形机构,以保证作业时喷杆相对于地面的距离基本不变。
动向 喷杆喷雾机正向喷量自动控制,同步喷洒,喷杆液压升降和液压折叠,作业参数自动控制,自动显示,安全高效,节能低耗和降低使用成本的方向发展。80年代已开始在机具上安装各种作业参数显示仪表,以便随时了解喷雾机组的作业速度、单位面积上的喷液量、累计作业面积、小时生产率等作业数据,供操作者监视、分析,以利于保证作业质量。为解决喷杆喷雾机相邻喷幅之间的交接处易产生重喷或漏喷现象,已设计在喷杆末端喷洒有色液体或泡沫剂,或在喷杆两端吊挂带重物的划印器等。
随便看

 

离鸟网收录3541549条中英文词条,其功能与新华字典、现代汉语词典、牛津高阶英汉词典等各类中英文词典类似,基本涵盖了全部常用中英文字词句的读音、释义及用法,是语言学习和写作的有利工具。

 

Copyright © 2004-2024 vtrois.com All Rights Reserved
更新时间:2026/4/19 19:31:27