网站首页  词典首页


请输入您要查询的字词:

 

字词 含氟废气净化
类别 中英文字词句释义及详细解析
释义
含氟废气净化

含氟废气净化

在电解铝、炼钢、铸造、磷肥、磷酸等工业生产中,均排出大量的氟化氢和四氟化硅等气体,严重污染大气环境,对含氟气体治理需采取净化和回收利用综合措施。净化措施有湿法和干法两种。湿法净化,采用液体吸收,应用较普遍。干法净化利用沸腾床、流动床等化学吸附法吸收,目前仅用于氧化铝等生产过程。
湿法净化 一般用水、碱液、氨液等作吸收液吸收氟化氢和四氟化硅后生成氟氢酸、氟硅酸、氟化钠、氟硅酸钠和氟化铵等,它们可进一步加工制成各种副产品。由于各种生产的工艺、规模、废气特征不同,采用净化回收的流程和装置不完全相同,大体上整个流程可分为含氟废气收集、除尘、吸收及回收利用等过程,图1是电解铝车间含氟气体的净化系统。由排气罩收集的含氟烟气,经除尘器除尘,然后进入吸收塔吸收,净化后的气体由排气筒排放,贮液槽的含氟溶液达到一定浓度后即送至回收装置加工成各种副产品。


图1 电解铝车间含氟气体净化回收系统
1.电解铝槽2.排气罩3.除尘器4.吸收塔5.排气筒6.贮液槽


高炉法生产的钙镁磷肥,铸造车间冲天炉以及磷酸生产过程中排出的含氟气体的净化流程基本相同,除尘器多用重力除尘器或旋风除尘器,吸收装置多用喷淋塔、旋风洗涤器、喷射式洗涤器、文丘里洗涤器等,一般氟的净化效率可达到80%以上。
普通过磷酸钙生产中排出的含氟气体,其中粉尘和其他杂质较少,在净化流程中不需除尘,直接进入清水吸收装置。吸收装置多用拨水轮吸收室、湍球塔、喷射式洗涤器、文丘里洗涤器等。为了提高氟的净化效率,多是几级串连使用,如拨水轮吸收室和湍球塔二级串连,拨水轮吸收室、文丘里洗涤器和湍球塔三级串连。上述装置氟的净化效率均可达到95%以上。


图2 普通过磷酸钙生产排出含氟气体净化装置工艺流程
1,2拨水轮吸收室3.除沫器4.湍球塔或喷射式洗涤器5.风机6.循环槽7.循环泵8.贮液槽


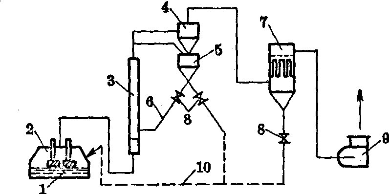
干法净化 主要对吸附性强的固态氧化铝进行化学吸附,生成氟化铝,含有氟化铝的氧化铝重新返回电解槽作为炼铝的材料。干法吸附所用的吸附器有固定床和流动床等形式。图3是电解铝车间含氟废气干法净化装置的工艺流程。


图3 电解铝车间含氟废气干法净化装置工艺流程
1.铝电解槽2.排气罩 3.吸附反应管 4.旋风分离器5.料仓6.加料管7.袋式过滤器8.漏斗阀 9.风机10.回料管


干法吸收效果好,氟化氢的净化效率可达98%以上。由于氟化铝可再用于生产,实现了有害物质的闭路循环,不产生废渣和废水,故此法是较为理想的一种治理途径。
☚ 含氮氧化物废气净化   含氯废气净化 ☛
00012601
随便看

 

离鸟网收录3541549条中英文词条,其功能与新华字典、现代汉语词典、牛津高阶英汉词典等各类中英文词典类似,基本涵盖了全部常用中英文字词句的读音、释义及用法,是语言学习和写作的有利工具。

 

Copyright © 2004-2024 vtrois.com All Rights Reserved
更新时间:2026/4/19 22:47:09