网站首页  词典首页


请输入您要查询的字词:

 

字词 可能蒸散计
类别 中英文字词句释义及详细解析
释义

可能蒸散计keneng zhengsanjipotentialevapotranspirometer

测定农田可能蒸散量的仪器。它是在保持土壤充分湿润的条件下进行测定的。1948年美国学者C.W.桑斯韦特提出可能蒸散的概念后,50年代初设计了一种可能蒸散计。后来英国J.R.马瑟等人先后作了多种改进。这类仪器在一些国家中广泛使用。在中国使用的供水式和注水式土壤蒸发器,其原理和构造与此很相似,均属可能蒸散计。
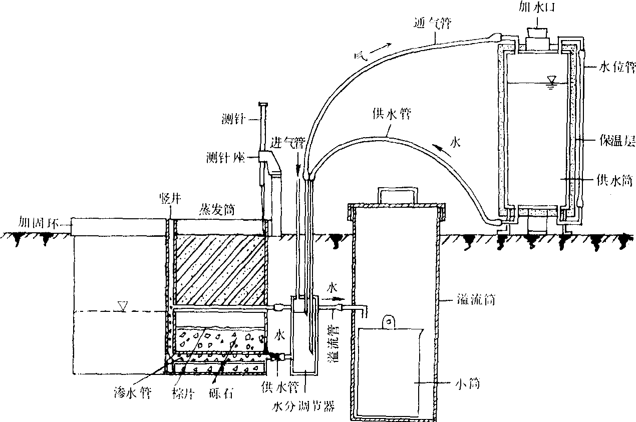
自动供水式土壤蒸发器 主要由蒸发筒、供水筒、水分调节器和溢流筒组成(如图)。蒸发筒内盛土样(取原状土或扰动土),里面栽种作物,其横截面积大小、形状和深浅不一, 可根据试验要求而定。供水筒是补给土壤水分用的贮水器,并附有水位标尺。水分调节器利用马利奥特管(Mariotte tube)或浮沉机械装置随着土面蒸发和植物蒸腾的变化自动对蒸发筒内土壤水分进行补给,其补给水量由供水筒的水位标尺读出。溢流筒用来收集通过蒸发筒内土体的渗漏水而测定渗漏量。
马利奥特管是图中进水管、通气管和进气管等三根管的总称。通气管直立部分的下端有一个45°的切口,一般情况下处于水面以下。当水面由于蒸发而降低时,切口便露出水面,由进气口传来的大气压力就可以通过通气管传递到贮水筒内,以迫使水分通过供水管而进入水分调节器内,使其水面回升,待通气管下端的45。切口被重新淹没时便停止供水,这就是一次自动供水过程。可能蒸散量:

E0=P+Q-Y

式中 为降水量或灌水量,Q为补给水量,Y为渗漏量。此仪器在筒体不深的情况下,由于土壤中毛细管上升水能够源源不断地供给蒸发,所以它实际上是测定保持一定潜水位的最大蒸发量,也称潜水蒸发量。它既可用于水田,也可用于旱田。
注水式土壤蒸发器 也是供水式蒸发器的一种,但构造较简单,只有蒸发筒和渗漏筒两部分。蒸发筒形状、大小、深浅不一,其底部呈锥形,并有一出水口, 由导管与渗漏筒相连接,用来排泄渗漏水。筒底铺一层砂砾石,其上填装土样,并使其保持田间持水量。使用时,每天用喷壶向蒸发筒土面注入一定量水,注水量根据土壤性质、作物种类和天气状况而定。最大蒸发量:

E=P+Q-Y

式中 P、Q、Y分别为降水量、注水量和渗漏量。此仪器在湿润地区和灌溉农田测定效果较好(见可能蒸散量)

自动供水式土壤蒸发器

随便看

 

离鸟网收录3541549条中英文词条,其功能与新华字典、现代汉语词典、牛津高阶英汉词典等各类中英文词典类似,基本涵盖了全部常用中英文字词句的读音、释义及用法,是语言学习和写作的有利工具。

 

Copyright © 2004-2024 vtrois.com All Rights Reserved
更新时间:2026/4/20 14:53:46