网站首页  词典首页


请输入您要查询的字词:

 

字词 反循环钻机
类别 中英文字词句释义及详细解析
释义

反循环钻机reverse circulation drilling machine

反循环洗井介质的转盘回转式水井钻机。它靠钻具的回转钻凿地层,洗井除岩屑采用反循环方法,即在钻进时,冲洗液自供水池(兼作沉淀和集渣用)通过井口和井内环状空间,以自流方式流入井底,然后夹带岩屑通过钻杆中空返回井口,并经水龙头和排渣管排至供水池,沉淀澄清后重新流入井内循环。
特点 钻进速度快。由于钻杆内冲洗液上升流速高,管路排渣能力强,井内岩屑、卵石可直接抽出井外,因此井底很少集聚岩屑,大大减少了二次重复碾磨和破碎次数。反循环钻进依靠冲洗液的静压和渗透压力保持孔壁稳定并可减轻泥浆对井内含水层的淤堵,因此洗井比较容易,成井后出水量较大。用这种方法还可连续取岩样,而且适合于在砂层、卵砾石层及软、硬岩层中钻进,但较少应用于坚硬岩石。
类型 按照形成钻杆内上升水流的方式,可分为泵吸反循环、压缩空气反循环(亦称压气反循环或气举反循环)和射流反循环三种基本形式。
泵吸反循环式 钻杆内带岩屑的泥浆上升是靠离心式砂石泵的吸力形成的,其原理如图1所示。冲洗液自沉淀池通过井口和钻杆外壁的环状间隙以自流方式流至井底。泥石泵将钻屑的泥浆从钻杆孔内抽吸到沉淀池,冲洗液经沉淀岩屑和澄清后重新流入井孔。
泵吸反循环排屑是靠砂石泵叶轮旋转时离心力的作用,使泵的吸水口和井口液面之间产生的压力差而提升输送冲洗液。因此,泵工作前必须排出泵和吸水管路内腔中的气体。在钻进过程中每次换接钻杆后都需要进行排气,排气的快慢直接影响泵的工作性能和钻进效率。泵的排气有两种方式,一种是用真空泵将砂石泵吸水管路内腔的气体直接抽出,越过水龙头弯管使两端井液相通。一般在钻深200米内适宜采用真空排气法。另一种是注水排气法,用注水泵的大量的高速水流将砂石泵及吸水管路内腔的气体经空心钻杆向下压,经钻头水口和钻杆外部的环状空隙陆续排出水面。一般采用砂石泵的流量为240~500米3/小时,有效吸水压力为60~70千帕。泵吸反循环钻进法适于在地下水位高、水漏失量较小的地层钻井。钻进效率在孔深50米以内时较高,但是当钻井深度加大或水漏失量较大时,容易产生供水量不足而使井孔内动水位降低,超过砂石泵的有效吸程时泵就不能正常工作,因此,深度加大时钻进效率下降。这种钻机经济合理的钻井深度为120米。

图1 泵吸反循环示意图


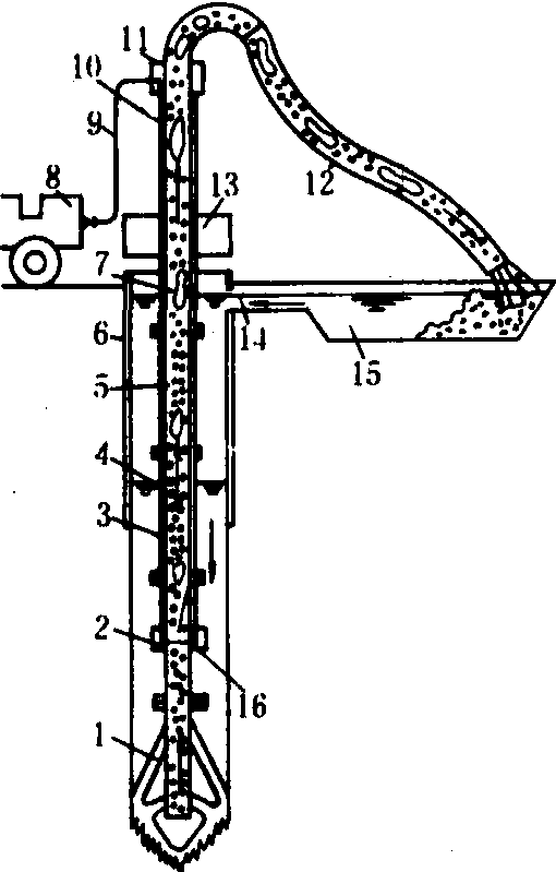
压缩空气反循环式 将压缩空气经送气管路送至钻杆下部的气水混合室,使其与钻杆内的水混合形成比重小的掺气液流,在钻杆外侧水柱压力的作用下,钻杆内掺气水流夹带岩屑不断上升并排出井外,因此它不用砂石泵,如图2。压缩空气反循环钻机的钻杆及输水管路内径一般较大,且没有断面收缩,排屑条件比较好。由于钻杆内水流的上升流速与钻杆内外液柱的比重差有关,当井深增大后,只要相应增加供气压力和气量,仍能保持较高的钻进效率,而且当孔壁漏失量增大,孔内水位下降较多时仍能正常工作,因此也能在漏水地层钻井。这种方法的缺点是空气混合室要有一定的浸没深度,所以距地表9米以内的部分需要用螺旋钻头或其他方式钻进,然后再用反循环钻进。钻杆内径不同,所配风量也不同。对应内径为120、150、200和300毫米的钻杆,一般分别配用4.6、6.6、10和15~20米3/分的风量。有效吸水压力一般为0.25~0.3兆帕。使用不同内径的钻杆可达到的钻深是:150毫米钻杆,钻深400米;200毫米钻杆,钻深500米;300毫米钻杆,钻深750米。
射流反循环式以喷射泵为循环动力,把泵的出水管接长到井下,压送水流通过喷嘴从下向上射入钻杆内,夹带岩屑形成上升水流经钻杆排出井外。水泵压力应能克服管路内的摩擦损失和自钻机水龙头到井内地下水位之间的水柱重量,一般取0.7~0.8兆帕。水泵流量视其钻井直径和钻杆内径而定,当井径为0.5~1.5米,钻杆内径为89~114毫米时,水泵流量为300米3/小时;当井径为0.3~0.5米时,流量可为120~150米3/小时。射流反循环的优点是管路布置易于从反循环改为正循环,这对处理堵钻以及井内水位突然下降时迅速向井内补水有利。另外水泵工作介质是清水,泵壳和叶片磨损小,但喷嘴在钻杆内形成断面收缩,减少了循环管路的自由通径,影响大粒直径卵石的排出。射流反循环在井深50米以内效率较高,随井深增加,钻进速度相应降低。最大钻深可达250米。

图2 压缩空气反循环示意图

1.钻头; 2. 气水混合室; 3.钻杆; 4.孔内动水位; 5.钻杆内充气上升水流; 6.孔口管; 7.大粒径石块; 8. 空压机; 9、10.供气管; 11.水接头; 12.排渣软管; 13.转盘; 14. 以自流方式流回孔内的水流; 15. 沉淀池;16. 喷射孔

反循环钻机countercirculating drilling rig

一种钻井方式与回转式钻井机相同,而泥浆的循环方式与回转式相反的钻井机械。泥浆在沉淀池沉淀后从井口流入井底,用砂石泵从空心钻杆中将泥浆、岩屑吸出,回到沉淀池。这种钻机将岩屑、卵石直接抽出机外,钻进速度快,适应范围较广;但受砂石泵抽吸能力的限制,钻井深度约为150 m。

随便看

 

离鸟网收录3541549条中英文词条,其功能与新华字典、现代汉语词典、牛津高阶英汉词典等各类中英文词典类似,基本涵盖了全部常用中英文字词句的读音、释义及用法,是语言学习和写作的有利工具。

 

Copyright © 2004-2024 vtrois.com All Rights Reserved
更新时间:2026/4/20 15:18:48