网站首页  词典首页


请输入您要查询的字词:

 

字词 前桥
类别 中英文字词句释义及详细解析
释义
前桥

前桥

训练柔韧性的基本功之一。又名“双腿前软翻”。是拿顶和下腰连接起来的软翻动作,能充分体现人体的柔韧。动作要求高而舒展。做法是倒立下腰,两腿伸直,两脚尽量靠近手落地;顶肩、推手、挑胸、顶髋起立。

☚ 吊腰   后桥 ☛

前桥front axle,front suspension

拖拉机(汽车)前支承的总称。用来支承前部重量并使其稳定行驶。按机体同前桥连接方式,可分为刚性悬架前桥和弹性悬架前桥;按传力方式,可分为撑杆式和无撑杆式前桥。拖拉机前桥一般可绕摇摆轴作一定角度的上下摆动,以适应起伏不平的路面,保证两前轮同时着地。轮式拖拉机多为双轮分置式前桥,中耕型拖拉机常作成双轮并置式或单轮式前桥。

前桥

汽车上带有驱动装置的前轴。

前桥

前桥front axle

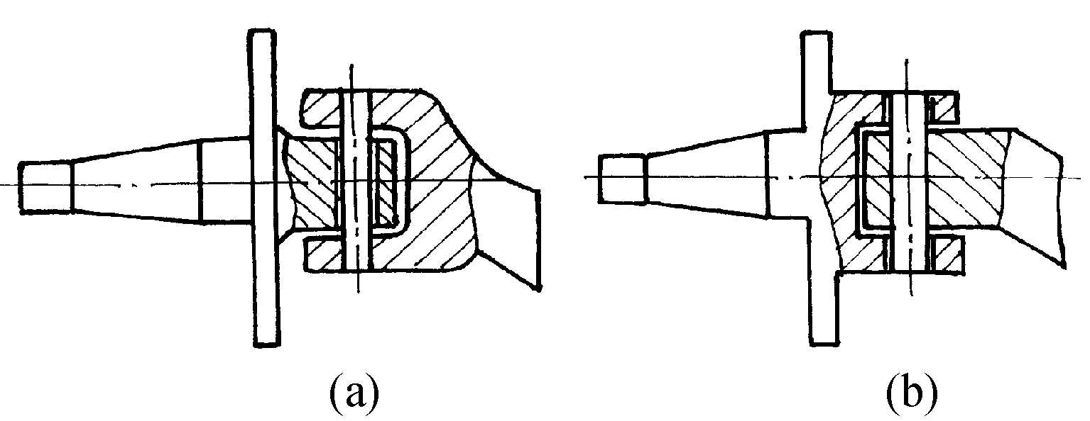
又称“前轴”。汽车行驶系中的重要部件之一。位于车架前下方,两端安装汽车前轮,通过悬架与车架(或承载式车身)相连。多为转向桥,为了与转向节铰接相连,端部可做成拳式或叉式。前者结构简单,锻造容易,被广泛采用;后者锻造工艺复杂、成本高,已很少采用。一般桥的中部为下沉结构,以免与发动机油底壳干涉。为合理利用材料,并保持各处近似等强度,多采用工字形断面,并从钢板弹簧座处向外逐渐过渡成圆形、椭圆形或长方形;也有中部采用圆管形断面,两端的拳式端部与钢管焊接的结构,但结构强度不如整体式高,材料利用也不够合理,优点是不需要大型锻压设备。所用材料一般为中碳钢,经调质处理,硬度为HB228~HB293。前桥除承受垂直载荷外,还承受纵向力(如制动力、道路阻力)和侧向力及这些力形成的力矩。

汽车前桥的端部型式
(a) 叉式;(b) 拳式

☚ 转向器   制动器 ☛
00002028
随便看

 

离鸟网收录3541549条中英文词条,其功能与新华字典、现代汉语词典、牛津高阶英汉词典等各类中英文词典类似,基本涵盖了全部常用中英文字词句的读音、释义及用法,是语言学习和写作的有利工具。

 

Copyright © 2004-2024 vtrois.com All Rights Reserved
更新时间:2026/4/20 0:54:01