网站首页  词典首页


请输入您要查询的字词:

 

字词 减压贮藏
类别 中英文字词句释义及详细解析
释义

减压贮藏hypobaric storage

气调贮藏的一种改良方法。又称低压贮藏。果实置于耐压密闭的容器中,抽出部分空气, 使内部气压降至一定量,并在整个贮藏期间不断换气。换气可通过真空泵、压力调节器和加湿器,使贮藏器内维持新鲜、潮湿的空气。由于空气减少,氧分压低, 抑制了呼吸,少量生成的乙烯也随之不断排出。因此, 不会产生呼吸跃变和乙烯高峰,不仅可以保鲜,减少糖、酸及维生素的损失, 而且果实硬度也较少变化。减压结束, 取出果实置于空气中时,最初产生香气少, 在20℃下存放一定时间后,可以达到果实固有的风味, 同时呼吸强度仍较低。乙烯的发生量最初升高, 随后也维持在较低的水平上。
减压贮藏是在20世纪50年代, 由斯陶德(E. S.Stoddard)所发现, 经实验, 贮藏效果是成功的(见表)。

减压贮藏的成功事例

果树种类气 压
(kPa)
温度
(℃)
贮藏效果实验者
香蕉、 甜樱桃20.015由5天延
长至13天
伯 格
(S.P. Burg)
人 心 果20.015由4天延
长至17天
伯 格
(S.P. Burg)
杏、桃,甜樱桃13.60030~40天萨隆克
(D.K. Salunkhe)
13.6004~5个月萨隆克
(D.K. Salunkhe)
37.0603~5个月萨隆克
(D.K. Salunkhe)
金 冠 苹 果37.0602.5个月萨隆克
(D.K. Salunkhe)

14.40
14.04
1
1
成熟变慢
失重较少
无 腐 烂
梶 浦
朱金华等

减压贮藏虽较一般气调有改进,但贮藏设备成本高, 尚不适于商业性大规模应用,仅在少量高档果品的运输中试行。

减压贮藏hypobaric storage

又名低压贮藏(subatmospheric storage)。为减低气压以促使产品内源乙烯及其他挥发物向外扩散从而更有效地抑制产品完熟衰老的贮藏方式。减压贮藏通常要求贮藏环境空气减压到1/10大气压,同时不断更新减压室内空气(气流式),并保持高湿度。减压使得空气中的氧分压也相应降低,可同时起到气调贮藏作用;气流式则避免二氧化碳、乙烯及其他有害代谢挥发物在贮藏室内滞留积累,并可保持稳定的低温,因而可以明显抑制产品的新陈代谢,延长贮藏期。
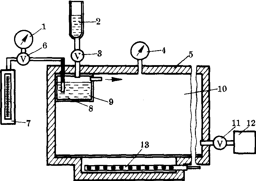
20世纪50年代有人发现,一些果蔬在冷藏基础上再降低环境空气的气压,可进一步抑制其呼吸及内源乙烯的积累。60年代中叶提出了完整的减压贮藏的机理和技术。此后一些学者相继开展了广泛的研究,拓宽了应用范围。减压贮藏技术从初期的一次式或间歇式轻度降压法(绝对气压约为650毫米汞柱),发展到高度减压法(4~400毫米汞柱); 并由静止减压法发展为气流式减压法。70年代日本等国又提出差压式减压法,使降压程度在高低两个指标间周期性互变。减压设施有固定的减压库及可移动的减压拖车和减压集装箱。伯格提出的气流式系统如图。整个流程是真空泵连续抽出减压室内的空气,新鲜空气通过空气流量计进入,由真空调节器控制室内气压。在减压条件下产品内水分极易蒸发,为此减压室内应保持高相对湿度 (80~100%)以防贮藏产品脱水干萎。可在减压室内新鲜空气入口处设加湿器,加湿器内加入易气化的防腐剂。气流速度约为每小时更新减压室容积1~4倍的空气。由制冷系统提供冷源,水膨胀蒸发也起制冷作用。这样,产品始终处在一定的低温、低压、湿润、新鲜的气流之中,比一般的气调贮藏效果更好。在减压条件下,气体扩散速度大,即使产品密集堆放或不同种类混贮,也容易维持均匀的温度、湿度和空气成分,产品之间相互影响较小。


气流式减压贮藏的基本设备示意图
1. 真空计,指示真空调节器的下流压力; 2. 加水器; 3.
阀门,平时关闭,需补偿水时开启; 4. 温度计; 5. 隔热
墙; 6. 真空调节器; 7. 空气流量计; 8. 加湿器;9. 水,
可加入挥发性杀菌剂如仲丁胺; 10. 减压贮藏室;11. 真
空节流阀; 12. 真空泵; 13. 制冷系统的冷却管


从理论和实验结果看,减压贮藏是可行的,但迄今尚未实际应用,主要是建筑、设备和节能等方面有不少问题尚待解决。

减压贮藏reduced pressure storage

又称低压贮藏。果蔬等易腐产品的贮藏新技术。在减压和控温下,即绝对气压533~53 320 Pa和温度—2~15℃之间,将产品置于90%以上近饱和湿度的流动空气中,含O2为2.1%以下的低氧分压可以显著地抑制果蔬的成熟、衰老和物质的氧化过程;产生的CO2、C2H2等有害气体又被不断排除,始终维持良好的贮藏条件。减压贮藏比普通冷藏的果蔬保鲜期可延长3~10倍。

随便看

 

离鸟网收录3541549条中英文词条,其功能与新华字典、现代汉语词典、牛津高阶英汉词典等各类中英文词典类似,基本涵盖了全部常用中英文字词句的读音、释义及用法,是语言学习和写作的有利工具。

 

Copyright © 2004-2024 vtrois.com All Rights Reserved
更新时间:2026/4/20 22:54:34