网站首页  词典首页


请输入您要查询的字词:

 

字词 黄腊石滑坡K剖面法电法勘探
类别 中英文字词句释义及详细解析
释义

黄腊石滑坡K剖面法电法勘探


黄腊石滑坡位于湖北省巴东县城东侧的长江北岸,东经110°25′,北纬31°02′,属巴东县西陵乡税家湾村,距三峡坝址64km,滑坡可能影响巴东县城的人民生命及财产的安危以及长江航道的畅通。

K剖面法是“反射系数电法勘探”的简称,认为电法勘探的基本参数是反射系数K,而电阻率比ρ2/ρ12仅是野外测得的反射系数推求而得到的,其基本参量以根据K及Kv可以求得近似于真电阻率的参量ρz(似真电阻率)=ρ×(1+K/1-K),其中ρ*为等效层电阻率,K经负值校正后为反射系数。已知新鲜岩石的真电阻率ρ及充填物电阻率ρ0,可以根据所测得ρz求得与孔隙一致的充填系数Kv

一般认为电测深理论的使用基础为半空间水平无限延伸层状均匀介质条件下,对于有限非均匀体的勘探是不符合以上条件的。然而,根据倾斜界面的公式推导认为:任何角体的顶点,都应该产生绕射,其绕射量根据推导的绕射系数公式为:

式中:K绕射系数;K12为层反射系数;β为角体顶角。因而,不规则的有限体,是按由绕射产生的实体晕(绕射晕)理论来勘探的。滑坡勘探主要应用的是K剖面法的第二代及第三代。

根据黄腊石滑坡地层电阻率值特征,采用取ρ0(充填物电阻率)=25Ω·m(骨架电阻率)=150Ω·m为第二充填系数的参量表明粘土宏观含量。以ρ0=150Ω·m,ρv=350Ω·m为第二充填系数的参量以区分硬质与软质岩层,并以ρ0、ρv分别求得的充填系数Kv1与Kv2,若令Kv1+2=Kv1+Kv2,则充填系数Kv1+2大于1的部分为粘土充填程度,小于1的部分表明岩石破碎及硬度。为了求得滑坡体的细节往往采用优化处理,从而获得界面系数(Jv),这一系数可进一步具体的反映滑坡体细节。

图2-18是界面系数Jv剖面图,它可以反映粘土的滑动面,以及滑坡体的组成。

图2-18 界面系数Jv剖面图

剖面自630m至134m高程,包括由2~21测点至2~19点第一滑坡的一部分,由2~19测点至2~10测点的第二滑坡以及由2~19测点至2~3测点的第三滑坡(上)与第三滑坡(下)的部分,Jv绘制的剖面图中在每一滑坡的前缘呈剪刀形(燕尾形)分叉,因之划分滑坡可用这一特征为一般的显示标志。

为了分析方便,这一图件以2~10测点(高程300m)为分界,其高程较高部分为正在滑动的滑坡,较低部分为尚未发生运动的滑坡。

300m以上部分可以明显分为二段,其中2~21、2~19测点为第一滑坡的上翘的前缘,系受2~21的硬岩层顶起部分。然而,原先这一部分硬岩层系连至接近地面,目前已被切断,其裂隙带最大深度约为55m,因之,这一滑坡体的后缘部分应在700m高程以上,而滑坡体已经移动,2~21与2~20测点之间的表面等值线有回转倒扭现象,表明这一滑坡下部移动后的扰动。

同时,这滑动坡又同时带动了第二滑坡的蠕动,从剖面上观察推断第二滑坡在近年来才开始活动,这点可以从2~17测点下部包含有整块大的,已与基岩分离出来的正在蠕动的岩层部分,其中心位置为地表以下37~40m处,滑面的最深处约80~90m,表层位于360~450m高程处为块石,2~18、2~16测点之间深度为10m以内有粘土块石层。滑坡于2~12测点开始分叉上翘,裂隙带延伸至2~11测点,滑坡的剪出带位于2~10测点。

自310m高程以下为第三滑坡及其上部小滑坡,由于第三滑坡迄今尚未剪断2~5测点下部的硬岩层,因之尚处于暂时稳定状态,这一滑坡自2~9测点开始一直向河边延伸,剖面图上最大深度可达95~100m,系少量泥化(2~9测点附近有少量泥化)的裂隙状滑坡面。物探队在滑坡区野外工作缺乏经验,按常规缩短了AB/2,以致未能获得更深部分的资料,因此第三滑坡只测得90m以内的资料。

位于第三滑坡上部的第二滑坡的剪出带延伸地段,浅部又有一小型滑坡,其最大深度不大于25m,但其燕尾状的裂隙已延伸至37m深度地区(图中2~6测点),裂隙带前端破碎及泥化较明显,其剪出带位于2~6测点处。

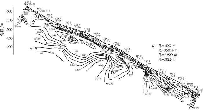
充填系数Kv1+2剖面图(图2-19)是利用二套充填系数,这种剖面图在分析滑坡的滑床岩层分层与滑坡体的形成,有较为明显的特征。

图2-19 充填系数Kv1+2剖面图

剖面图中以数值1、0大致的看成滑坡体与滑床的分界位置(具体深度以单支曲线求得其数值),可以把滑坡体与滑床明显的加以区别,在滑床部分又可以看到滑床由软硬相间的地层组成,位于2~9与2~10测点之间的硬岩层电阻率大于1000Ω·m,定为T2b4的灰岩部分。

由于滑床中的岩层与滑坡相斜交,这样滑坡遇有硬岩层构成的阻碍滑坡体下滑的砥柱。第二滑坡体所以近期活动,主要由于2~17下部的硬岩层形成阻挡体已被裂隙切断。然而,2~9与2~10测点的阻挡体与2~13下部的阻挡体使滑面上翘而暂时形成第二滑坡体,一旦这二处被剪断将孕育着更大的滑坡,其中2~11燕尾状裂隙已深入至2~10的硬岩层中,(当时外业工作的情况与目前有一时间间隔,若目前重复这一段工作,可以看出这几年来裂隙的进一步发展)。

地表地形平缓区,表明下部滑坡被阻而上翘,如2~13至2~12测点,第三滑坡虽然资料不全,但可以看到正在形成的滑坡面第三滑坡上部滑坡的形成是由于2~5测点以下的硬岩层,这一硬岩层目前使第三滑坡尚未产生滑动的主要砥柱。

地表的高阻部分为架空块石层的反映。

在第二滑坡的剪出带应是泉水出露地段(孙纪荣,1989)。

【参考文献】:

邓清禄.2000.斜坡变形构造.武汉:中国地质大学出版社

段永侯,罗元华,柳源等.1993.中国地质灾害.北京:中国建筑工业出版社

姜卫方,万明浩.2000.地质雷达在滑坡面调查中的应用及效果分析,物探与化探,24(3)

金培杰,曹玉立.1993.甚低频电磁法在确定滑坡地下水分布中的应用.物探与化探,17(2)

金培杰,曹玉立.1992.静电α卡法在探测滑坡地下水中的应用.中国地质灾害与防治学报,3(3)

李媛,张颖,钟立勋.1992.中国滑坡崩塌类型及分布图说明书.北京:中国地图出版社

李智毅,王智济,杨裕云.1996.工程地质学基础.武汉:中国地质大学出版社

李智毅,唐辉明.2000.岩土工程勘查.武汉:中国地质大学出版社

李大心.1994.探地雷达方法及其应用.北京:地质出版社

刘传正.2000.地质灾害勘查指南.北京:地质出版社

牟会宠.1987.滑坡.北京:地震出版社

牛建军,张晓培,邱慧.2000.综合物探方法在中里滑坡调查中的应用.水文地质工程地质,27(3)

孙纪荣.1989.三峡黄腊石滑坡与K剖面法电法勘探工程物探.工程物探

王谦身,张赤军,周文虎等.1995.微重力测量——理论、方法与应用.北京:科学出版社

晏同珍,杨顺安,方云.2000.滑坡学.武汉:中国地质大学出版社

张咸恭,李智毅等.1998.专门工程地质学.北京:地质出版社

地球物理地球化学勘查研究所.1983.日本工程物探译文集

随便看

 

离鸟网收录3541549条中英文词条,其功能与新华字典、现代汉语词典、牛津高阶英汉词典等各类中英文词典类似,基本涵盖了全部常用中英文字词句的读音、释义及用法,是语言学习和写作的有利工具。

 

Copyright © 2004-2024 vtrois.com All Rights Reserved
更新时间:2026/4/20 8:27:32