网站首页  词典首页


请输入您要查询的字词:

 

字词 饺子加工装备
类别 中英文字词句释义及详细解析
释义

饺子加工装备


1 概述

将和面机加工完成的湿面团与用拌馅机加工完成的饺子馅,加工成我们日常食用的饺子所需的设备称为饺子加工装备。这种饺子可以速冻贮藏,可以用煎、蒸、煮等烹饪方式加工后食用。

饺子加工装备的动力源可以是手动、电动、气动、液动及其他动力源形式。

饺子机按其工作原理可以分灌肠式和面带充馅包合式。国内主要以生产技术比较先进成熟的灌肠式和以电为动力源的中、小型的饺子自动成型机为主。绝大部分饺子成型机都具有多功能,更换成型部件后可以加工春卷、锅贴、咖喱角、馄饨、面条等产品。图1-9-15所示为典型的饺子自动成型机。

图1-9-15 饺子自动成型机

1-成型装置 2-输面装置 3-输馅装置 4-机架

2 加工工艺

图1-9-16 饺子加工工艺流程图

面粉宜用高筋精粉,这样可以减少成品饺子破损率。水采用洁净食用冷水,面粉加水的比便为1∶0.4,视面粉品种而适当增加或减少。和面过程中注意不要混入麦粒、面渣等异物,防止堵塞饺子机面嘴,割破面管。和完的湿面团,不允许夹有干面粉。手握检查有明显的弹性和硬度,弹性和硬度越大,成品饺子破损率越低。必要时可增加用轧面机压面工序。

拌馅按各种饺子品种配料表投料配制。一般情况下参照食谱配料表选料。拌馅机、绞肉机、切菜机按生产规模选用配套。

拌馅过程中不要混入大块肉、软骨、硬骨杂物,防止堵塞输馅系统。馅中各种配料要搅拌均匀。当日拌好的馅必须当日使用,防止沉淀和组织成分分解或水解。最好做到随用随拌。

3 关键设备

饺子机与拌馅机是饺子加工设备中的关键设备。国内生产的饺子机其大部分都是灌肠式工作原理(图1-9-17)。它们主要由动力传动分配部分、输面部分、输馅部分、成型部分组成。灌肠式饺子自动成型机的工作原理如图1-9-18所示。

图1-9-17 灌肠式饺子成形示意图

1-成形模 2-面嘴 3-馅 4-成形传轮 5-饺子

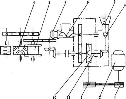
图1-9-18 灌肠式饺子自动成型机工作原理图

1-三角带轮 2-电动机 3-电动机三角带轮 4-馅叶片泵 5-馅筒 6-输面螺旋绞龙 7-面嘴组件 8-成型副轮 9-成形模 10-蜗轮副 11-主轴

电动机2经减速后传到一根主轴11上,主轴11的中段传到输面部分,输面螺旋绞龙6将湿面团推向内、外面嘴组件7,挤制出一根空心面管。主轴11的后端传到输馅部分。叶片泵4将馅筒5中的饺子馅经过馅管注入到空心面管中,共同传到成型副轮8工作面上。主轴11的前端传到成型部分,将已注入馅的面管经成型模9和成型副轮8滚压成饺子形状。

随便看

 

离鸟网收录3541549条中英文词条,其功能与新华字典、现代汉语词典、牛津高阶英汉词典等各类中英文词典类似,基本涵盖了全部常用中英文字词句的读音、释义及用法,是语言学习和写作的有利工具。

 

Copyright © 2004-2024 vtrois.com All Rights Reserved
更新时间:2026/4/21 6:21:47