网站首页  词典首页


请输入您要查询的字词:

 

字词 面包加工装备
类别 中英文字词句释义及详细解析
释义

面包加工装备


1 概述

面包是以面粉、酵母、糖等为主料,添加适量辅料,经过一系列的工艺操作而制成的食品。

面包的种类繁多,其种类又根据不同分类依据而异。按加入糖和食盐量的不同,可分为甜面包和咸面包;按成型方法可分为听型面包和非听型面包;按形状可分为圆形面包、枕形面包、棱形面包及各种花样面包;按配料的不同可分为普遍面包和高档面包等。

面包虽然品种多样,但从加工工艺角度分析,其生产工艺流程基本上是相同的。都要经过面团调制、发酵、分块、整形、成型、醒发、烘烤、冷却和包装等基本工艺操作。

面包加工装备是指面包加工所需的主要设备。我国能够制造全自动化的面包加工生产线,也能制造采用单机配套的面包加工设备。前者适合工厂化大批量的面包生产,后者适合中、小批量,多品种的面包生产。从目前的情况看,由单机配套组成的面包加工设备比较适合国内的需要。

在本节中,主要介绍由单机配套组成的面包加工设备。

2 加工工艺

面包制作的工艺流程如图1-9-19所示。

图1-9-19 面包制作(二次发酵法)工艺流程图

2.1 面团的调制与发酵

面团的调制与发酵是面包生产中的关键工序。国内生产面包目前有两种发酵方法,即一次发酵法和二次发酵法。

一次发酵法的特点是将配料中的全部原、辅材料顺序加入调粉机中进行一次性调制面团,在适当工艺条件下,面团经一次发酵,即可进行整形,烘烤等工艺操作。

二次发酵法的特点是将配方中的原、辅料按投料顺序分2次调制面团,2次发酵,然后再进行整形、烘烤等工艺操作。二次发酵法所需时间比一次发酵法稍长,但二次发酵的面团吸水充分,发酵完善,面包体积较大,内部蜂窝壁薄、柔软,面包老化速度慢。因为二次发酵具有以上优点,所以是目前应用最广的一种方法。这里主要介绍二次发酵法的工艺流程。

2.1.1 第一次调粉 先将温水放入调粉机,然后投入70%的面粉和酵母液一起搅拌,制成无生粉、生粉块、软硬均匀一致的面团。

加水量一般情况是占面粉重量的60%~65%。加水量过多,会使面团太软、太粘、造成机器分割、揉圆、整形等工序的困难;加水量过少,会导致面团发硬,造成面包组织粗糙,吃口不好的现象。水温控制冬季一般为45~50℃,夏季为20~28℃。

第一次调粉时间通常为5~7min左右,调制成面团的温度为27~28℃左右。

第一次调粉所需的主要设备是卧式或立式调粉机。

2.1.2 第一次发酵 调制好的面团放入发酵室内发酵,一定要保证其工艺参数的要求,通常情况是应掌握好面团适宜的温度。一般甜面包品种的面团温度:夏季为30~32℃,冬季为33~35℃;咸面包品种的面团温度:夏季为28~30℃,冬季为31~33℃。发酵室内除要求28~30℃的温度外,还要求有75%的相对湿度,最好有温湿度自动调节装置,以保证发酵质量。如果湿度太低,面团表皮会因干燥而裂开,不能保证发酵质量。

在正常的发酵条件下,发酵2~3h,面团膨胀呈蘑菇状,手碰时略有下降,表示已经发酵好了。

面团发酵一般是在发酵槽里进行。

2.1.3 第二次调粉 先将经第一次发酵后的面团倒入调粉机,然后放入剩余的面粉、水和其他辅料一起混合搅拌成均匀的面团,第二次调粉搅拌应充分,使得面筋充分形成,调出的面团应表面光滑,软硬适中,不粘手,富有弹性。

第二次调粉时间为8~12min,调制成的面团温度28~29℃。

第二次调粉所需的设备与第一次调粉所需的设备一致。

2.1.4 第二次发酵 将经第二次调粉制成的面团送入发酵室进行第二次发酵。第二次发酵面团温度为:甜面包品种夏季为29~31℃,冬季为32~34℃;咸面包品种夏季为27~29℃,冬季为31~33℃。发酵室内的温度应控制在28~32℃左右。相对湿度应控制在85%左右。发酵时间为1~1.5h。

第二次发酵需在发酵室内的发酵槽中进行。

利用二次发酵法制作面包的面团调制所需原料用量配合比如表1-9-2和表1-9-3所示。

表1-9-2 第一次调粉主要原料配合比

表1-9-3 第二次调粉主要原料配合比

2.2 切块

把发酵成熟的面团按照成品的重量要求,分切成小块面团,并进行称重。由于面团在发酵过程中,所以切块与称重必须在限定时间内(一般不超过0.5h)完成。否则,面团将会发酵过度并影响切块操作。

切块操作分手工与机械两种方式。手工切块,工人劳动强度大,生产效率低,而且称重误差大。

机械式切块所需的主要设备是面团切块机。

2.3 搓圆

搓圆的目的在于:将切块后形状不规则的面团搓成球形;切块后小面块切口有粘性,搓圆时可将表面扩展,将切口覆盖;切块时,面筋的网状结构被打乱,搓圆可恢复其结构;还可以通过搓圆排除部分二氧化碳,使温度分布均匀,有利于酵母的繁殖。

搓圆分为手工搓圆和机械搓圆两种方式,机械搓圆所需的主要设备是搓圆机。

2.4 中间醒发

中间醒发又称为静置。面团经切块、搓圆后,排除了一部分气体,内部处于紧张状态,面团缺乏柔软性,如立即成形,面团表面易破裂,面筋受到了极大的损伤,包不住气体,面包体积小,外观差,保存时间短。

中间醒发的作用为缓和因切块、搓圆工序而产生的紧张状态,使酵母适应新的环境,恢复活性,使面筋恢复弹性,使面团柔软,表面光亮,便于成型工序的操作。

中间醒发所需时间约为12~18min温度为27~29℃,相对湿度75%左右为宜。

中间醒发所需的主要设备是中间醒发机(室)。

2.5 成型

成型分为手工成型和机械成型两种形式。

各式花色面包多用手工成型的方式进行成型操作。

机械成型的操作,首先将圆面球辊轧成椭圆形面片,其厚度一般为6mm左右,辊轧出的面片表面应光滑,没有撕裂现象。然后,将面片送入富有弹性的网状卷曲带上,被卷成圆柱形。最后,卷好的面卷,通过压力板下面,排除面卷中的气泡,并用两边的挡板,封闭面卷的接口。

在机械成型中,压片和拉伸是最重要的动作。压片的作用是:排除二氧化碳气体;促进面筋结合,改善面包纹理结构。拉伸是将面片拉长,便于卷起。

经成型后的面团即可装听或摆盘,然后进行最后醒发工艺的操作。

成型所需的主要设备是面包成型机。

2.6 最后醒发

经成型后的面团其内部的二氧化碳气体已全部排出,变成一个无气体、无蜂窝状态、坚实的面包坯,所以需要再经过一个最后醒发工序,经最后醒发,面团内的酵母菌又增强了活力,产生二氧化碳气体,使面包坯膨胀到所要求的体积,改善面包的内部结构,使其疏松多孔。

最后醒发要求醒发室温度为38℃左右。相对湿度85%为宜。醒发时间一般为30~60min。

面坯醒发成熟度可以用手指在面坯上轻按一下来判断:如果弹性好,受压的部分马上恢复原状,则可以继续醒发;如果按下去后面坯复原缓慢,则说明已醒发成熟。

最后醒发需在醒发室内进行。

2.7 烘烤

经最后醒发后的面包坯通过烘烤,发生了一系列的物理、化学和生物学的变化,使面包坯由生变熟,表面由白变为褐色,内部组织膨松,变成蜂窝状并富有弹性。

面包烘烤一般要经过三个阶段,即膨胀、定型和上色三个过程。这三个阶段对烤炉的温度和相对湿度均有不同的要求。如果使用隧道式烤炉来烘烤面包,则三段温区按如下参数选取为宜:第一段:上火不超过120℃,下火在200~220℃,相对湿度控制在60%~70%左右;第二段:面火、底火同时可调至230~240℃;第三段:让上火温度高于下火,上火可调至210~220℃,下火可调至140~160℃。

面包的烘烤时间依据炉温、品种以及重量的不同而异。面包的重量越大,烘烤所需的时间就越长,烘烤温度应越低。同样重量的面包,长形的比圆形的,薄的比厚的烘烤时间短。装听面包比不装听面包所需烘烤时间要长。一般50g的点心面包在炉温220~230℃时烘烤时间为5~6min;100g主食面包为10~14min;1500g主食面包为30~35min。

适当延长烘烤时间有利于提高面包质量,它可使面包中的糊精、还原糖和水溶物增加,水解酶的作用时间延长,提高面包的消化率,同时还有利于面包色、香、味的改善。

面包烘烤所需的设备是各类烘烤炉。

2.8 冷却

面包坯在炉内烘烤时表皮热量高于内部,进入高温上色区的面包坯的表皮温度一般超过120℃,面包出炉后温度很高,必须立即出听或出盘进行冷却,使面包中心部位的温度降为37℃左右。如冷却不充分就立即包装或装箱,面包热量散发不出去,水分蒸发不了,容易发生霉变;同时,热面包表皮很软,没有弹性,如果立即包装或切片,受到挤压或机械碰撞,必然造成断裂、破碎或变形。

在进行面包冷却工序操作时需注意,面包刚出炉时,不能马上吹风强制冷却,需经自然冷却,否则会使面包表面变形。只有在面包冷却至后期,才能使用吹风冷却的方式。

面包冷却所需的条件:温度22℃~26℃,相对湿度85%,空气流速0.5~4m/s。

冷却所需的主要设备是各类冷却装置或冷却架。

2.9 切片

为了人们食用方便,对于大的主食面包要进行切片处理。

切片所需的主要设备是面包切片机。

2.10 包装

为了保证面包柔软、新鲜、清洁卫生,必须进行包装。

面包包装用的材料主要有:耐油纸、蜡纸、硝酸纤维素薄膜、聚乙烯和聚丙烯等。

包装形式有折叠式包装、枕式包装和袋式扎口包装等。

包装分为手工包装和机械式包装两种形式,我国目前大多数面包制作厂家仍采用手工包装面包的方法。

机械式面包包装所需的主要设备是各式面包包装机。

3 关键设备

制作面包所需的关键设备有调面设备、发酵设备、面团切块机、面团揉圆机、面包成型机、醒发设备、烘烤设备和面包切片机等。

3.1 调面设备

面包面团调制所需的设备要求能具有提高面团的面筋力的性能,能起到混和、捏摔、加气的作用。一般选用装有韧性面团专用桨叶的卧式或立式调面机,也可采用专供调制面包面团使用的强力和面机。

3.1.1 卧式调面机 参见第1篇第10章第1节有关内容。

3.1.2 立式调面机 参见第1篇第10章第1节有关内容。

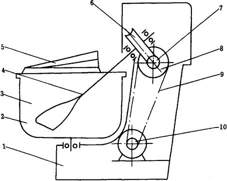
3.1.3 强力和面机 强力和面机是专为调制面包面团而设计的。这种机型(图1-9-20)主要由机架、电动机、传动机构、搅拌机构、和面缸及防护罩等组成。

图1-9-20 强力和面机

1-机架 2-电动机 3-和面缸 4-扭环形搅拌桨 5-安全防护罩 6-传动蜗轮 7-传动蜗杆 8-大皮带轮 9-三角传动带 10-小皮带轮

工作过程:电动机通过三角皮带和蜗轮蜗杆传动,带动倾斜安置的旋转主轴和搅拌桨转动,这种搅拌桨经特殊设计制成扭环状,能够促进面团面筋的形成。在面团的翻滚、摩擦作用下,和面缸也绕转动中心转动。这样,在桨叶与和面缸的同时转动下,面团得到充分的混合、摔打,对于面筋的形成极为有利。这种机型还有一个特点就是和面缸可以很方便地从机架上推卸下来。多配几只和面缸就可兼作发酵用的发酵槽,面团调制好后,不需更换容器就可推入发酵室内发酵,提高了工作效率。

这种和面机采用双速电动机,可使搅拌桨做高速或低速旋转,以满足不同的面包面团的调制工艺对和面机转速的要求。

3.2 面团切块机

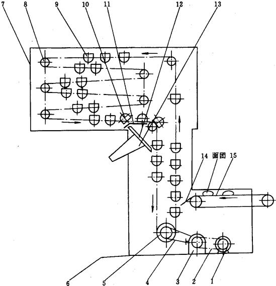
应用最广的是真空吸入式面团切块机(图1-9-21),这种切块机主要由机架、料斗、切块机构、传动机构等组成。

图1-9-21 面团切块机工作示意图

1-卸料活塞驱动摆杆 2-卸料活塞 3-小缸体 4-料斗 5-切刀 6-推料活塞 7-切刀驱动摆杆 8-推料活塞驱动摆杆 9-大缸体

面团切块机的切块工作由面团的吸入,充填、排出三个动作来完成。

首先,切刀驱动摆杆带动切刀向右移动,使得料斗4与大缸体9的通路被打开。这时,推料活塞6也由活塞驱动摆杆8带动向右移动,使得大缸体内形成瞬时真空,面团在大气压力和重力作用下,进入大缸体内,完成吸入动作。

接着,切刀向左移动,将料斗与大缸体的通路关闭,并将面块与面料斗中的面团切割分离。随后推料活塞向左移动,同时卸料活塞2也向左移动。这样,大缸体内的面块就被推入小缸体内,完成充填动作。

然后,小缸体连同卸料活塞同时下移,以使小缸体3内的面块与大缸体内的剩余面块分离,同时小缸体右侧的端口被打开。在卸料活塞驱动摆杆的作用下,卸料活塞向右移动,将面块推出小缸体。而后小缸体又向上移动复位,同时面块被大缸体下面的刮刀从卸料活塞端面上刮掉,落入面块输出带上被送出,完成排出动作。至此面包切块的一个工作循环结束,下一个工作循环接着进行。

面团切块的重量,可以通过卸料活塞的移动行程的调节而进行控制。

这种真空吸入式面团切块机的特点是操作简便,传动平稳,定量也比较准确。

3.3 面团揉圆机

目前国内生产和使用的揉圆机,主要有伞形揉圆机和碗形揉圆机两种。这两种揉圆机的螺旋曲线基本相同。但旋转定位方向不同,面团运行速度与离心力的作用也不同,一般说来,碗形揉圆机适用于小面团的揉圆,伞形揉圆机适应于大面团的柔圆,能够方便地配合机械化生产。

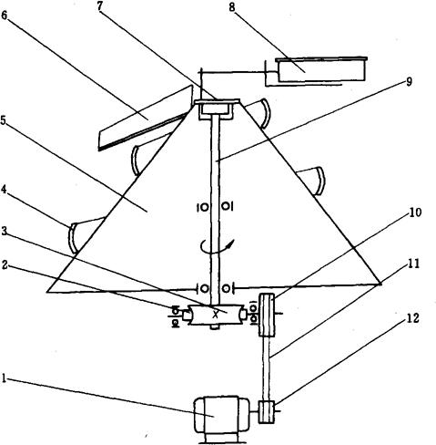
3.3.1 伞形揉圆机(图1-9-22)伞形揉圆机是目前在国内应用最广泛的揉圆机。

图1-9-22 伞形揉圆机

1-电动机 2-蜗杆 3-蜗轮 4-螺旋导槽 5-伞形旋转体 6-面团输出导板 7-撒粉驱动偏心轮 8-撒粉器 9-旋转主轴 10-大皮带轮 11-三角皮带 12-小皮带轮

工作过程:电动机带动三角带轮、蜗轮、蜗杆转动,从而驱动旋转主轴9和与主轴固连的伞形旋转体5转动。螺旋导槽4通过支撑与机架固连,不随伞形旋转体转动。

来自切块机的面块由伞形旋转体的底部进入螺旋导板,由于旋转体的旋转及固定螺旋导板的圆弧形状,使导板与面块、面块与伞形旋转体表面产生摩擦力,以及面块在旋转体旋转时所受离心力的作用,使面块沿螺旋导槽由下向上运动。在此期间,面块即有公转又有自转,即有滚动又有微量的滑动,从而把面块揉成圆形。揉圆完毕的球形面团从伞形转体的顶部离开机体,由输送带送出。

在揉圆机上还装有撒粉装置,通过转体顶部的撒粉驱动偏心轮7拉动拉杆,使撒粉器8的轴心作径向摆动。将撒粉器内的面粉均匀地撒在螺旋导槽内,防止操作时面团与转体、导槽及面团之间粘连。

由于伞形转体上下直径不同,使得面块从底部进入导槽由下向上的运动速度减慢,这种进口速度快,出口速度慢的特点,有利于面团的成形。

3.3.2 碗形揉圆机(图1-9-23) 碗形揉圆机的结构与伞形揉圆机大致相同,只是转体倒置,大端在上,小端在下,呈碗形。固定螺旋导板安装在转体内侧,导板与转体组成面块成型的导槽。

图1-9-23 碗形揉圆机

1-电动机 2-小带轮 3-三角带 4-大带轮 5-蜗杆 6-蜗轮 7-旋转主轴 8-碗形旋转体 9-螺旋导板

碗形揉圆机的工作原理与伞形揉圆机大致相同。来自切块机的面块,由输送带送至碗形转体的下部,在复合力的作用下,面块沿螺旋导槽即公转又自转的由下向上运动,在运动过程中被搓成球形,到达转体的顶部。搓圆完毕,面团由帆布输送带送出。

由于碗形转体的直径下小上大,所以面块的运动速度由慢到快,在离开搓圆机达到最大,前后面块间的距离也由小变大,这一点与伞形揉圆机相反。因此,不易象伞形揉圆机那样出现双生面团。但这种揉圆机的成型效果不如伞形揉圆机好。

3.4 面包成型机

常用的面包成型机(图1-9-24)由面团送入传送带、压扁辊、第一压延和第二压延辊、卷包垂链、面包坯送出传送带等机构组成。

图1-9-24 面包成型机成型原理图

1-送入传送带 2-压扁辊 3-第一压延辊 4-第二压延辊 5-卷包垂链 6-送出传送带

面包成型机主要用来完成对面团的辊轧、卷制和成型的工艺操作。工作时,经面团送入传送带1送进的面团先被压扁辊2进行辊压,然后被送入第一和第二压延辊,经辊轧制成面片,辊制成的面片落入面卷送出传送带6,继续向前输送,到达卷包垂链5处,在垂链的压力作用下,面片向里卷曲。经送出传送带与面卷,以及面卷与卷包垂链间摩擦力的作用,面片越卷越紧,直至被卷成面包卷,经送出传送带送出。根据需要在送出传送带前,还可装置各种滚形槽,经整形制成面包生坯。

经成型后的面包生坯即可装听或入烤盘送去进行最后醒发。

3.5 醒发设备

常用的醒发设备分为中间醒发设备和最后醒发设备两种。国外大批量生产面包的厂家,为配合机械化连续式生产的需要,不仅中间醒发采用了机械式,而且最后醒发也采用了多层回转自动醒发机,国内有一部分中间醒发采用了机械式醒发机外,大部分都还在使用醒发房和醒发箱来进行中间、最后醒发工艺的操作。

3.5.1 中间醒发机 常用的中间醒发机(图1-9-25)主要由面团进料机构、出料机构、面团网斗、传动机构和箱体等组成。

图1-9-25 中间醒发机工作示意图

1-电动机 2-三角带 3-减速器 4-链条 5-传动链轮 6-传动链条 7-箱体 8-张紧链轮 9-网斗 10-翻斗时网斗 11-翻斗机构 12-料槽板 13-出料斗 14-落料板 15-送入传送带

工作时,面团经送入传送带15,落料板被送入网斗9,网斗经链条带动在箱体内匀速运行,经过翻斗,面团从出料斗13送出进行成型操作。

中间醒发机的箱体一般采用金属支架,外壁用聚乙烯泡沫板保温。网斗一般用不锈钢丝冲压成碗形,表面喷涂聚四氟乙烯,可以防止面团粘连。一般采用6个网斗一排,用框架固定。

3.5.2 醒发室 醒发室一般采用砖墙结构。也有采用金属框架的拼装结构,用聚乙烯泡沫板保温。醒发室开有门,供放置醒发面块的醒发车进、出使用。醒发室顶应做成弧形,以利水珠能顺着屋顶及墙壁流到地面,避免水珠直接落到面团上,影响正常醒发。醒发室四周需开排水槽,让冷凝水及时排出防止室内积水。

供热、供湿一般采用锅炉供汽,也可采用室内电加热水箱加热、加湿的方式。

醒发室的结构简单,投资少,比较实用可靠,还可兼作发酵室使用。但劳动强度大,工艺操作条件差。

3.6 烘烤设备

用于烘烤面包的烘烤炉的种类很多,常用的有箱式烘烤炉、旋转式热风循环烤炉和隧道式链条炉等。

用户可根据实际情况选用。一般来说,生产面包的产量不大,机械化程度不高,就可选用采用间歇式烘烤方式的箱式或旋转式热风循环烘烤;如机械化程度高,产量大,就可选用采用连续式烘烤方式的隧道式链条炉。

3.6.1 箱式烘烤炉 参见第1篇第10章第2节有关内容。

3.6.2 旋转式热风循环烤炉 参见第1篇第10章第2节有关内容。

3.6.3 隧道式电热链条炉 参见第1篇第10章第2节有关内容。

3.7 面包切片机

常用的面包切片机(图1-9-26)主要由进料斗、锯齿刀片、导轮、刀片驱动辊、传动系统机架等组成。

图1-9-26 面包切片机工作示意图

1-送料斗 2、5-刀片驱动辊 3-导轮 4-刀片

在上下两个刀片驱动辊上,均匀间隔地交叉围绕着若干带式刀片。每个刀片被两对导轮夹持着,将刀片扭转90°,使所有刀刃口朝进口方向,一圈环形刀片成为两条刀刃,在辊子的带动下,作快速直线运动。运动的方向,一条刀刃向上,另一条刀刃向下,故在切片时给予面包的摩擦力上下相互抵销,不影响面包在切片时的稳步行进。当面包由进料斗横向进入后,即可一次切成若干片。切片厚度可以通过左右移动导轮的相互位置来调节,调节范围在10~24mm之间。

随便看

 

离鸟网收录3541549条中英文词条,其功能与新华字典、现代汉语词典、牛津高阶英汉词典等各类中英文词典类似,基本涵盖了全部常用中英文字词句的读音、释义及用法,是语言学习和写作的有利工具。

 

Copyright © 2004-2024 vtrois.com All Rights Reserved
更新时间:2026/4/20 21:29:06