网站首页  词典首页


请输入您要查询的字词:

 

字词 面包切片机的结构及工作原理
类别 中英文字词句释义及详细解析
释义

面包切片机的结构及工作原理


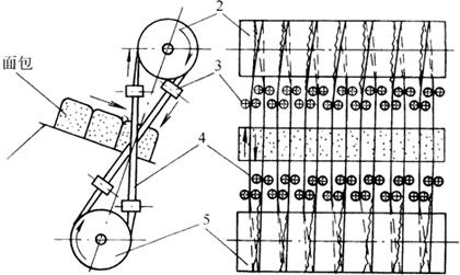
常用的面包切片机(图3-2-7)主要由进料斗、锯齿刀片、导轮、刀片驱动辊、传动系统机架等组成。

图3-2-7 面包切片机工作示意图

1-进料斗 2、5-刀片驱动辊 3-导轮 4-锯齿刀片

在上下两个刀片驱动辊上,均匀间隔地交叉围绕着若干带式刀片。每个刀片被两对导轮夹持着,将刀片扭转90°,使所有刀刃口朝进口方向,一圈环形刀片成为两条刀刃,在辊子的带动下,做快速直线运动。运动的方向,一条刀刃向上,另一条刀刃向下,故在切片时给予面包的摩擦力上下相互抵消,不影响面包在切片时的稳步行进。当面包由进料斗横向进入后,即可一次切成若干片。切片厚度可以通过左右移动导轮的相互位置来调节,调节范围在10~24mm。

随便看

 

离鸟网收录3541549条中英文词条,其功能与新华字典、现代汉语词典、牛津高阶英汉词典等各类中英文词典类似,基本涵盖了全部常用中英文字词句的读音、释义及用法,是语言学习和写作的有利工具。

 

Copyright © 2004-2024 vtrois.com All Rights Reserved
更新时间:2026/4/20 13:29:46