网站首页  词典首页


请输入您要查询的字词:

 

字词 锻件
类别 中英文字词句释义及详细解析
释义

锻件


2.1.3.1 自由锻件机械加工余量

自由锻件机械加工余量可用表2-36所列计算公式计算.

2.1.3.2 钢质模锻件公差及机械加工余量

JB3834—85和JB3835—85适用于质量小于等于250kg、长度(最大尺寸)小于等于2500mm在模锻锤、热模锻压力机、螺旋压力机和平锻机上成批生产的钢质(碳素钢及合金钢)热模锻件.

锻件公差分为普通级和精密级.平锻件的公差只有普通级.

表2-36 自由锻锻件机械加工余量计算公式 mm

1.确定锻件公差和机械加工余量的主要因素

确定锻件公差和机械加工余量的主要因素见表2-37.

表2-37 确定锻件公差和机械加工余量的主要因素

2.钢质模锻件公差

表2-38列出了钢质模锻件的各种公差.

表2-38 钢质模锻件的公差

表2-39 模锻件的长度、宽度、高度偏差及错差、残留飞边量(普通级) mm

注:锻件的高度台阶尺寸公差,按±1/2的比例分配,丙表面尺寸偏差,正负符号与表中相反.

例:锻件质量为6kg、材料系数为M1、锻件复杂系数为S2、锻件尺寸为160mm,平直分模线时,查得各类偏差为表中带星花的数值.

表2-40 模锻件的长度、宽度、高度偏差及错差、残留飞边量(精密级) mm

注:1.锻件的高度台阶尺寸公差按±1/2比例分配,锻件内表面尺寸偏差正负符号与表中相反

2.本表不适用于平锻机上生产的锻件

例:锻件质量为3kg、材质系数为M1、复杂系数为S3、尺寸为160mm,平直分模线时,查得各类偏差为表中带星花的数值

表2-41 模锻件的厚度偏差及顶料杆压痕偏差(普通级) mm

例:锻件质量为3kg、材质系数为M1、锻件复杂系数为S3、锻件最大厚度尺寸为45mm,油炉加热时,查得各类偏差为表中带星花的数值.

表2-42 模锻件的厚度偏差及顶料杆压痕偏差(精密级) mm

注:本表不适用于平锻机生产的锻件.

例:锻件质量为3kg、材质系数为M1、锻件复杂系数为S3、锻件最大厚度尺寸为45mm,中频感应加热时,查得各类偏差为表中带星花的数值.

表2-43 表面缺陷深度确定

图2-2 错差、残留飞边及切入深度

图2-3 圆角半径与余量

图2-4 内、外圆角半径

表2-44 模锻件非加工面的直线度公差 mm

注:对中心线不是直线的锻件不采用本表数值,应适当加大.

表2-45 模锻件加工面的直线度、平面度公差 mm

注:1.对带有落差和弯曲的锻件,直线度和平面度不能采用本表数值,应适当放宽或由供需双方协商确定.

2.精密级不适用于平锻件

例:锻件长度为240mm的调质件时,直线度和平面度的普通级为1.2mm,精密级为0.8mm.

表2-46 模锻件中心距尺寸偏差 mm

注:本表适用于在热模锻压力机、模锻锤、平锻机及螺旋压力机上生产的模锻件,但精密级不适用于平锻件.

例:当锻件长度尺寸为300mm时,只有一道校正压印工序,其中心距尺寸的普通级公差为±1.0mm,精密级公差为±0.8mm.

表2-47 圆角半径计算表

注:1.在测量模锻拔模角公差时,其锻件高度尺寸应去掉R值,只测量到a点.在R(r)部分,按R(r)公差测量.

2.本表适用于在热模锻压力机、模锻锤、平锻机及螺旋压力机上生产的模锻件.

表2-49 锤上锻件外拔模角α的数值

注:1.内拔模角β可按表中数值加大2°或3°

2.在热模锻压力机和螺旋压力机上使用顶料机构时,拔模角可比表中数值减小2°或3°

3.当上、下模模膛深度不相等时,应按模镗较深一侧计算拔模角.

表2-50 锻件切边冲孔纵向毛刺及局部变形公差

表2-51 剪切端变形公差 mm

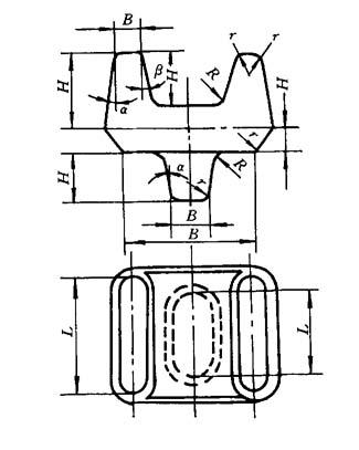
3.平锻件公差

平锻件公差的确定有一些特殊要求.表2-52列出确定平锻件公差的主要条件.表2-53列出平锻件一些主要公差的确定.

表2-52 确定平锻件公差的主要条件

图2-5 形状复杂系数的特殊情况

图2-6 两端镦锻平锻件长度公差

表2-53 平锻件的主要公差确定

图2-7 平锻件台阶尺寸

图2-8 平锻冲孔零件同轴度

表2-54 平锻冲孔零件同轴度公差 mm

表2-55 平锻件各种拔模角数值(JB3835—85)

4.加工余量

模锻件机械加工余量,根据估算锻件质量、加工精度及锻件复杂系数由表2-56和表2-57查得.表中余量值为单面余量.

5.锻件公差应用举例

锻件公差应用举例如下:

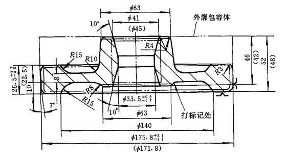
(1)转向垂臂(图2-9、表2-58);

(2)常啮合齿轮(图2-10、表2-61);

(3)凸肩齿轮机械加工余量和公差(表2-65);

(4)圆饼类锻件的余量与公差(表2-66);

表2-56 模锻件内外表面加工余量 mm

注:本表适用于在热模锤压力机、模锻锤、平锻机及螺旋压力机上生产的模锻件.

例:锻件质量为3kg,在1600t热模锻压力机上生产,零件无磨削精加工工序,锻件复杂系数为S3,长度为480mm时,查出该零件余量是:厚度方向为1.7~2.2mm,水平方向为2.0~2.7mm.

表2-57 锻件内孔直径的机械加工余量 mm

图2-9 转向垂臂锻造毛坯图

表2-58 转向垂臂锻件的尺寸允许偏差

图2-10 常啮合齿轮锻造毛坯图

(5)多台阶轴类锻件的余量与公差(表2-67);

(6)锤上模锻件余量和公差(表2-68、表2-69).

表2-59 模锻件的长度、宽度、高度偏差及错差、残留飞边量(精密级) mm

注:1.锻件的高度台阶尺寸公差按±1/2比例分配,锻件内表面尺寸偏差正负符号与表中相反.

2.本表不适用于平锻机上生产的锻件.

例:锻件质量为3kg、材质系数为M1、复杂系数为S3、尺寸为160mm,平直分模线时,查得各类偏差为表中带星花的数值.

表2-60 模锻件的厚度偏差及顶料杆压痕偏差(普通级) mm

例:锻件质量为3kg、材质系数为M1、锻件复杂系数为S3、锻件最大厚度尺寸为45mm,油炉加热时,查得各类偏差为表中带星花的数值

表2-61 常啮合齿轮锻件的尺寸允许偏差

表2-62 模锻件加工面的直线度、平面度公差 mm

注:1.对带有落差和弯曲的锻件,直线度和平面度不能采用本表数值,应适当放宽或由供需双方协商确定.

2.精密级不适用于平锻件.

例:锻件为长度是240mm的调质件时,直线度和平面度的普通级为1.2mm,精密级为0.8mm

表2-63 模锻件内外表面加工余量 mm

注:本表适用于在热模锤压力机、模锻锤、平锻机及螺旋压力机上生产的模锻件.

例:锻件质量为3kg,在1600t热模锻压力机上生产,零件无磨削精加工工序,锻件复杂系数为S3,长度为480mm时,查出该零件余量是:厚度方向为1.7~2.2mm,水平方向为2.0~2.7mm.

表2-64 锻件内孔直径的机械加工余量 mm

表2-65 凸肩齿轮机械加工余量和公差 mm

表2-66 圆饼类锻件的余量与公差 mm

表2-67 多台阶轴类锻件的余量与公差 mm

表2-68 锤上模锻件余量和公差 mm

表2-69 自由公差 mm

随便看

 

离鸟网收录3541549条中英文词条,其功能与新华字典、现代汉语词典、牛津高阶英汉词典等各类中英文词典类似,基本涵盖了全部常用中英文字词句的读音、释义及用法,是语言学习和写作的有利工具。

 

Copyright © 2004-2024 vtrois.com All Rights Reserved
更新时间:2026/4/20 11:35:17