网站首页  词典首页


请输入您要查询的字词:

 

字词 锅炉
类别 中英文字词句释义及详细解析
释义

锅炉


(一)DZL2型系列锅炉

1.结构特点

(1)DZL-1.0-AⅡ.P型单锅筒纵置式链条炉排锅炉是一种卧式三回程水火管混合式快装蒸汽锅炉。水冷系统由锅筒、两侧集箱、两侧水冷壁管和下降管组成,前后管板采用受力状况较好的椭圆形管板,水冷壁管上部拉稀组成对流烟道。取消了目前烟火管锅炉中普遍使用的拉撑管和拉撑件,避免了烟气短路,提高了螺纹烟管利用率。炉膛后拱采用三节折线拱(燃用贫煤时使用),燃用烟煤时,可拆除第一、二节折线拱。炉排采用大块炉排片,漏煤少,重量轻,炉排下部为四个风室,内部装有两块挡风板,右侧装有调风门,左侧进风。

烟气通过燃料室进入两侧对流烟道,再进入前烟箱,然后通过螺纹烟管、省煤器、除尘器、引风机和烟囱排入大气。

(2)DZL-1.0-WⅢ型锅炉是一种卧式三回程水管混合式快装蒸汽锅炉,锅筒内布置单回程高效传热螺纹烟管管束。采用了新的炉膛结构,将位于侧集箱上的部分上升管拉向炉膛上面砌筑耐火材料与锅筒的侧下方组成对流烟道又与锅筒底部组成了炉顶,从而使处在炉膛高温区的锅筒不直接受高温火焰的辐射,避免了锅筒底部出现鼓包,也提高了炉膛的温度,有利于无烟煤的引燃。前后拱覆盖率达100%,有利于低挥发分燃料的燃烧。采用新型大块链条炉排实现机械化燃烧,沿炉排纵向布置5个独立风室,每个风室双侧进风、布风均匀。

燃料自煤斗落到炉排上进入炉膛后,火焰经过后拱上部(第一回程)进入燃炉室,进入对流烟道(第二回程),经前烟室进入单回程螺纹烟管管束(第三回程),然后进入除尘器,最后由引风机抽引经烟囱排入大气。

2.主要技术参数

见表9-9-1。

表9-9-1DZL2-1.0锅炉主要性能参数

DZL2型系列锅炉配套辅机见表9-9-2,见表9-9-3。

表9-9-2DZL2-1.0-AⅡ.P型锅炉配套辅机

表9-9-3DZL2-1.0-W Ⅲ型锅炉配套辅机表

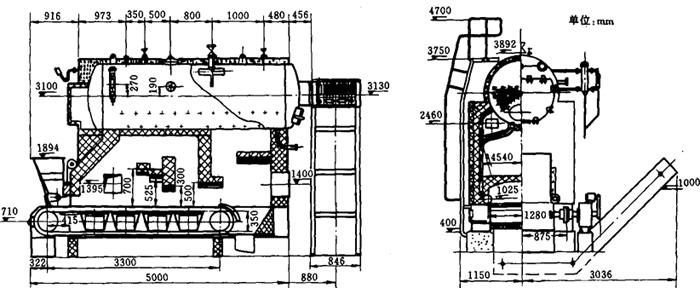
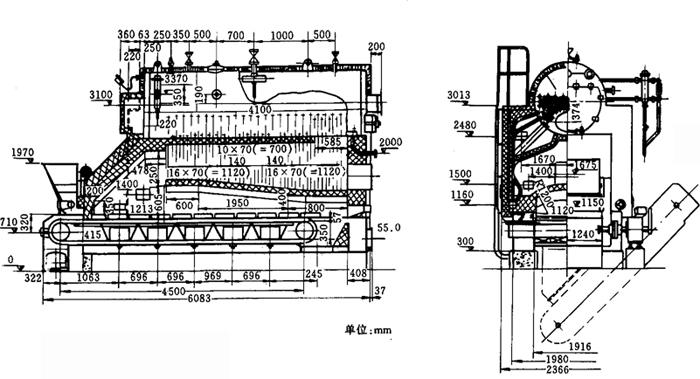
3.外形尺寸及安装图示

见图9-9-1及图9-9-2。

图9-9-1 DZL2-1.0-A Ⅱ P锅炉

图9-9-2 DZL2-1.0-W Ⅲ型锅炉

4.生产厂家

郑州锅炉厂,上海四方锅炉厂,重庆锅炉厂,武汉锅炉厂,四川锅炉厂。

(二)DZL4型系列锅炉

1.结构特点

DZL-1.25-A Ⅱ P型,DZL4-125-W Ⅲ型单锅筒纵置式水火管混合快装链条炉排锅炉,是取代原KZL锅炉的最新产品,设计煤种分别为Ⅱ类烟煤、贫煤和Ⅲ类无烟煤。

该锅炉采用多项新技术,如采用较小直径的锅筒,以利增加炉膛容积,通过将纵向分布在侧集箱上的部分上升管拉向炉膛,然后引入锅筒的侧下方,并辅以锅筒底部挂砖,组成炉顶受热面,以新颖的炉膛结构,成功地解决了原KZL型锅炉的锅筒底部受高温火焰直接辐射,而产生鼓包的问题,锅筒下方两翼烟道,使高温烟气很方便地由后向前流动进入前管板,通过布置在锅筒内的单回程螺纹烟管管束进入省煤器。烟管管束是单回程的,使管板的过火温度趋于一致,避免了原结构中因2回程烟气流动所造成的温度差而产生的热应力,对防止或减少管板裂纹的发生将起积极的作用。

该锅炉采用了新型大块炉排片,重量轻,漏煤少,维修方便。配风由5个独立的风室组成,布风均匀,调节灵敏,可视煤种的不同分别调节。后拱低而长,出口段向下反倾斜,前拱倾角45°与后拱相适应,使后拱出来的烟气,可以直接冲刷燃料层,起到引燃作用,强化燃烧,从而使该锅炉能燃用劣质煤,煤种适应性强,该型无烟煤锅炉前后拱之间设置百叶窗式耐火板,使拱的覆盖面接近100%,有利于无烟煤的燃烧。

2.主要技术参数

见表9-9-4。

表9-9-4DZL4-1.25锅炉性能参数表

DZL4型锅炉配套辅机见表9-9-5。

表9-9-5DZL4型锅炉配套辅机表

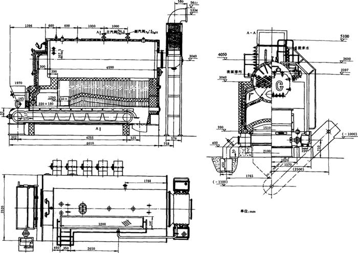
3.外形尺寸及安装图示

见图9-9-3。

图9-9-3 DZL4型锅炉

4.生产厂家

郑州锅炉厂,无锡锅炉厂,上海四方锅炉厂,重庆锅炉厂,武汉锅炉厂。

(三)DZL6型系列锅炉

1.结构特点

(1)DZL6-1.25型锅炉是一种卧式三回程水火管混合式快装锅炉。燃料自煤斗落到炉排上,进入炉膛燃烧后,火焰经过后拱上部(第一回程)进入燃尽室,由燃尽室进入对流烟道(第二回程),经前烟室进入单回程的螺纹烟管管束(第三回程),然后进入省煤器、除尘器,由引风机抽引通过烟囱排向大气。

(2)采用了新的炉膛结构,将位于侧集箱上的部分上升管拉向炉膛,组成炉顶受热面,使锅底部置于炉膛之外,辅以锅筒底部挂砖,解决了以往锅筒底部直接受高温火焰辐射易产生“鼓包”的问题。

(3)采用了两翼烟道,使烟气顺利地由后进入前烟箱,降低了高温区管板的烟温,锅筒内布置单回程新型螺纹烟管,强化了传热效果,防止和减少了管板裂纹。

(4)炉排进风采用5个各自独立的分风室结构,双挡板调节、布风均匀。采用新型下封式接触侧密封结构,把两侧集箱内移作防焦箱使用,避免了漏风及烧损。

(5)炉排采用新型小孔不漏煤炉排片且通用大块炉排片,减少漏煤、降低了金属耗量。采用新的炉拱设计,前、后共拱总覆盖率为82.4%。保证了燃料的引燃与燃尽。该型锅炉热效率高于部颁标准12.04%且具有11%以上的超负荷能力。

2.主要技术参数

见表9-9-6。

表9-9-6DZL6-1.25型锅炉性能参数表

DZL6型锅炉配套辅机见表9-9-7。

表9-9-7DZL6-1.25型锅炉配套辅机表

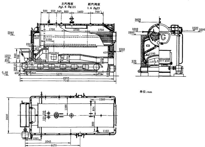
3.外形尺寸及安装图示

见图9-9-4。

图9-9-4 DZL6型锅炉

4.生产厂家

郑州锅炉厂,无锡锅炉厂,上海四方锅炉厂,重庆锅炉厂,武汉锅炉厂。

(四)SZL10型系列链条炉排锅炉

1.结构特点

该炉炉膛和燃尽室四周布置有水冷壁,燃尽室后置有对流管束,过热器布置在燃尽室和对流管束之间。尾部烟道布置两组省煤器。炉膛四周由Φ51mm×3mm的管子分别组成前后及两侧水冷壁,构成4个独立的循环回路。采用高而短的前拱和低而长的后拱,后拱出口处为400mm长的水平段,并采用锐角出口,在炉膛前部明显地形成“α”(阿尔法)火焰,有利于贫煤燃烧。前后墙布置二次风搅拌烟气,强化燃烧。炉排采用分风室、吊挂式挡风板结构,布风均匀。经冷态试验测定,炉排面布风不均匀系数为1.07,炉排前排布置松煤器,使着火线一致,有利煤的点燃。鳞片式链条炉排,装拆方便,运行可靠。上锅筒内部装置水下孔板和顶部孔板及蒸汽挡板,喇叭型表面排污管,以保证蒸汽品质,配备连续自动给水装置,保证锅炉安全运行。

2.主要技术参数

见表9-9-8。

表9-9-8SZL10型系列锅炉性能参数表

DZL10型锅炉配套辅机见表9-9-9。

表9-9-9SZL10型系列锅炉配套辅机表

3.外形尺寸及安装图示

见图9-9-5所示。

图9-9-5 DZL10型锅炉

4.生产厂家

郑州锅炉厂,无锡锅炉厂,上海四方锅炉厂,重庆锅炉厂,武汉锅炉厂。

(五)SHL型系列锅炉

1.结构特点

SHL型系双锅筒横置式链条炉排自然循环水管锅炉。该炉炉室的四周布置水冷壁管子以吸收辐射热量,燃烧烟气向上通过沸腾管进入过热器区域或燃尽室后,横向冲刷对流受热面而进入尾部受热面,尾部受热面的省煤器和空气预热器均为一级布置,烟气经空气预热器进入除尘器,而后由烟囱排出。

为适应贫煤及二类烟煤的燃烧,设计了新型炉拱。前拱出口端高于后拱出口端,为后拱出口高度的2倍,后拱出口端设有水平段,由圆弧出口改为锐角出口,使后拱燃烧的高温烟气冲向前拱,有利于煤的着火。降低了引燃拱的高度,可防止烧坏煤闸门。此外,炉排长度比同类产品加长500mm,有利煤的燃尽。设计热效率为80.4%。炉排采用分风室双侧进风,布风均匀。炉排前部布置松煤器,使着火线一致。采用鳞片式不漏煤炉排片、拆装方便、运行可靠。配有GJ300型调速箱,无级调速,可实现自控。上锅筒内部装置有汽水分离设备,连续排污管和给水槽等,以保证蒸汽品质。配备连续自动给水装置,保证锅炉安全运行。

2.主要技术参数

见表9-9-10。

表9-9-10SHL20型系列锅炉性能表

SHL20型锅炉配套辅机见表9-9-11。

表9-9-11SHL20型系列锅炉主要配套辅机表

3.外形尺寸及安装图示

见图9-9-6所示。

图9-9-6 SHL20型锅炉结构图

4.生产厂家

郑州锅炉厂,无锡锅炉厂,上海四方锅炉厂,重庆锅炉厂,武汉锅炉厂。

随便看

 

离鸟网收录3541549条中英文词条,其功能与新华字典、现代汉语词典、牛津高阶英汉词典等各类中英文词典类似,基本涵盖了全部常用中英文字词句的读音、释义及用法,是语言学习和写作的有利工具。

 

Copyright © 2004-2024 vtrois.com All Rights Reserved
更新时间:2026/4/20 1:30:27