网站首页  词典首页


请输入您要查询的字词:

 

字词 钨极气体保护焊设备的组成
类别 中英文字词句释义及详细解析
释义

钨极气体保护焊设备的组成


TIG焊机通常由弧焊电源、控制箱、焊炬、水冷系统及供气系统组成。自动TIG焊机还配有行走小车、焊丝送进机构等。图1-6-1为手工TIG焊机的配置图。

图1-6-1 手工TIG焊机的配置[3]

1.电源 2.控制箱 3.氩气瓶 4.减压阀 5.流量计 6.电缆 7.控制线 8.氩气管 9.进水管 10.出水管 11.焊枪 12.工件

1.电源

TIG焊机要求使用具有陡降外特性或垂直外特性的弧焊电源,主要是为了得到稳定的焊接电流。TIG焊机的电源有直流、交流和脉冲电源三种。直流电源有旋转式弧焊发电机、磁放大器式弧焊整流器、可控硅弧焊整流器、晶体管电源、逆变电源等几种。交流电源有正弦波交流电源及方波交流电源两种。TIG焊机所用电源的空载电压一般要比手工电弧焊电源的空载电压高,部标JB2837-88《钨极氩弧焊机技术条件》规定的TIG焊机的空载电压如表1-6-11所示。

表1-6-11 TIG焊机的空载电压[5]

2.控制箱及引弧装置

(1)控制箱 控制箱中主要安装焊接时序控制电路。其主要任务是控制提前送气、滞后停气、引弧、电流通断、电流衰减、冷却水流通断等。对于自动焊机,还要控制小车行走机构行走及送丝机构送丝。

(2)引弧装置 TIG焊的引弧方式有:接触引弧及非接触引弧两种。

①非接触引弧 大电流TIG焊机一般不采用接触引弧。因为接触引弧时,强大的短路电流不但使钨极因发生熔化而烧损,而且还易使液态钨进入熔池中,造成焊缝夹钨,影响焊缝力学性能。常用的非接触引弧方式有两种:高频振荡器引弧和高压脉冲引弧。

高频振荡器引弧通常将高频振荡器串接在焊接回路中,如图1-6-2所示。当高频振荡器接通时,其输出端可输出频率为150~260kHz、电压为3000V左右的高频电压,该电压施加在钨极和工件上,击穿两极间的气隙,引燃电弧。在以前的交流TIG焊机中,曾经用高频振荡器作稳弧装置,但由于其相位控制不可靠,因此目前已很少用它作稳弧装置。

图1-6-2 高频振荡器与焊接回路的串接[5]

高压脉冲引弧在焊接回路中串接一高压脉冲发生器,在引弧时,该发生器将2000~ 3000V的高压脉冲施加到钨极和工件上,击穿气隙引燃电弧。对于直流TIG焊机来说,高压脉冲发生器与焊接回路的连接比较简单,只需通过一隔离变压器串接至焊接回路即可。对于交流TIG焊机来说,应通过一定的方式控制高压脉冲,使之叠加在反极性半波中空载电压最大的相位处,以有利于电弧的引燃。高压脉冲引弧装置也广泛用做交流TIG焊的稳弧装置,不过稳弧时,高压脉冲应施加在正半波向负半波转变的相位处。

②接触引弧 接触引弧是通过接触-回抽过程实现的。引弧时首先使钨极与工件接触,此时,短路电流被控制在较低的水平上(通常小于5A);钨极回抽后,在很短的时间内(几微秒)将电流切换为所需要的大电流,将电弧引燃。该方法仅适用于直流正接的直流氩弧焊机。其最大的优点是避开了高频电及高压脉冲的干扰,可用于计算机控制的焊接设备或焊接机器人中。

3.焊炬

焊炬又叫焊枪,是TIG焊机的关键组成部件之一。

(1)焊炬的作用 TIG焊炬又称TIG焊枪,其主要作用是:

①夹持钨极;

②传导焊接电流;

③向焊接区输出保护气体。

(2)焊炬的分类及型号编制方法 依据冷却方式可分为水冷和空冷两种。水冷焊炬用水对焊接电缆及喷嘴进行冷却,因此能够承受较大的电流。空冷焊炬结构简单、质量轻、便于操作,但允许通过的电流较小。一般来说,电流在160A以上的设备必须采用水冷焊炬。

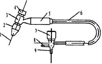
另外,按照焊炬的外部形状及特征,TIG焊炬又可分为笔式及手把式两种。图1-6-3示出了典型手把式TIG焊炬的简图。

图1-6-3 焊炬的典型结构[3]

1.钍钨极 2.陶瓷喷嘴 3.焊炬体 4.短帽 5,把手 6,电缆 7.气路开关 8.气路接头 9.电缆接头

焊炬型号的编制方法如下:

(3)手工TIG焊炬的选用 表1-6-12列出了典型的国产手工TIG焊炬的技术参数。

表1-6-12 国产手工TIG焊炬的型号及规格[5]

选用手工TIG焊炬时应考虑的因素有:工件材质、工件厚度、焊道层数、电流的种类及极性、钨极直径、坡口形式、焊接速度、接头的空间位置、经济性等。表1-6-13为手工TIG焊炬选用参照表。

表1-6-13 手工TIG焊矩的选用[3]

4.气路和水路

(1)气路系统 TIG焊机的气路系统由气瓶、减压阀、流量计、软管及气阀等组成。气瓶用于盛放氩气或氦气。减压阀用于将瓶中的高压气体压力降低至焊接所需要的压力。流量计用于控制气体的流量。电磁气阀用于控制气流的关断,其电源电压通常为24V或36V。

(2)水路系统 水路系统通以冷却水,用于冷却焊炬及电缆。通常水路中设有水压开关,当水压太低或断水时,水压开关将断开控制系统电源,使焊机停止工作,以保护焊炬不被损坏。

5.行走小车及送丝机

自动TIG焊机还配有行走小车及送丝机,以实现电弧的自动移动及焊丝的自动送进。

随便看

 

离鸟网收录3541549条中英文词条,其功能与新华字典、现代汉语词典、牛津高阶英汉词典等各类中英文词典类似,基本涵盖了全部常用中英文字词句的读音、释义及用法,是语言学习和写作的有利工具。

 

Copyright © 2004-2024 vtrois.com All Rights Reserved
更新时间:2026/4/21 3:40:07