网站首页  词典首页


请输入您要查询的字词:

 

字词 钢筋的连接
类别 中英文字词句释义及详细解析
释义

钢筋的连接


在进行钢筋混凝土结构工程施工中,常遇到钢筋长度不足而需连接的情况。钢筋连接的方式,在建筑工程中主要有焊接连接、机械连接和绑扎连接三种。

(一)钢筋的焊接连接

钢筋采用焊接连接代替绑扎连接,不仅可以提高工作效率、降低工程成本,而且还可以改善结构受力性能、节省大量钢材。钢筋焊接常用的方法有闪光对焊、电阻点焊、电渣压力焊、埋弧压力焊和气压焊等。

热轧钢筋的对接连接,应采用闪光对焊、电弧焊、电渣压力焊或气压焊等;钢筋骨架和钢筋网片的交叉焊接,宜采用电阻点焊;钢筋与钢板的T形连接,宜采用电弧焊或埋弧压力焊。电渣压力焊应用于柱、墙、烟囱等现浇混凝土结构中竖向受力钢筋的连接;不得用于梁、板等结构中水平钢筋的连接。

钢筋焊接质量好坏,主要与钢材的可焊性和焊接质量有关。钢材的可焊性与其含碳量及合金元素的含量有关。含碳量、含锰量增加,则可焊性差;若含适量的钛可改善可焊性。即使可焊性较差的钢筋,如果焊接工艺(焊接方式、焊接参数和操作水平)适当,也能获得良好的焊接质量。

1.闪光对焊

闪光对焊是利用对焊机使两段钢筋接触,通以低电压强电流,把电能转化为热能,使钢筋加热到接近熔点时,施加轴向压力进行顶锻,使两根钢筋焊合在一起,形成对焊接头。钢筋闪光对焊的原理,如图5-28所示。

图5-28 钢筋对焊原理图

1-钢筋;2-固定电极;3-可动电极;4-机座;5-焊接变压器

(1)闪光对焊工艺

闪光对焊按操作工艺不同,可分为连续闪光焊、预热闪光焊、闪光-预热-闪光焊。根据对接钢筋品种、直径和对焊机功率等进行选择。

1)连续闪光焊。先将钢筋夹在对焊机两极的钳口上,然后闭合电源,使两根钢筋轻微接触。由于钢筋端部凹凸不平,接触面很小,电流通过时电流密度和接触电阻很大,接触点很快熔化,产生金属蒸气飞溅形成闪光现象。与此同时徐徐移动钢筋,保持连续闪光,接头同时被加热,至接头端面闪平、杂质闪掉、接头熔化,随即施加适当的轴向压力迅速顶锻。先带电顶锻,随之断电顶锻,使钢筋顶锻缩短规定的长度留量,两根钢筋便焊合成一体。

在钢筋焊接过程中,由于闪光的作用,使空气不能进入接头处,同时闪去接口中原有的杂质和氧化膜,通过挤压又把已熔化的氧化物挤出,因而接头质量可得到保证。

连续闪光焊适用于焊接直径在25mm以下的HPB235级、HRB335级钢筋和直径在16mm以下的HRB400级钢筋。

2)预热闪光焊。预热闪光焊实际上是在连续闪光焊前增加一次预热过程,以扩大焊接热影响区,便于钢筋的焊接。在施焊时,闭合电源后使两钢筋的端面交替地接触和分开,这时在钢筋端面的间隙中发出断续的闪光而形成预热过程。当钢筋达到预热温度后,随即进行连续闪光和顶锻。

由于预热闪光焊增加了一个预热过程,因此可以焊接大直径的钢筋。对于直径为25mm以上且端面较平整的钢筋,宜采用预热闪光焊。预热闪光焊适用于焊接直径为20~36mm的HPB235级钢筋、直径为16~32mm的HRB335级、HRB400级钢筋以及直径12~28mm的RRB400级钢筋。

3)闪光-预热-闪光焊。闪光-预热-闪光焊是在预热闪光焊前,再增加一次闪光的过程,使钢筋的端部闪平,使钢筋预热均匀。施焊时首先连续闪光,将钢筋端部凹凸不平之处闪平,后面的操作同预热闪光焊。因此,闪光-预热-闪光焊适用于焊接直径大于25mm、且端面不平整的钢筋。

RRB400级钢筋对于氧化、淬火和过热均比较敏感,其焊接性能较差,关键在于掌握适当的焊接温度。温度过高或过低都会影响钢筋接头的质量。

(2)闪光对焊的工艺参数

闪光对焊的工艺参数,主要包括调伸长度、闪光留量、闪光速度、预热留量、预热频率、顶锻留量、顶锻速度及变压器级次等,如图5-29所示。

图5-29 闪光对焊的各项留量示意图

L1,L2-调伸长度;a1+a2-烧化留量;b1+b2-预热留量;c1+c2-顶锻留量;c1′+c2′-有电顶锻留量;c1″+c2″-无电顶锻留量a11+a21-一次烧化留量;a12+a22-二次烧化留量

1)调伸长度。指焊接前两钢筋从电极钳口伸出的长度。调伸长度的取值与钢筋品种、直径有关,应当既能使钢筋加热均匀,又使钢筋顶锻时不产生侧弯。

调伸长度的取值:HPB235级钢筋为1.0d,HRB335级、HRB400级和RRB400级钢筋取1.5d(d为钢筋直径)。

2)闪光留量。又称烧化留量,指钢筋在闪光的过程中所消耗的钢筋长度。闪光留量的选择,应使钢筋在闪光结束时端部加热均匀并达到足够的温度,其取值应根据焊接工艺方法而确定。

采用连续闪光焊时,为两钢筋切断时严重压伤部分之和,另外再加8mm;采用预热闪光焊时,为8~10mm;采用闪光-预热-闪光焊时,一次闪光留量为两钢筋切断时严重压伤部分之和,二次闪光为8~10mm。

3)闪光速度。又称烧化速度,指闪光过程的快慢,闪光速度一般应随钢筋直径增大而降低。在闪光过程中,闪光的速度由慢到快,开始时近于零,之后约每秒1mm,终止时要达到每秒1.5~2mm。这样使闪光比较强烈,以保证焊缝金属不被氧化。

4)预热留量。指采用预热闪光焊或闪光-预热-闪光焊时,预热过程中所消耗钢筋的长度。其长度随钢筋直径的增大而增加,以保证钢筋端部能均匀加热,并达到足够的温度。

预热留量的取值:采用预热闪光焊时为4~7mm。采用闪光-预热-闪光焊时为2~7mm(直径大的钢筋取大值)。

5)预热频率。指钢筋在单位时间内(s)预热的次数。对于HPB235级钢筋宜高些,一般为3~4次/s;对于HRB335级、HRB400级钢筋要适中,一般为1~2次/s。每次预热的时间应为1.5~2s,间歇时间应为3~4s,以扩大接触处加热范围,减少温度梯度。

6)顶锻留量。指钢筋在顶锻压紧后接头处挤出金属所消耗的钢筋长度。在进行顶锻时,应当先在有电流作用下顶锻,然后在断电状态下结束顶锻。因此,顶锻留量又分为带电顶锻留量和断电顶锻留量两项。

顶锻留量的取值:一般应取4~6.5mm,钢筋级别高或直径大取大值。其中带电顶锻留量占1/3,断电顶锻留量占2/3,焊接时必须控制得当。

7)顶锻速度。是指挤压钢筋接头时的速度。对焊实践证明,顶锻速度越快越好,特别是在开始顶锻的0.1s内,应迅速将钢筋压缩2~3mm,使焊接口迅速闭合不致氧化;此过程完成后断电,并以6mm/s的速度继续进行顶锻至终止。顶锻速度要快,但顶锻压力要适当。

8)变压器级次。变压器级次用以调节焊接电流的大小,应根据钢筋级别、直径、焊机容量及焊接工艺方法等具体情况进行选择。钢筋直径较小、焊接操作技术较熟练时,可选择较高的变压器级次(此时电流强度较大)。

根据焊接电流和时间的不同,变压器级次可分为强参数(电流强度大、时间短)和弱参数(电流强度小、时间长)两种,应根据实际情况进行选择。

不同直径的钢筋焊接时,它们的截面比不宜超过1.5倍,焊接参数应按粗钢筋选择,并适当减少粗钢筋的调伸长度。焊接时应先对粗钢筋预热,以使两者加热均匀。预热的方法是先用一段直径与粗钢筋相同的短钢筋,与另一段粗钢筋在对焊机上进行闪光预热,待达到预热要求时,取下短钢筋换上细钢筋进行对焊。钢筋对焊完毕后,应对全部接头进行外观检查,并按批切取部分接头进行力学性能检验。

(3)闪光对焊的质量检查

闪光对焊接头的质量检查,主要包括外观检查和力学性能试验。其力学性能试验又包括抗拉强度和冷弯性能两个方面。

1)闪光对焊接头的外观检查。闪光对焊接头表面应当无裂纹和明显烧伤,应有适当镦粗和均匀的毛刺;接头如有弯折,其角度不大于4°,接头轴线的偏移不应大于0.1d,亦不应大于2mm。外观检查不合格的接头,可将距接头左右各15mm切除再重新焊接。

2)闪光对焊接头力学性能试验。应按同一类型分批进行,每批切取6%,但不得少于6个试件,其中3个做抗拉强度试验,3个做冷弯性能试验。3个接头试件抗拉强度实测值,均不应小于钢筋母材的抗拉强度规定值;试样应呈塑性断裂且破坏点至少有两个试件断于焊接接头以外。

在进行冷弯性能试验时,由于钢筋接口靠近变压器一边(称下口),受变压器磁力线的影响较大,金属飞出较少,故毛刺也少;接口远离变压器的一边(称上口),受变压器磁力线影响较小,金属飞出较多,故毛刺也多。一般钢筋焊接后上口与下口的焊接质量不一致,故应做正弯和反弯试验,正弯试验即将上口毛刺多的一面作为冷弯圆弧的外侧。冷弯时不应出现在焊缝处或热影响区断裂,否则不论其抗拉强度多高,均判为接头质量不合格,其冷弯后外侧横向裂缝宽度不得大于0.15mm,对于HRB335、HRB400级钢筋,冷弯则不允许有裂纹出现。

在进行冷弯性能试验时,也可将受压的金属毛刺和镦粗变形部分除去,与钢筋母材的外表齐平。弯曲试验时,焊缝应处于弯曲的中心,弯曲至90°时,至少有两个试件不得发生破断。钢筋的级别不同,冷弯时的弯心直径也不同,见表5-31。

表5-31 钢筋对焊接头弯曲试验指标

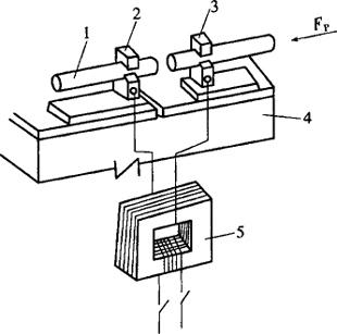
2.电阻点焊

电阻点焊是利用点焊机进行交叉钢筋的焊接,用以生产各种钢筋(丝)网片和钢筋骨架。电阻点焊可以取传统的人工绑扎,是实现钢筋安装机械化、提高生产效率、节约钢材的有效途径。焊接骨架或焊接网可提高构件的刚度和抗裂性,在混凝土中锚固优于绑扎骨架,因此制作钢筋骨架应优先采用电阻点焊。

(1)电阻点焊的工作原理

电阻点焊的工作原理,如图5-30所示。在进行施焊时,将已除锈的钢筋的交叉点放在点焊机的两个电极间,使钢筋通电发热至一定温度后,加压使焊点的金属焊合。当钢筋交叉点焊时,由于接触点只有一点,而在接触处有较大的接触电阻,因此在接触的瞬间,电流产生的热量都集中在这一点上,使金属很快地受热达到熔化焊合连接的温度,同时在电极加压下使焊点金属得到焊合。

图5-30 点焊机的工作原理图

在建筑工程施工中,常用的点焊机有单头点焊机、多头点焊机(一次可焊数点,用于焊接较宽大的钢筋网)、悬挂式点焊机(悬挂在轨道上,用于焊接平面尺寸较大的钢筋骨架和钢筋网)、手提式点焊机(用于施工现场)。

(2)电阻点焊的工艺参数

电阻点焊的主要焊接工艺参数有电流强度、通电时间、电极压力和焊点压入深度等。

1)电流强度。按电流大小焊接参数可分为强参数和弱参数两种。强参数的电流强度较大(120~360A/mm2,系指焊接电流与焊接点面积之比,其面积可采用交叉钢筋中小钢筋的断面面积);弱参数的电流强度较低(80~160A/mm2)。强参数的经济效果好,但需要大功率的点焊机。因此,在点焊热轧钢筋时,除钢筋直径大、焊机功率不足,需采用弱参数外,一般宜采用强参数,以提高生产效率。当点焊含碳量高、可焊性差的钢筋时,更应采用强参数,以保证焊接质量;冷加工钢筋点焊时,必须用强参数,以免因焊接升温而丧失冷加工获得的强度。

2)通电时间。强参数的通电时间极短,一般仅0.1~0.5s;弱参数的通电时间较长,一般为0.5s至数秒。通电时间的长短,对焊点的质量影响较大。时间过长,钢筋变软而容易压缩,或熔化过多而产生溢出现象,导致焊点强度降低;时间过短,则热量不足,焊接不良。通电时间与变压器级次、钢筋直径有关。变压器级次越高,通电时间越短;在同一级次下,钢筋直径越大,通电时间也越长。

3)电极压力。电极压力对焊点强度也有很大影响。如果电极压力过小,则接触电阻很大,钢筋易发生熔化,甚至烧坏电极;电极压力过大,则接触电阻很小,因而需延长通电时间,影响生产效率。

点焊时,部分电流会通过已焊好的各点而形成分流现象,会使得通过焊点的电流减小,降低焊点的强度。分流大小随着通路的增加而增大,随焊点距离的增加而减小。因此,点焊时应合理考虑施焊顺序,使电流分流减小;也可适当延长通电时间或增大电流,以弥补分流的影响。

4)焊点压入深度。对于不同直径钢筋的点焊,其直径之比和压入深度有严格规定。当小钢筋直径小于10mm时,钢筋直径之比不宜大于3;当小钢筋直径为12~14mm时,钢筋直径之比不宜大于2。同时应根据小直径钢筋选择焊接参数。为使焊点处有足够的抗剪能力,焊点处钢筋相互压入的深度,宜为细钢筋直径的1/4~2/5。

(3)电阻点焊的质量检查

钢筋电阻点焊的外观检查应无脱落、漏焊、气孔、裂缝、空洞以及明显烧伤现象。焊点处应挤出饱满均匀的熔化金属,并应有适量的压入深度;焊接网的长度、宽度及骨架长度的允许偏差为±10mm;焊接骨架高度的允许偏差为±5mm;网眼尺寸及箍筋间距的允许偏差为±10mm。焊点的抗剪强度不应低于小钢筋的抗拉强度;在进行拉伸试验时,不应在焊点处出现断裂;在进行弯角试验时,不应出现裂纹。

3.电弧焊

(1)电弧焊的工作原理

电弧焊是利用弧焊机使焊条与焊件之间产生高温电弧,熔化焊条和高温电弧范围内的焊件金属,冷却凝固后形成焊接接头。电弧焊的工作原理如图5-31所示。弧焊机有直流和交流之分,常用的是交流弧焊机。焊条的种类较多,宜根据钢材级别和焊接接头形式选择焊条。焊条型号选用见表5-32;焊条直径和焊接电流选用见表5-33。

图5-31 电弧焊的工作原理

表5-32 焊条型号选用表

表5-33 焊条直径和焊接电流选用表

电弧焊应用比较广泛,包括整体式和装配式混凝土结构中钢筋的接长和连接,钢筋骨架焊接以及钢筋与型钢、钢板间的焊接等。

(2)电弧焊的接头形式

钢筋电弧焊的接头形式,主要有搭接接头、帮条接头、坡口接头、钢筋与预埋铁件接头四种。

1)搭接接头。搭接接头如图5-32a所示,适用于直径10~40mm的HPB235级、HRB335级和HRB400级钢筋,其中图中括号内数值用于HRB335级和HRB400级钢筋。在焊接时,先将主钢筋的端部按搭接长度预弯,使被焊钢筋处在同一轴线上,并采用两端点焊定位,焊缝宜采用双面焊,当双面施焊有困难时,也可采用单面焊。

2)帮条接头。帮条接头如图5-32b所示,其适用范围与搭接接头相同。帮条钢筋宜与主筋同级别、同直径,如帮条与被焊接钢筋的级别不同时,还应按钢筋的计算强度进行换算。所采用帮条的总截面面积应满足:当被焊接钢筋为HPB235级钢筋时,应不小于被焊钢筋截面的1.2倍;当被焊接钢筋为HRB335、HRB400级钢筋时,应不小于被焊钢筋截面的1.5倍。

图5-32 钢筋电弧焊的接头形式

(a)搭接接头;(b)帮条接头;(c)立焊的坡口接头;(d)平焊的坡口接头

主筋端面间的间隙应为2~5mm,帮条和主筋间用四点对称定位点焊加以固定。

钢筋搭接接头和帮条接头焊接,焊缝的厚度应不小于0.3d,且大于4mm,焊缝的宽度不小于0.7d,且不小于10mm。搭接长度、帮条长度见表5-34。

表5-34 钢筋的搭接长度、帮条长度

3)坡口接头。坡口接头分为立焊和平焊两种,如图5-32c、d所示,适用于直径16~40mm的HPB235、HRB335和HRB400级钢筋。当焊接HRB400级钢筋时,应先将焊件加温处理。

4)钢筋与预埋铁件接头。可分为对接接头和搭接接头两种,对接接头又可分为角焊和穿孔塞焊,如图5-33所示。当钢筋直径为6~25mm时,可采用角焊;当钢筋直径为20~30mm时,宜采用穿孔塞焊。角焊缝焊脚K的取值(图5-33a),对于HPB235、HRB335级钢筋,应分别不小于钢筋直径的0.5~0.6倍。

图5-33 钢筋与预埋铁件接头形式

(a)角焊;(b)穿孔塞焊;(c)搭接焊

(3)电弧焊接头质量检查

电弧焊接头的外观检查包括:焊缝平顺,不得有裂纹,没有明显的咬边、凹陷、焊瘤、夹渣和气孔。用小锤敲击焊缝应发出与其本金属同样的清脆声;焊缝尺寸与缺陷的偏差按规范规定。

坡口接头除应进行外观检查和超声波探伤外,还应分批切取1%的接头进行切片观察(指焊缝金属部分)。切片经磨平后,其内部应没有裂缝和大于规定的气孔和夹渣。经切片后的焊缝处,允许用相同的焊接工艺进行补焊。

4.电渣压力焊

电渣压力焊在建筑工程施工中应用十分广泛,多用于现浇钢筋混凝土结构竖向钢筋的接长,但不适用于水平钢筋或倾斜钢筋(斜度小于4∶1)的连接,也不适用于可焊性较差的钢筋连接。

(1)电渣压力焊的工作原理

电渣压力焊是将两根钢筋安放成竖向对接形式,利用焊接电流通过两根钢筋端面间隙,在焊剂层下形成电弧和电渣过程,从而产生电弧热和电阻热,将两根钢筋端部熔化,然后施加压力使钢筋焊合。这种方法与电弧焊相比,具有工作条件好、工效高、成本低、易于掌握、节省能源和钢筋等优点。

(2)电渣压力焊的焊接工艺

电渣压力焊的焊接工艺,主要包括:焊接设备与焊剂、焊接参数和施工工艺。

1)焊接设备与焊剂。钢筋电渣压力焊设备为钢筋电渣压焊机,有手动压力焊机和自动压力焊机两类。在建筑工程中常用的钢筋电渣压力焊机,主要包括焊接电源、焊接机头、焊接夹具、控制箱和焊剂盒等组成,如图5-34所示。焊接电源宜采用BX2-1000型焊接变压器;焊接夹具应具有一定刚度,使用灵巧,坚固耐用,上下钳口同心;控制箱内安有电压表、电流表和信号电铃,能准确控制各项焊接参数;焊剂盒由铁皮制成内径为90~100mm的圆形,与所焊接的钢筋直径相适应。

图5-34 电渣压力焊示意图

电渣压力焊所用的焊剂,一般采用431型焊药。焊剂在使用前必须在250℃温度中烘烤2h,以保证焊剂容易熔化,形成渣池。焊接机头有杠杆单柱式和螺杆传动式两种。杠杆单柱式焊接机头,由单导柱、夹具、手柄、监控仪表、操作把等组成。下夹具固定在钢筋上,上夹具利用手动杠杆可沿单柱上下滑动,以控制上钢筋的运动和位置。螺杆传动式双柱焊接机头,由伞形齿轮箱、手柄、升降螺杆、夹紧装置、夹具、双导柱等组成。上夹具在双导柱上滑动,利用螺杆螺母的自锁特性,使上钢筋易定位,夹具定位精度高,卡住钢筋后不需要调整对中,电流通过特制焊把钳直接夹在钢筋上。

2)电渣压力焊的焊接参数。钢筋电渣压力焊的焊接参数,主要包括焊接电流、焊接电压和焊接通电时间,在一般情况下,这三个焊接参数应符合表5-35中的规定。对于竖向钢筋电渣压力焊,其焊接参数可参考表5-36中的数值;全封闭自动钢筋竖、横电渣压力焊焊接参数,可参考表5-37中的数值。

表5-35 常用钢筋电渣压力焊主要焊接参数

表5-36 竖向钢筋电渣压力焊焊接参数

表5-37 全封闭自动钢筋竖、横电渣压力焊焊接参数

注:本表仅作为焊前试焊时的初始值,当施工现场电源电压偏离额定值较大时,应根据实际情况作适当修正。例如:当焊包偏小时,可适当增大造渣过程的时间数值或工作电流数值。

3)电渣压力焊的施工工艺。钢筋电渣压力焊的施工工艺,主要包括端部除锈、固定钢筋、通电引弧、快速顶压、焊后清理等工序,具体施工工艺过程如下:

①钢筋在调直后,对两根钢筋端部120mm范围内,进行认真地除锈和清理杂质工作,以便于很好地焊接,确保焊接质量。

②在钢筋电渣压焊机机头的上、下夹头,分别夹紧要焊接的上、下钢筋,钢筋应保持在同一条轴线上,一经夹紧不得出现晃动。

③电渣引弧过程:在焊接夹具夹紧上、下钢筋,钢筋端面处安放引弧铁丝球,将焊剂灌入焊剂盒,接通电源,引燃电弧。

④造渣过程:由于电弧的高温作用,将钢筋端面周围的焊剂充分熔化,从而形成渣池。

⑤电渣过程:钢筋端面处形成一定深度的渣池后,将上钢筋缓慢插入渣池中,此时电弧熄灭,渣池电流加大。由于渣池的电阻较大,温度迅速升至2000℃以上,将钢筋端头熔化。

⑥挤压过程:待钢筋端头熔化达一定程度后,施加一定挤压力,将熔化金属和熔渣从结合部挤出,同时切断电源。

⑦接头焊完后,应停歇一定时间,才能回收焊剂和卸下焊接夹具,并敲掉粘在钢筋上的渣壳;四周焊缝应均匀,凸出钢筋表面的高度应大于或等于4mm。

(3)电渣压力焊的质量检查

电渣压力焊的质量检查,主要包括外观检查和拉伸试验。

1)外观检查。钢筋电渣压力焊的接头,应逐个进行外观检查。接头的外观检查结果,应符合下列要求:四周焊包凸出钢筋表面的高度,应不得小于4mm;钢筋与电极的接触处,应无烧伤缺陷;接头处的弯折角,不得大于4°;接头处的轴线偏移不得大于钢筋直径的0.1倍,且不得大于2mm。

2)拉伸试验。钢筋电渣压力焊的接头,应进行力学性能试验。在一构筑物中,应以300个同级别钢筋接头作为一批;在现浇钢筋混凝土多层结构中,应以每一楼层或施工区段中300个同级别钢筋接头作为一批,不足300个接头的仍应作为一批。

从每批钢筋接头中随机切取3个试件做拉伸试验,其试验结果:3个试件的抗拉强度均不得小于该级别钢筋规定的抗拉强度。

当试验结果中有1个试件的抗拉强度低于规定值,应再切取6个试件进行复验。当复验中仍有1个试件的抗拉强度小于规定值,应确认该批接头为不合格品。

5.钢筋气压焊

(1)钢筋气压焊的工作原理

钢筋气压焊是采用一定比例的氧气和乙炔焰为热源,对需要焊接的两根钢筋端部接缝处进行加热烘烤,使钢筋端部达到热塑状态,同时对钢筋施加一定的轴向压力,使钢筋顶锻在一起。这种焊接方法属于固相焊接,其机理是在还原性气体的保护下,发生塑性流变后相互紧密接触,促使端面金属晶体相互扩散渗透、再结晶、再排列,从而形成牢固的对焊接头。

钢筋气压焊具有设备简单、操作方便、质量较好、成本较低等特点,不仅适用于竖向钢筋的连接,也适用于各种方向布置的钢筋连接。适用于直径40mm以下的HPB235、HRB335级钢筋的连接,当不同直径钢筋焊接时,两钢筋直径差不得大于7mm。

(2)钢筋气压焊的设备组成

钢筋气压焊的设备组成,主要包括氧气和乙炔供气设备、加热器、加压器及钢筋卡具等组成,如图5-35所示。

图5-35 钢筋气压焊的设备组成

1-脚踏液压泵;2-压力计;3-液压胶管;4-活动液压泵;5-夹具;6-焊枪;7-氧气瓶;8-乙炔瓶;9-接头;10-钢筋

供气设备包括氧气瓶、乙炔气瓶(或中压乙炔发生器)、干式回火防止器、减压器及输气胶管等。加热器是一种多嘴环形装置,由混合气管和多火口烤枪组成。加压器由顶锻液压缸、液压泵、液压管、液压表等组成。钢筋卡具应能牢固夹紧钢筋,当钢筋承受最大轴向压力时,钢筋与夹具之间不得产生相对滑移;并应便于钢筋的安装定位,在施焊过程中能保持其刚度。

(3)钢筋气压焊的施工工艺

钢筋气压焊的施工工艺,主要包括钢筋端部处理、安装钢筋、喷焰加热、施加压力等过程。一般应按下列步骤进行施工:

1)在气压焊施焊之前,将钢筋的端面切平,并使切面与钢筋轴线垂直;在钢筋端部两倍直径的长度范围内,清除其表面上的附着物;钢筋边角毛刺及断面上的铁锈、油污和氧化膜等,应彻底清除干净,使其露出金属的光泽,不得有氧化现象。

2)在安装焊接夹具和钢筋时,应将两根钢筋分别夹紧,并使两根钢筋的轴线在同一条直线上。钢筋安装后应加压顶紧,两根钢筋之间的局部缝隙不得大于3mm。

3)气压焊的开始阶段,宜采用碳化焰,对准两根钢筋的接缝处集中加热,并使其内焰包住缝隙,防止端面产生氧化。当加热至两根钢筋缝隙完全密合后,应当改用中性焰,以结合面处为中心,在两侧各一倍钢筋直径长度范围内往复加热。钢筋端面的加热温度,控制在1150~1250℃;钢筋端面表面的加热温度应稍高于该温度,加热温度由钢筋直径大小而产生的温度梯度差而确定。

4)待钢筋端部达到预定的温度后,对钢筋施加一个30~40MPa的轴向压力,直到焊缝处对称均匀变粗,即此处直径为钢筋直径的1.4~1.6倍,变形长度为钢筋直径的1.3~1.5倍。

5)通过施加轴向压力,待钢筋接头的镦粗区形成规定的形状时,停止对钢筋的加热和加压,拆下焊接夹具。

(4)钢筋气压焊的质量检查

钢筋气压焊的质量检查,主要包括外观检查和力学性能试验两项。其中力学性能试验又包括拉伸试验和弯曲试验。

1)外观检查。钢筋气压焊的接头应逐个进行外观检查,其检查结果应符合下列要求:

①偏心量e不得大于钢筋直径的0.15倍,且不得大于4mm;当不同直径钢筋焊接时,应按较小钢筋直径计算。当偏心量大于规定值时,应当切除重新焊接。

②两钢筋的轴线弯折角不得大于4°,当大于规定值时,应当重新加热进行矫正。

③镦粗钢筋直径dc不得小于钢筋直径的1.4倍。当小于此规定值时,应当重新加热镦粗。

④镦粗长度Lc不得小于钢筋直径的1.2倍,且凸起部分平缓圆滑。当小于此规定值时,应当重新加热镦粗。

⑤压焊面偏移db不得大于钢筋直径的0.2倍。

2)拉伸试验。对一般构筑物,以300个接头作为一批;现浇钢筋混凝土多层结构中,应以每一楼层或施工区段中300个同级别钢筋接头作为一批,不足300个接头的仍应作为一批。

从每批钢筋接头中随机切取3个试件做拉伸试验,其试验结果:3个试件的抗拉强度均不得小于该级别钢筋规定的抗拉强度,并应拉断于压焊面之外,呈延性断裂。当有1个试件不符合要求时,应切取6个试件进行复检;如果复检仍有1个试件不符合要求,则确认该批钢筋接头为不合格品。

3)弯曲试验。对用于梁、板的水平钢筋中,每批中应另切取3个接头进行弯曲试验。在进行弯曲试验前,应将试件受压面的凸起部分消除,并应与钢筋外表面齐平,弯心直径应符合规范规定。

弯曲试验可在万能试验机、手动或电动液压弯曲试验器上进行;压焊面应处在弯曲中心点,弯曲90°,3个试件均不得在压焊面处发生断裂。当弯曲试验中有1个试件不符合要求时,应切取6个试件进行复检;如果复检仍有1个试件不符合要求,则确认该批钢筋接头为不合格品。

(二)钢筋的机械连接

钢筋的机械连接是最近几年迅速发展的一项钢筋连接技术。钢筋机械连接是通过机械手段将两根钢筋进行对接,其连接方法分类及适用范围见表5-38。

表5-38 钢筋机械连接方法分类及适用范围

钢筋机械连接是通过连接件的机械咬合作用或钢筋端面的承压作用,使两根钢筋能够传递力的连接方法。钢筋机械连接接头质量可靠,现场操作简单,施工速度较快,无明火作业,不受气候影响,适应性很强,而且可用于可焊性较差的钢筋,是我国从“九五”期间就开始推广的新技术之一。

1.钢筋套筒挤压连接

钢筋套筒挤压连接是将两根待连接钢筋插入特制的钢质连接套筒内,再采用专用挤压机在常温下对连接套筒进行加压,使钢质连接套筒产生塑性变形后与待连接钢筋端部形成机械咬合,从而形成可靠的钢筋连接接头。钢筋套筒挤压连接又分为径向挤压和轴向挤压两种作业方式。

(1)钢筋套筒径向挤压连接

钢筋套筒径向挤压连接是沿套筒直径方向,从套管中间依次向两端挤压套筒,使之冷塑变形后,把插在套管里的两根钢筋紧紧地咬合成一体,如图5-36所示。这种挤压连接方法适用于带肋钢筋的连接,可连接HRB335级和HRB400级直径为12~40mm钢筋。

图5-36 径向套筒挤压连接示意图

(2)钢筋套筒轴向挤压连接

钢筋套筒轴向挤压连接是沿钢筋轴线冷挤压金属套筒,从而把插入套管里的两根待连接的热轧带肋钢筋紧紧地连成一体,如图5-37所示。这种挤压连接方法适用于一、二级抗震设防的地震区和非地震区的钢筋混凝土结构工程的钢筋连接,可连接HRB335、HRB400级直径为20~32mm竖向、斜向和水平钢筋。

图5-37 轴向套筒挤压连接示意图

(a)钢筋半接头挤压;(b)钢筋连接挤压

钢套筒的材料和几何尺寸应符合接头规格及技术要求,如表5-39所示,并应有材料质量合格证明书和出厂合格证,其外观质量检查要求表面不得有影响性能的裂缝、折叠、分层等缺陷。套管的标准屈服承载力和极限承载力应比钢筋大10%以上,套管的保护层厚度不宜小于15mm,净距不宜小于25mm。当所用套管外径相同时,钢筋直径相差不宜大于两个级差。

表5-39 钢套筒的规格和尺寸

(3)钢筋套筒挤压连接的质量检查

钢筋套筒挤压连接的质量检查,主要包括外观检查和拉力试验。

1)外观检查。外观检查采用专用工具或游标卡尺进行检测。钢筋连接端的肋纹完好无损,连接处无油污、水泥等的污染。要检查接头挤压道数和压痕尺寸:钢筋端头离套筒中心不应超过10mm,压痕间距宜为1~6mm,挤压后的套筒接头长度为套筒原长度的1.10~1.15倍,挤压后套筒接头外径,用量规测量应能通过。量规不能从挤压套管接头外径通过的,可更换压模重新挤压一次,压痕处最小外径为套管原外径的0.85~0.90倍。挤压接头处不得有裂纹,接头弯折角度不得大于4°。

2)拉力试验。以同批号钢套筒且同一制作条件的500个接头为一个验收批,不足500个仍为一个验收批,从每验收批接头中随机抽取3个试件进行拉力试验。如试验结果中有1个试件不符合要求,应再抽取6个试件进行复验。如仍有1个试件不符合要求,则该验收批接头不合格。

2.钢筋锥螺纹套筒连接

(1)钢筋锥螺纹套筒连接的连接原理

钢筋锥螺纹套筒连接是将两根待连接钢筋的端部和套筒预先加工成锥形螺纹,然后用力矩扳手将两根钢筋端部旋入套筒形成机械式钢筋接头,如图5-38所示。这种连接方式能在施工现场连接HPB235、HRB335、HRB400级直径为16~40mm的同直径或异直径的竖向、水平和任意倾角的钢筋,并且不受钢筋有无螺纹及含碳量大小的限制。当连接异直径钢筋时,所连接钢筋直径之差不应超过9mm。

图5-38 钢筋锥螺纹套筒连接示意图

(2)钢筋锥螺纹套筒连接的特点及适用范围

钢筋锥螺纹套筒连接具有连接速度快、轴线偏差小、施工工艺简单、安全可靠、无明火作业、不污染环境、节约钢材、节省能源、可全天候施工、有利文明施工等特点,有明显的技术经济效益。适用于按一、二级抗震设防的一般工业与民用房屋及构筑物的现浇混凝土结构,尤其适用梁、柱、板、墙、基础的钢筋连接施工。但不得用于预应力筋或经常承受反复动荷载及承受高应力疲劳荷载的结构。

(3)钢筋锥螺纹套筒连接的质量检查

钢筋锥螺纹套筒连接的抗拉强度必须大于钢筋的抗拉强度。锥形螺纹可用锥形螺纹旋切机加工;钢筋用套丝机进行套丝。钢筋接头拧紧力矩值见表5-40。

表5-40 钢筋接头拧紧力矩值

钢筋锥螺纹套筒连接的接头质量,应符合以下要求:

1)钢筋套丝牙型质量必须与牙型规格吻合,锥螺纹的完整牙数不得小于表5-41中的规定值;钢筋锥螺纹小端直径必须在卡规的允许误差范围内,连接套筒的规格必须与钢筋规格一致。

表5-41 钢筋锥螺纹的完整牙数

2)钢筋接头的拧紧力矩值检查。按每根梁、柱构件抽验1个接头;板、墙、基础底板构件每100个同规格接头作为一批,不足100个接头也作为一批。每批抽验3个接头,要求抽验的钢筋接头100%达到规定的力矩值。如发现1个接头不合格,必须加倍抽验,再发现1个接头达不到规定力矩值,则要求该构件的全部接头重新复拧到符合质量要求。若复检时仍发现不合格接头,则该接头必须采取贴角焊缝补强,将钢筋与连接套焊在一起,焊缝高不小于5mm。连接好的钢筋接头螺纹,不准有一个完整螺纹外露。

3.钢筋直螺纹套筒连接

(1)钢筋直螺纹套筒连接的连接原理

钢筋直螺纹套筒连接是通过钢筋端头特制的直螺纹和直螺纹套管,将两根钢筋咬合在一起。与钢筋锥螺纹套筒连接的技术原理相比,相同之处都是通过钢筋端头的螺纹与套筒内螺纹合成钢筋接头,主要区别在钢筋等强技术效应上。

(2)钢筋直螺纹套筒连接的连接形式

钢筋锥螺纹套筒连接的连接形式有两种:

1)滚压直螺纹接头。滚压直螺纹连接也称为GK型锥螺纹钢筋连接,是在钢筋端头先采用对辊滚压,使钢筋端头应力增大,而后采用冷压螺纹(滚丝)工艺加工成钢筋直螺纹端头,套筒采用快速成孔切削成内螺纹钢套筒,这种对钢筋端部的预压冷硬化处理,使其强度比钢筋母材提高10%~20%,因而使锥螺纹的强度也相应得到提高,弥补了因加工锥螺纹减小钢筋截面而造成接头承载力下降的缺陷,从而可提高锥螺纹接头的强度。

钢筋端头预压应进预压机(GK40型)上进行,操作时采用的压力值、油压值和预压成形次数,应符合产品供应单位通过检验确定的技术参数要求,如表5-42所示。

表5-42 预压操作时压力值、油压值及预压成形次数

2)镦头直螺纹接头。是在钢筋端头先采用设备顶压增径(镦头),使钢筋端头应力增大,而后采用套丝工艺加工成等直径螺纹端头,套筒采用快速成孔切削成内螺纹钢套筒,简称为镦头直螺纹接头或镦粗切削直螺纹接头。

在钢筋端部进行镦粗加工时,应先调直、后下料,切口端面应与钢筋轴线垂直,不得有马蹄形或挠曲。钢筋镦粗后的镦粗量参考数据见表5-43。

表5-43 钢筋的镦粗量参考数据

(3)钢筋直螺纹套筒连接的特点

以上两种方法都能有效地增强钢筋端头母材的强度,使直螺纹接头与钢筋母材等强。这种接头形式使结构强度的安全度和地震情况下的延性具有更大的保证,钢筋混凝土截面对钢筋接头百分率放宽,大大地方便了设计与施工;等强直螺纹接头施工采用普通扳手旋紧即可,对螺纹少旋入1~2丝不影响接头强度,省去了锥螺纹力矩扳手检测和疏密质量检测的繁杂程度,可提高施工工效;套筒丝距比锥螺纹套筒丝距少,可节省套筒钢材;此外,还有设备简单、经济合理、应用范围广等优点。

(4)等强直螺纹连接套筒的类型

等强直螺纹连接套筒的类型,主要有标准型(用于HRB335级、HRB400级带肋钢筋)、扩口型(用于钢筋难于对接的施工)、变径型(用于钢筋变径时的施工)、正反螺纹型(用于钢筋不能转动时的施工)。套筒的抗拉设计强度不应低于钢筋抗拉设计强度的1.2倍。为确保接头强度大于现行国家标准中A级的标准,接头抗拉设计强度应取钢筋母材实测抗拉强度或取钢筋母材标准抗拉强度的1.10倍。

4.机械连接接头的现场检验

钢筋机械连接接头的现场检验应按验收批进行。对于同一施工条件下采用同一批材料的同等级、同形式、同规格的钢筋接头,以500个接头为一个检验批,不足500个也作为一个检验批。对每一个检验批,必须随机取3个试件做单向拉伸试验,按设计要求的接头性能A、B、C等级进行检验和评定。

(三)钢筋的绑扎连接

1.钢筋绑扎连接的基本要求

(1)纵向受力钢筋的连接方式应符合设计要求。

(2)钢筋绑扎接头宜设置在受力较小处。同一纵向受力钢筋不宜设置两个或两个以上接头。钢筋接头末端至钢筋弯起点的距离,不应小于钢筋直径的10倍。

(3)同一构件中纵向受力钢筋的绑扎搭接接头宜相互错开。绑扎搭接接头中钢筋的横向净距不应小于钢筋直径,且不应小于25mm。

(4)钢筋绑扎搭接接头连接区段的长度,一般为1.3倍的搭接长度,凡搭接接头中点位于该连接区段长度内的搭接接头均属于同一连接区段。在同一连接区段内,纵向钢筋搭接接头面积百分率,为该区段内有搭接接头的纵向受力钢筋截面面积与全部纵向受力钢筋截面面积的比值。

(5)在同一连接区段内,纵向受力钢筋搭接接头截面面积百分率应符合设计要求;当设计中无具体要求时,应符合下列规定:

1)对于梁、板类及墙类钢筋混凝土构件,纵向受力钢筋搭接接头截面面积百分率不宜大于25%。

2)对于柱类钢筋混凝土构件,纵向受力钢筋搭接接头截面面积百分率不宜大于50%。

3)当工程中确有必要增大接头面积百分率时,对于梁类构件纵向受力钢筋搭接接头截面面积百分率不应大于50%;对于其他构件,可根据实际情况适当放宽。

(6)纵向受力钢筋搭接接头的最小搭接长度应符合下列规定:

1)当纵向受力钢筋搭接接头截面面积百分率不大于25%时,其最小搭接长度应符合表5-44中的规定。

表5-44 纵向受力钢筋的最小搭接长度

2)当纵向受力钢筋搭接接头截面面积百分率大于25%,但不大于50%时,其最小搭接长度应按表5-44中的数值乘以系数1.2取用;当纵向受力钢筋搭接接头截面面积百分率大于50%时,应按表5-44中的数值乘以系数1.35取用。

3)当符合下列条件时,纵向受力钢筋的最小搭接长度应根据上述1)、2)条确定后,按下列规定进行修正:

①当带肋钢筋的直径大于25mm时,其最小搭接长度应按相应数值乘以系数1.10取用。

②对环氧树脂涂层的带肋钢筋,其最小搭接长度应按相应数值乘以系数1.25取用。

③当在混凝土凝固过程中受力钢筋易受拔动时(如液压滑模施工),其最小搭接长度应按相应数值乘以系数1.10取用。

④对末端采用机械锚固措施的带肋钢筋,其最小搭接长度应按相应数值乘以系数0.70取用。

⑤当带肋钢筋的混凝土保护层厚度大于搭接钢筋直径的3倍且配有箍筋时,其最小搭接长度应按相应数值乘以系数0.80取用。

⑥对有抗震设防要求的结构构件,其受力钢筋的最小搭接长度,对于一、二级抗震等级应按相应数值乘以系数1.15取用;对于三级抗震等级应按相应数值乘以系数1.05取用。在任何情况下,受拉钢筋的搭接长度不应小于300mm。

4)纵向受压钢筋搭接时,其最小搭接长度应根据以上1)~3)的规定确定相应数值后,乘以系数0.70取用。在任何情况下,受压钢筋的搭接长度不应小于200mm。

2.钢筋绑扎连接的控制要点

(1)在钢筋搭接处,交叉点都应在中心和两端用铁丝扎牢。

(2)焊接骨架和焊接网采用绑扎连接时,应符合下列规定:

1)焊接骨架和焊接网的搭接接头,不宜位于构件的最大弯矩处。

2)焊接网在非受力方向的搭接长度,不宜小于100mm。

3)受拉焊接骨架和焊接网在受力钢筋方向的搭接长度,应符合设计规定;受压焊接骨架和焊接网在受力钢筋方向的搭接长度,可取受拉焊接骨架和焊接网在受力钢筋方向的搭接长度的0.70倍。

(3)在绑扎骨架中非焊接的搭接接头长度范围内,当搭接钢筋为受拉时,其箍筋的间距不应大于5d,且不应大于100mm;当搭接钢筋为受拉时,其箍筋的间距不应大于10d,且不应大于200mm(d为受力钢筋中的最小直径)。

(4)钢筋绑扎用的铁丝,可采用20~22号铁丝(火烧丝)或镀锌铁丝(铅丝),其中22号铁丝只用于绑扎直径12mm以下的钢筋。钢筋绑扎时铁丝所用长度,可参考表5-45。

表5-45 钢筋绑扎时铁丝所用长度参考表

(5)控制混凝土保护层应采用水泥砂浆垫块或塑料卡。水泥砂浆垫块的厚度应等于保护层厚度。垫块的平面尺寸:当保护层厚度等于或小于20mm时为30mm×30mm;当保护层厚度大于20mm时为50mm×50mm。当在垂直方向使用水泥砂浆垫块时,可在垫块中埋入20号铁丝。

随便看

 

离鸟网收录3541549条中英文词条,其功能与新华字典、现代汉语词典、牛津高阶英汉词典等各类中英文词典类似,基本涵盖了全部常用中英文字词句的读音、释义及用法,是语言学习和写作的有利工具。

 

Copyright © 2004-2024 vtrois.com All Rights Reserved
更新时间:2026/4/17 17:39:00