网站首页  词典首页


请输入您要查询的字词:

 

字词 配方及工艺条件
类别 中英文字词句释义及详细解析
释义

配方及工艺条件


(一)配方

1.聚氯乙烯软板

软板主要用作耐腐蚀衬里、地板、壁板等,对强度要求不高。在配方上可不作特殊考虑。

软制品中由于增塑剂的用量较多,故可选用粘度较高的树脂,如XJ-2型或XJ-3型,SG-2型或SG-3型。

为降低成本,增塑剂可从增塑效率高的邻苯二甲酸二丁酯和价廉的石油脂或氯化石蜡为主。

不透明的软板通常都在室内使用,可不考虑耐光性,故常用三盐基性硫酸铅和硬脂酸钡作稳定剂和润滑剂。

配方见表4-3-5。

表4-3-5 聚氯乙烯软板配方实例

2.聚氯乙烯硬板

由于硬制品要求有较高的强度,理应不加增塑剂,但不加时,成型温度高,难于成型,并且容易分解,所以通常仍加入少量增塑剂。根据同样的理由,树脂应选用低粘度的,如XJ-4或XJ-5型。

不透明制品中的稳定剂,可选用三盐基性硫酸铅或与硬脂酸钡、铅和无机铅盐并用。用这些物质作稳定剂时,其热稳定性好,并兼具润滑性,但会提高成型温度并造成污染,应予控制。透明制品中不可使用铅系稳定剂,通用有机锡或液体钡镉系稳定剂(参见第二章)。室外使用的制品其中要加紫外线吸收剂。

硬制品中因增塑剂加入量不多,为便于成型应加入润滑剂(如石蜡),但用量不可超过1份。否则会析出甚至会使物料在螺杆上打滑,减少挤出量。

填料的作用和选择参见助剂一章,聚氯乙烯硬板配方实例见表4-3-6。

表4-3-6 聚氯乙烯硬板配方实例

(二)成型工艺

1.螺杆温度控制

螺杆温度调节得当,可以增加挤出量,减少挤出成型机的脉冲,使物料混合良好,提高板材光泽度。

螺杆温度,一般是用通入冷却水(或空气)和电热系统配合控制的。

2.机头温度控制

机头温度,是将机头分成若干区段分别控制的。机头温度一般比机身高5~10℃,若过低,板材表面光泽度和拉伸强度差、易裂、板内常有小孔。

3.温度控制举例

挤出温度随挤出成型机和制品规格不同而有所差异,表4-3-7所列是L/D=25,Φ150mm的挤出成型机各部的温度。

表4-3-7 挤出温度控制举例

①在外套测得的温度。

4.厚度控制

板、片材厚度均匀度的控制,是通过模唇间隙的调节来实现的,但一般应在开车前调整好,最好依次调节,在调整过程中,要用塞规仔细检查。

5.光泽度控制

影响板材光泽度的因素很多,如熔融物料的温度,螺杆转速,压光机的表面粗糙度等。提高熔融物料的温度,降低螺杆的转速,降低压光机辊筒表面的粗糙度值,板材的光泽度提高。在中辊旁设置加热器,也有利于提高光泽度(如图4-3-30)。

图4-3-30 中辊旁加热

1-挤出成型机 2-机头 3-加热器

降低光泽度的最简单方法,是降低模唇的温度,如利用空气冷却挤出部分,或用模唇内部油冷却(图4-3-31、图4-3-32)。但也可以采用后饰技术,如喷砂等。

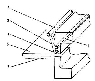
图4-3-31 口模冷却

1-油冷却槽 2-空气冷却管 3-冷却空气 4-被冷却的口模 5-板材 6-挤出方向

图4-3-32 挤出物光泽度与口模温度的关系在入射角为75°时的反射率

(三)三辊压光机操作

三辊与机头距离应尽可能小,一般为5~10mm,若距离太大,板易下垂发皱,光泽度不好。

三辊机的上、中辊之间的距离,一般等于或稍大于板片材的厚度,中、下辊之间的距离一般为20~30mm。三辊牵引速度与挤出成型机的线速度应尽可能一致,否则会出现堆料。

辊筒温度应控制适当,过低板不易贴辊,表面易产生斑点、无光泽,同时为防止增塑剂蒸发凝聚,辊筒温度也应足够高,但不能使板粘辊,一般控制范围如表4-3-8,在正常生产后,一般不加热。

表4-3-8 三辊压光机参数温度

(四)两辊牵引机操作

两辊牵引的线速度应比三辊压光辊线速度稍快,以保持一定的张力。但过快时会使板材产生较大的内应力,在二次加工再加热或在使用过程中受热时,板材就会发生较大的收缩、翘曲,甚至破裂。

随便看

 

离鸟网收录3541549条中英文词条,其功能与新华字典、现代汉语词典、牛津高阶英汉词典等各类中英文词典类似,基本涵盖了全部常用中英文字词句的读音、释义及用法,是语言学习和写作的有利工具。

 

Copyright © 2004-2024 vtrois.com All Rights Reserved
更新时间:2026/4/20 2:08:16