网站首页  词典首页


请输入您要查询的字词:

 

字词 速溶豆乳粉加工装备
类别 中英文字词句释义及详细解析
释义

速溶豆乳粉加工装备


1 概述

速溶豆乳粉加工装备是以大豆为主要原料,甜味剂及营养补剂等为辅料,按一定工艺要求加工成速溶豆乳粉所需的设备。该加工成套设备在工艺上稍作调整后,也可进行豆乳粉的加工生产。该加工成套设备及工艺技术是近年来开发的新技术。采用的工艺技术主要是半湿法工艺。全部加工设备国内都能制造提供。整个生产过程基本上是连续化生产,在温度控制等方面也已采用了自动控制装置。

2 加工工艺(图1-14-27)

图1-14-27 半湿法速溶豆乳粉加工工艺流程图

从工艺流程中可以看出,速溶豆乳粉的生产工艺与速溶豆浆晶的生产工艺基本相似,其关键区别在干燥操作方法不同,前者采用喷雾干燥处理,干燥出来即呈粉末状速溶豆乳粉,因而不需进行破碎工序。由于整个生产过程可连续进行,因而周期短,但由于喷雾干燥时,操作温度高,蛋白质易变性,故其制品的溶解性要比速溶豆浆晶差些。

从工艺流程可知,从大豆清选至均质的加工工艺及操作方法与豆奶加工相同,有关说明参见本章第4节相关内容。

2.1 浓缩

采用喷雾干燥法,所得到的速溶豆乳粉的颗粒大小,在其他操作条件相同的前提下,与进入喷雾时的料液浓度有关,料液浓度高、易得到较大的颗粒。一般认为速溶豆乳粉的颗粒在150μm左右时,其溶解性最好,而小于75μm的细粉在冲调时,易形成粉团漂浮在液面上而影响溶解性。为了在喷雾干燥时,能得到较大颗粒,一般将豆奶浓缩到固形物含量在45%~50%。另则,在脱除相等量水分时,浓缩比干燥的能耗要低,因而也节约了能源。豆奶的粘滞度是浓度增高而增加。故选用对粘滞性适应性较好的双效降膜蒸发器。

2.2 二次均质

通过二次均质,进一步细化脂肪球及微小固形物颗粒,有利于改善制品的冲调性及口感。操作条件同一次均质。也有工艺中不再进行二次均质,浓缩后即进行喷雾干燥。使用的设备为高压均质机。

2.3 喷雾干燥

采用喷雾干燥方法,将浓豆浆制成含水量小于3%的呈粉末状的速溶豆乳粉。喷雾干燥是整个生产过程中的关键工序,也是与速溶豆浆晶生产工艺的实质区别所在。我们知道速溶豆乳粉颗粒的大小影响其溶解性和速度,大颗粒的易溶,速溶性也好。喷雾干燥所形成的颗粒大小,与料液的浓度及粘滞性、喷雾方式、干燥条件及输粉方式等因素有关,因而需综合考虑、恰当配合,以得到较大颗粒的制品。喷雾方式采用离心喷雾,因它比压力喷雾易调节,调节范围也较大,易制得较大颗粒的制品,调节时只需通过改变转速和浓度就可实施;进料温度45~60℃左右;干燥塔进风温度一般为150~200℃,排风温度60~90℃;用振动输粉机或关风机连续出粉。出粉后应立即进行冷却。使用设备为离心式喷雾干燥机。

2.4 冷却

从喷雾干燥机出来的粉温一般在80~90℃,为防止蛋白质长时间受热变性,而影响速溶豆乳粉的溶解性。要求出粉后,应立即进行冷处理,使粉温迅速降到30℃以下。冷风应进行净化及除湿处理,以免污染及冷凝水进入粉料,而影响产品质量。一般采用振动流化床冷却机进行吹冷风冷却。由于在冷却过程中,细粉被废气流带走经旋风分离器回收。因而也起到了一定的筛粉的作用。故可不再进行单独筛粉作业,而直接进入包装。

2.5 筛粉

通过筛粉去除细粉,减少细粉的含量有利于改善速溶豆乳粉的溶解性。筛上物为成品。筛下物为细粉,细粉收集起来可与从喷雾干燥机废气流及冷却机废气流中回收的细粉一起用风机吹入喷雾干燥机内,与从离心喷雾器出来的雾滴混合重新干燥。这样既利用了细粉,也有利于颗粒的增大。起到了改善产品速溶性和提高了容重。使用的设备为振动筛。

2.6 包装

包装可采用速溶豆浆晶的包装方式。包装材料采用塑料。封口要严密,以防漏气。

3 关键设备

从清选到均质工序所采用的设备与加工豆奶相同,请参见本章第4节豆奶加工装备中的有关内容。

3.1 双效降膜蒸发器

浓缩经脱臭后的豆奶用双效降膜蒸发器。其工作原理参见本篇第8章第2节。

3.2 离心喷雾干燥机

用以干燥经浓缩后的豆奶,其结构及工作原理参见第8章第3节。

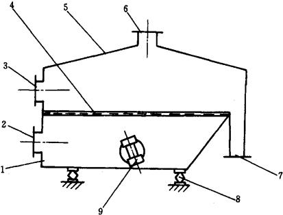
3.3 振动流化床冷却机(图1-14-28)

图1-14-28 振动流化床冷却机

1-本体 2-冷风进口 3-进料口 4-筛板 5-上盖 6-废气出口 7-出料口 8-减振器 9-振动电动机

用于将从喷雾干燥机出来的高温速溶豆乳粉的迅速冷却。该机使用时需配上振动输粉机、空气过滤器及冷却器、旋风分离器和出料器等附属设备,与附属设备均采用软连接(图1-14-29)。

图1-14-29 振动流化床冷却机系统配置图

1-除湿冷却器 2-软接 3-振动输粉机 4-软接 5-软接 6-振动流化床冷却机 7-软接 8-排料器 9-旋风分离器 10-废气排管 11-吸风机 12-软接 13-排料器 14-空气净化器 15-风量调节阀 16-风机 17-软接 18-冷却液进口 19-冷却液出口 20-弹簧 21-喷雾干燥机进料口 22-弹簧

工作原理:热物料由振动输粉机从进料口3喂入,在振动电动机9产生的激振力的作用下沿着筛板4的板面作跳跃式前进,同时从冷风进口2送来的冷风穿过筛板4的孔,与热物料接触,并使之得到冷却。产生的废热气夹带着细粉,被吸风机从废气出口6吸走,经旋风分离器分离,废气从风机进入大气,细粉汇集在底部经出料器连续排出后收集再利用。冷却后的速溶豆乳粉从尾部的出料口7经出料器排出。该机由于料层所需的流化状态是靠振动保证,冷风只起传质传冷作用,因而风速比固定床的要小,风量的减少使能耗降低,设备的冷能利用率也得到提高。振动使物料跳跃前进时,在物料与筛板间形成的“脉冲”压力,使物料避免了流沟、腾涌及死床等现象,从而得到充分的流化,使床层空隙率增加,物料与冷风对流接触面积加大,加速了冷却。通风调节激振力的方向和大小,可改变料层厚度及流动速度,且为无级调节。该机如果通入热风便是振动流化床干燥机。

随便看

 

离鸟网收录3541549条中英文词条,其功能与新华字典、现代汉语词典、牛津高阶英汉词典等各类中英文词典类似,基本涵盖了全部常用中英文字词句的读音、释义及用法,是语言学习和写作的有利工具。

 

Copyright © 2004-2024 vtrois.com All Rights Reserved
更新时间:2026/4/21 8:43:47