(一)用途与特点
转盘式洗瓶机适用于清洗各种圆柱形的玻璃瓶,可同时清洗瓶的内外壁,是一种半自动的洗瓶设备。它利用毛刷同时清洗瓶的内外表面,多用于小型饮料厂。
(二)结构与工作原理
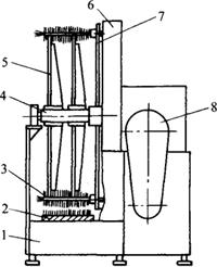
转盘式洗瓶机主要由机架、工作转盘、毛刷、传动装置组成,如图4-1-6所示。

图4-1-6 转盘式洗瓶机
1-机座 2-板刷 3-毛刷 4-主轴 5-转盘 6-齿轮罩 7-圆盘 8-皮带罩
转盘式洗瓶机的转盘是机器的主要工作部件,转盘很大,套装在水平放置的主轴上,转盘的周边等间距分配有24个缺口,可安装24个瓶子。机座由角钢焊成,内有一个半圆形的清洗腔。开始清洗时,由人工将已在水中充分浸泡过的瓶子置于转盘的缺口上,瓶子口套在刷子头上,当开动机器时,毛刷开始对内腔进行刷洗,当瓶子随着转盘转入清洗腔时,外壁受到固定在清洗腔边上板刷的摩擦刷洗,瓶子内外壁清洗干净后,由人工将瓶子取下,再将瓶子用清水冲洗。
(三)主要技术参数

注:北京市海淀区巨山机械厂制造。