网站首页  词典首页


请输入您要查询的字词:

 

字词 车削加工
类别 中英文字词句释义及详细解析
释义

车削加工


车削主要用于加工回转体的凸模、凹模、型腔、型芯、螺纹型腔等。

(一)普通车床的性能、结构和传动系统

现将C620-1型车床作为车床的典型简述其结构和传动系统。C620-1型车床采用卧式布局(图7.3-1)。

图7.3-1 C620-1型车床操纵手柄的位置和用途

1、2、3.主轴变速手柄;4.加大螺距手柄;5.改变所车螺纹方向(左或右)的手柄;6.宝塔齿轮变速手柄;7.车削公制或英制螺纹调整手柄(按走刀箱上铭牌来变换);8.连接丝杠或光杠手柄;9.调整走刀量或螺距手柄;10.调整走刀量、螺距或直联丝杠手柄;11、12.开关车床和正反转的手柄;13.大拖板正反行程手柄;14.手动大拖板的手轮;15.刀架纵横行程手柄;16.脱落蜗杆手柄(它也可以控制刀架自动走刀);17.开合螺母的手柄(车螺纹时应用);18.手动横走刀手柄;19.固定和转动刀架手柄;20.小拖板手柄;21.固定床尾套筒的手柄;22.移动床尾套筒的手轮;23.使车床和电路切断的总开关;24.车床照明用开关;25.开动电动油泵的开关

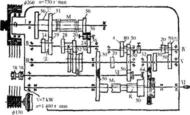
图7.3-2是C620-1型车床床头箱传动系统。

图7.3-2 C620-1型床头箱传动系统

(二)车刀

1.刀具切削部分的组成(图7.3-3)

图7.3-3 车刀的组成部分

前面——切削时刀具上切屑流出的表面。

主后面——切削时刀头上与工件切削表面相对的表面。

副后面——切削时刀头上与已加工表面相对的表面。

主切削刃——前面与主后面的交线。

副切削刃——前面与副后面的交线。

刀尖——主切削刃与副切削刃的交点。

2.确定刀具角度的三个辅助平面名称和定义

①切削平面。切削刃上任一点的切削平面是通过该点和工件切削表面相切的平面。

②基面。切削刃上任一点的基面是通过该点并垂直于该点切削速度方向的平面。切削刃上同一点的基面与切削平面一定是互相垂直的。

③主截面。主切削刃上任一点的主截面是通过这一点,而垂直于主切削刃(或它的切线)在基面上的投影截面。

(三)淬硬零件的加工

大型成型零件热处理后变形较大,磨削加工有困难时可在车床上使用硬质合金车刀加工(图7.3-4)。刀具几何角度见表7.3-8,切削用量见表7.3-9。

图7.3-4 硬质合金车刀

表7.3-8 刀具角度

表7.3-9 切削用量

加工淬硬零件时注意事项如下:

①表7.3-8为连续切削时刀具角度,断续切削时,前角和刃倾角的绝对值应适当加大。

②YT30硬质合金质地非常脆,刃磨时易崩刃,因此必须选用细颗粒的碳化硅砂轮刃磨,先磨负前角及刃倾角,后磨其他角度,刃磨时刃口向上,用力不可过大,这样可减少崩刃,避免产生裂纹。

③要选择刚性好的机床。刀具安装时伸出要短,不得中途停车,尽量减少刀具的冲击。

随便看

 

离鸟网收录3541549条中英文词条,其功能与新华字典、现代汉语词典、牛津高阶英汉词典等各类中英文词典类似,基本涵盖了全部常用中英文字词句的读音、释义及用法,是语言学习和写作的有利工具。

 

Copyright © 2004-2024 vtrois.com All Rights Reserved
更新时间:2026/4/19 23:21:21