网站首页  词典首页


请输入您要查询的字词:

 

字词 超声加工机床本体
类别 中英文字词句释义及详细解析
释义

超声加工机床本体


4.2.3.1 超声加工机床结构

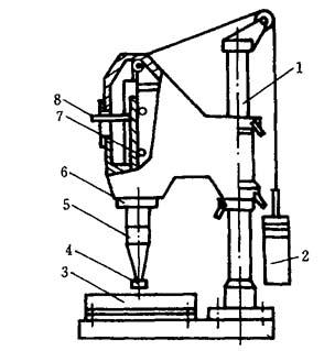
超声加工时,工具与工件间作用力很校加工机床只需实现工具的工作进给运动及调整工具与工件间相对位置的运动,因此,构造较简单,见图4-10.

图4-10 CSJ-2型超声加工机床

1—支架;2—平衡重锤;3—工作台;4—工具;5—变幅杆;6—换能器;7—导轨;8—标尺

4.2.3.2 超声加工的进给运动

如图4-11所示,重锤加载式(a)与重锤杠杆加载式(b)结构简单,工件与与工具之间的作用力是工具和主轴质量与所加平衡质量之差,虽然工具对工件的作用力大小可以通过改变重锤质量或重锤的位置调整,但毕竟不太方便.弹簧加载式(c)结构紧凑,调整亦较方便.液压或气压加载式(d)多用于大功率超声加工机床中.

图4-11 超声加工的进给运动示意

(a)重锤加载式;(b)重锤杠杆加载式;(c)弹簧加载式;(d)液压或气压加载式

随便看

 

离鸟网收录3541549条中英文词条,其功能与新华字典、现代汉语词典、牛津高阶英汉词典等各类中英文词典类似,基本涵盖了全部常用中英文字词句的读音、释义及用法,是语言学习和写作的有利工具。

 

Copyright © 2004-2024 vtrois.com All Rights Reserved
更新时间:2026/4/19 11:30:10