网站首页  词典首页


请输入您要查询的字词:

 

字词 超声加工原理
类别 中英文字词句释义及详细解析
释义

超声加工原理


超声加工的基本原理是:令工具作超声振动,此振动使工作液中的悬浮磨粒对工件进行加工.图4-3是超声加工示意图.

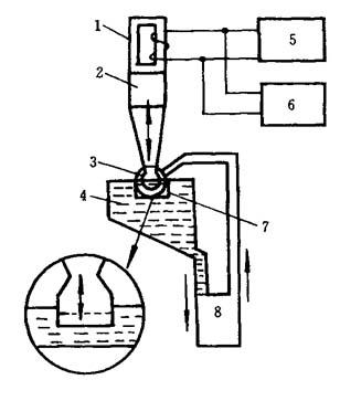
图4-3 超声加工示意图

1—磁滞伸缩换能器;2—变幅杆;3—工具;4—磨料悬浮液;5—超声波发生器;6—直流电源;7—工件;8—泵

加工时,超声波发生器5通过换能器1产生超声波(频率通常为16~25kHz),此波因振幅太校仅0.005~0.01mm,不能用于加工,需通过变幅杆2放大至0.01~0.1mm,再传给工具3.工具3与工件7之间充满了液体(水或煤油)与磨料(氧化铝或碳化硅等)混合的悬浮液.工具以很小的压力压在工件上.工作液中悬浮的磨粒在工具的超声振动下,以高速不断冲击工件加工表面.磨料打击工件表面的加速度可达重力加速度的104倍.工件表面加工部位在如此强力冲击下破坏变成粉末,从而将工具端面的形状“复印”在工件表面上.

这里指出下述几点:

①悬浮液中磨料的不断机械冲击,是超声加工的主要因素,但不仅是这一个因素;

②由于工具端部的超声振荡而产生的“空化”现象,令工件表面形成液体空腔,促使液体进入工件缝隙处,空腔的瞬间空化,更会加速磨料对工件表面的破碎作用;

③可以认为,超声加工正是磨料的机械冲击与空化作用的综合结果.

随便看

 

离鸟网收录3541549条中英文词条,其功能与新华字典、现代汉语词典、牛津高阶英汉词典等各类中英文词典类似,基本涵盖了全部常用中英文字词句的读音、释义及用法,是语言学习和写作的有利工具。

 

Copyright © 2004-2024 vtrois.com All Rights Reserved
更新时间:2026/4/21 8:04:04