网站首页  词典首页


请输入您要查询的字词:

 

字词 起重配套设备与装置
类别 中英文字词句释义及详细解析
释义

起重配套设备与装置


索具设备与锚锭装置是吊装工程中的重要组成,不仅关系到吊装施工的速度和质量,而且关系到工程施工的安危。构件吊装常用的索具设备包括钢丝绳、吊具、千斤顶、卷扬机等,锚锭装置包括卷扬机的锚固和各种起重机缆风绳的锚固等。

(一)钢丝绳

钢丝绳是吊装作业施工中常用绳索,具有强度高、韧性好、耐磨损等优点。在磨损后它的表面产生毛刺,易于发现,便于防止事故的发生。

1.钢丝绳的构造和种类

结构吊装工程中常用的钢丝绳是由6股钢绳围绕一根芯绳捻制而成,每股钢绳又由许多根高强度钢丝捻制而成,其构造如图7-19所示。钢丝绳按其捻制方法不同,又可分为右交互捻(股向右捻、丝向左捻)钢丝绳、左交互捻(股向左捻、丝向右捻)钢丝绳、右同向捻(股和丝均向右捻)钢丝绳和左同向捻(股和丝均向左捻)钢丝绳,如图7-20所示。

图7-19 普通钢丝绳构造图

图7-20 钢丝绳的几种捻制方法

(a)右交互捻;(b)左交互捻;(c)右同向捻;(d)左同向捻

同向捻钢丝绳表面比较平整、比较柔软,它与滑轮或卷筒凹槽的接触面较大,磨损比较轻,但易松散和扭结卷曲,吊装时易使重物旋转,一般多用于拖拉或牵引。互捻钢丝绳强度较高、质地较硬,但吊装中不会产生扭结旋转,在吊装工程中应用较多。

钢丝绳按每股钢丝数量的不同,又可分为6×19、6×37和6×61三种。6×19钢丝绳在其直径相同的情况下,钢丝比较粗,耐磨性好,但较硬,不易弯曲,一般用作缆风绳;6×37钢丝绳比较柔软、易于弯曲,可用作穿滑轮组和吊索;6×61钢丝绳质地柔软、更易弯曲,主要用于重型起重机械和捆绑构件用。

2.钢丝绳的计算

钢丝绳的计算主要是计算钢丝绳的破断拉力和允许拉力。钢丝绳的破断拉力与钢丝绳的直径、构造、钢丝绳的极限强度有关;钢丝绳的允许拉力可按下式计算:

式中 [S]——钢丝绳的允许拉力(N);

α——换算系数(或受力不均匀系数),按表7-7的规定选用;

S——钢丝绳的钢丝破断拉力总和(N),查钢丝绳有关资料;

K——钢丝绳的安全系数,按表7-8的规定选用。

表7-7 钢丝绳的换算系数

表7-8 钢丝绳的安全系数

(二)吊装工具

吊装工具主要包括吊钩、钢丝绳夹头、卡环、吊索和横吊梁等。

1.吊钩

吊钩是起重设备与构件之间的连接件,是吊装施工中不可缺少的吊装工具。吊钩分为单吊钩和双吊钩两种,如图7-21a所示。在结构吊装施工中一般多用单吊钩,双吊钩用于塔式吊车或桥式吊车上。

图7-21 吊钩与钢丝绳夹头

(a)吊钩;(b)钢丝绳夹头

2.钢丝绳夹头

钢丝绳夹头是用于固定钢丝绳端部的工具,如图7-21b所示。在选用钢丝绳夹头规格时,U型环内的净距应恰好等于两根钢丝绳的直径。

3.卡环

卡环又称为卸甲,用于吊索之间或吊索与构件吊环之间的连接,由弯环与销子两部分组成。弯环多数为马蹄形,销子的连接有螺栓式和活动式两种,活动式多用于吊装柱子。卡环的外形及柱子绑扎,如图7-22所示。

图7-22 卡环及柱子绑扎示意图

(a)卡环;(b)绑扎柱子

4.吊索

吊索又称为千斤绳,要求用质地柔软、易于弯曲、直径大于11mm的6×61型钢丝绳。根据形式不同,吊索又可分为环形吊索(又称万能吊索或闭式吊索)和开口吊索(又称轻便吊索或开式吊索)两种,如图7-23所示。

图7-23 吊索形式示意图

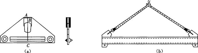
5.横吊梁

当吊装水平长度较大的构件时,为使构件的轴向压力不至于过大,可采用横吊梁进行吊装。在吊装施工中所用的横吊梁有滑轮横吊梁、钢板横吊梁和型钢(钢管或槽钢等)横吊梁。由于滑轮横吊梁的稳定性不良,在使用中应特别注意平衡。钢板横吊梁主要用于柱子的吊装,型钢横吊梁主要用于屋架等构件的吊梁,其构造如图7-24所示。

图7-24 常用横吊梁的构造

(a)钢板横吊梁;(b)槽钢横吊梁

(三)滑轮组

滑轮是吊装施工中的主要起升机具,不仅可以节省吊装拉力,而且还可以改变力的方向。按滑轮的多少不同,可分为单门、双门和多门滑轮;按使用方法不同,可分为定滑轮、动滑轮、导向滑轮等。由于滑轮的起重能力大,便于携带、安装和操作,所以滑轮是吊装工程中常用的工具。

所谓滑轮组,即由一定数量的定滑轮、动滑轮组成,并由通过绕过它们的绳索联为一个整体,从而达到省力和改变力的方向的目的。滑轮组及受力如图7-25所示。

图7-25 滑轮组及受力示意图

(a)导向滑轮;(b)导向滑轮受力图;(c)拉力向上滑轮组;(d)拉力向下滑轮组;(e)双联滑轮组

由滑轮组引出的绳头,在工程上俗称为“跑头”,“跑头”可以根据需要从定滑轮引出或动滑轮引出,或用两台卷扬机同时牵引(双联滑轮组)。在选择起重钢丝绳前,应根据所用滑轮组组成的情况,计算钢丝绳的“跑头”拉力。滑轮组的跑头拉力可用下式计算:

式中 S1——起重钢丝绳的跑头拉力(N);

f0——跑头拉力计算系数,我国多采用青铜轴套,可按表7-9中取值;

K1——卷扬机的动力系数,见表7-10;

Q——吊装荷载(构件重力与索具重力之和)(N)。

表7-9 青铜轴套滑轮跑头拉力计算系数

表7-10 卷扬机的动力系数

(四)卷扬机

卷扬机是一种起重能力比较大、速度比较快、操作方便、易于装拆的施工机械,因此,在建筑结构施工中被广泛应用于吊装、垂直运输、水平运输、打桩、钢筋张拉等作业的动力设备。

1.卷扬机的种类与锚固方法

结构安装工程所用的卷扬机,有手动和机动(电动)两类,其中电动卷扬机又分为慢速和快速两种,快速电动卷扬机又分为单向和双向两种。慢速电动卷扬机(JJM型)主要用于吊装结构、冷拉钢筋和张拉预应力筋;快速电动卷扬机主要用于垂直运输、水平运输及打桩作业等。

卷扬机必须用地锚进行牢靠的固定,以防止工作时产生滑动造成倾覆。根据所受牵引力的大小,固定卷扬机的方法有螺栓锚固法、水平锚固法、立桩锚固法和压重锚固法四种,如图7-26所示。

图7-26 固定卷扬机方法

(a)螺栓锚固法;(b)水平锚固法;(c)立桩锚固法;(d)压重锚固法

1-卷扬机;2-地脚螺栓;3-横木;4-拉索;5-木桩;6-压重;7-压板

2.卷扬机的使用注意事项

(1)卷扬机的安装位置应选在地势较高、地基坚实的地方,一般距离起吊处在15m以上,以便于起吊构件时的操作和观察,同时也有利于排水。

(2)电动卷扬机必须有良好的接地或接零装置,接地电阻不得大于10Ω。在一个供电网路上,接地或接零不得混用。

(3)卷扬机在正式使用前,要先空运转作空载正、反转试验5次,达到运转平稳无不正常响声,传动和制动机构灵活可靠,各紧固件及连接部位无松动现象,润滑良好,无漏油现象。

(4)卷扬机卷筒轴线应与前面第一个导向滑轮的轴线平行,两者之间的距离应大于卷筒宽度的20倍,绳索绕到卷筒两边的倾角不得超过1.5°。

(5)钢丝绳的选用应符合产品说明书中的规定。卷筒上的钢丝绳全部放出时应留有不少于3圈,钢丝绳的末端应固定可靠,卷筒边缘外周至最外层钢丝绳的距离,应不小于钢丝绳的1.5倍。

(6)卷扬机卷筒上的钢丝绳应排列整齐,如果发现有重叠或斜绕时,应停机重新进行排列。严禁在卷筒转动中用手脚去拉、踩钢丝绳。

(7)在吊装施工中和物体提升后,操作人员不得离开工作岗位。在停电或休息时,必须将提升物降至地面。

(五)锚锭

锚锭又称锚碇、地锚,用来固定卷扬机、缆风绳、导向滑轮、拔杆的平衡绳索等。制作锚锭的材料有木材、混凝土、钢筋混凝土和钢材等,根据制作方式不同又可分为桩式地锚和坑式地锚两类。

1.桩式地锚

桩式地锚的构造非常简单,是用一根、两根或多根圆木打入土基中,以承担上部绳索的拉力。圆木直径一般为180~300mm,打入土中的深度为1.2~1.5m,承载力为10~100kN。桩式地锚一般适用于受力不大的缆风绳,在打桩时应尽量使木桩与所拉的绳索近似垂直。桩式地锚如图7-27a、b所示。

2.坑式地锚

坑式地锚又称水平地锚,其构造比桩式地锚复杂,由一根或几根圆木(或方木)绑在一起,水平横放在挖好的坑底上,用钢丝绳系在横木的一点或两点上,成30°~45°的斜度引出地面,然后用土石填夯实。水平地锚一般埋深1.5~3.5m,能承受较大的拉力。当拉力超过75kN时,地锚上面应增加压板;当拉力大于150kN时,还应在锚锭前加设立桩及垫板,以加强土坑侧壁的耐压力。在缺乏木材或需要永久性固定时,可采用混凝土地锚、钢锚桩地锚或块石砌体地锚。坑式地锚的类型及构造,如图7-27c、d、e、f所示。

图7-27 地锚的类型及构造示意图

(a)打桩地锚;(b)埋桩地锚;(c)坑地锚;(d)有压板坑地锚;(e)混凝土地锚;(f)钢锚桩地锚

1-土石填实;2-土石夯实;3-上挡木;4-圆形或方形桩木;5-下挡木;6-横木;7-钢丝绳;8-压板;9-混凝土或块石砌体;10-钢筋;11-砂浆或混凝土

随便看

 

离鸟网收录3541549条中英文词条,其功能与新华字典、现代汉语词典、牛津高阶英汉词典等各类中英文词典类似,基本涵盖了全部常用中英文字词句的读音、释义及用法,是语言学习和写作的有利工具。

 

Copyright © 2004-2024 vtrois.com All Rights Reserved
更新时间:2026/4/19 23:41:41