网站首页  词典首页


请输入您要查询的字词:

 

字词 谷类淀粉加工装备
类别 中英文字词句释义及详细解析
释义

谷类淀粉加工装备


1 概述

谷类淀粉加工装备是指以玉米、小麦、高粱、大米等谷类作物为原料,加工成食用、工业用淀粉的装备。

在谷类淀粉加工中,主要是以玉米为原料的淀粉加工,约占谷类淀粉加工的97%。其次是以小麦为原料的淀粉加工。因此,本节主要介绍玉米淀粉加工装备和小麦淀粉加工装备。

2 加工工艺

2.1 玉米淀粉加工工艺(图1-15-1)

图1-15-1 玉米淀粉加工工艺流程

玉米淀粉加工一般可分为以下几个工序:

2.1.1 净化 玉米粒中夹杂有尘土、砂石、铁钉、木片等杂质,净化的目的是除去这些杂质。一般采用筛选、风选、相对密度法去石、磁铁除铁等方法使之净化。常用的设备有旋转筛、分离器、子粒清杂机等设备。

2.1.2 浸泡 浸泡的目的是改变玉米粒中的组织结构及物理化学性质,削弱淀粉保持的联结键,降低玉米子粒的机械牢固性,浸提出部分可溶性物质,并抑制随玉米带进来的微生物的有害活动。

玉米浸泡的常用温度为48~55℃,用二氧化硫含量0.20%~0.25%的水溶液浸泡,浸泡时间48~72h,玉米粒含水40%~60%。

浸泡主要设备为浸泡罐。目前大多数工厂都采用连续浸泡罐逆流浸泡工艺。每吨玉米需浸泡罐容积为1.6~1.8m3。

2.1.3 破碎 破碎的目的是使胚芽与胚乳分开,并释放出一定数量的淀粉。破碎可分二次进行,第一次把玉米粒破碎到4~6块;第二次再破碎到10块以上,使胚芽更完全的分离,释放出更多的淀粉。

破碎多采用齿盘式破碎机。

2.1.4 胚芽分离 胚芽分离的目的是因胚芽中含有50%~55%的脂肪,从中可以制取珍贵的营养玉米油。同时胚芽磨碎会导致淀粉生产工艺过程半成品中以至淀粉产品中脂肪含量增加,所以必须将胚芽分离出来。

采用二次破碎和两次胚芽分离流程,胚芽的分离可达95%。

胚芽分离的设备主要有曲筛、旋流器等。

2.1.5 细磨 细磨的主要目的是最大限度地释放出与蛋白质和纤维素相联结的淀粉,为下一步这些组分的分离创造良好的条件。

细磨常用的主要设备是冲击磨。

2.1.6 纤维筛分与洗涤 浆料细磨之后形成悬浮液,其中含有游离淀粉、蛋白质和纤维素等。为了得到纯净的淀粉,要把悬浮液中的纤维素等分离出来。纤维与淀粉悬浮液的分离是在筛分设备上进行的。如果用筛作业时没有添加水,那么这种分离称为筛分;如果添加水称为洗涤。

在筛分过程中,需加入适量的水洗涤,一般情况下,每筛分100kg干物质,需加水150L左右,水温在50℃左右,pH在4.3~4.5之间。

在该加工环节中,主要设备有曲筛或离心筛。

2.1.7 蛋白质的分离 经上道工序分离后的淀粉乳浓度为6~8°Bé,干物质含量约11%~14%。此时淀粉乳干物质成分主要为淀粉、蛋白质、脂肪、灰分、细渣。另外,在乳浆中,还含有少量的二氧化硫及其它一些水溶性物质。

为了获得纯净的淀粉,必须将淀粉乳中的蛋白质等分离出来。分离的方法是利用淀粉与蛋白质相对密度不同,通过离心机将蛋白质分离出来。

在该加工环节中,主要设备为碟片式离心机或旋液分离器。

2.1.8 淀粉的洗涤 一般经离心机分离后淀粉乳中蛋白质含量在2.5%左右。为使淀粉更纯净,因此必须对淀粉乳进行洗涤,经洗涤后的淀粉乳中蛋白质降至0.3%左右。

淀粉乳洗涤设备主要有旋液分离器或碟片离心机。

2.1.9 脱水 经分离洗涤后的淀粉乳浓度为20°Bé左右,为除去水分,减轻干燥环节的负荷,并节约能源,必须对淀粉乳进行脱水处理,经脱水后得含水40%~45%的湿淀粉。

脱水的主要设备有三足式离心机、卧式刮刀卸料离心机和真空转鼓过滤机。

2.1.10 干燥 因为湿淀粉贮存会由于发生物理化学变化而降低质量。特别是在温度高于12℃时淀粉质量会很快变坏。因此必须对湿淀粉进行干燥,干燥至淀粉的平衡水分。对于玉米淀粉含水要求不超过13%。

在干燥过程中必须注意的是不能使淀粉颗粒的温度高于70~80℃,以免产生糊化现象。

淀粉干燥主要设备是气流式干燥机。

2.1.11 计量包装 经干燥以后的淀粉,为了使得淀粉的细度均匀,通常对淀粉进行过筛分级,筛网细度为100目,筛下物经计量后进行包装,即成为商品淀粉。

计量包装主要设备为成品筛、重量计量器、缝包机等。

2.2 小麦淀粉加工工艺

小麦淀粉加工工艺有八九种之多。目前应用较广的工艺是马丁(Martin)法。图1-15-2所示为马丁法小麦淀粉加工工艺流程。

图1-15-2 小麦淀粉加工工艺流程

2.2.1 制面团 将小麦面粉和水按2∶1的比例在和面机中混合均匀,静置30min左右,让蛋白质充分吸水成胶,抱合成团,这时淀粉颗粒也包裹在内。该工序使用的设备主要是和面机。

2.2.2 面团洗涤 面团洗涤阶段中要在不使面筋破碎和分散的情况下使淀粉分离出来。往静置后的面团中加5~8倍的水,经机械揉捏或滚压,使淀粉与面筋分离而进入水中成为悬浮液。经过3~4次的揉洗,面筋中几乎不含淀粉。

该工序使用的设备主要是面筋洗涤机。

2.2.3 麸皮分离 经面团洗后得到的悬浮液中含有淀粉、麸皮和蛋白质等。为了得到纯净的淀粉,要把悬浮液中的麸皮分离出来。麸皮与淀粉悬浮液的分离是在筛分设备上进行的。

麸皮分离主要设备是曲筛或离心筛。

2.2.4 蛋白质分离 蛋白质主要含于面筋中,但此时的淀粉乳液中还含有少量蛋白质,必须分离出来。利用淀粉与蛋白质相对密度不同,通过离心机将蛋白质分离出来。

蛋白质分离主要设备是碟片式离心机。

2.2.5 淀粉的洗涤 淀粉洗涤的目的是进一步把淀粉悬浮液中的剩余麸皮和蛋白质等分离出来,以得到更为纯净的淀粉。

淀粉乳的洗涤主要设备是旋液分离器。

2.2.6 脱水 经分离洗涤后的淀粉乳浓度为20°Bé左右,为除去水分,减轻干燥环节的负荷,并节约能源,必须对淀粉乳进行脱水处理,经脱水后得到含水40%~45%的湿淀粉。

脱水的主要设备有三足式离心机、卧式刮刀卸料离心机。

2.2.7 干燥 脱水后的湿淀粉应干燥至淀粉的平衡水分,即含水率不超过12%。

在干燥过程中必须注意的是不能使淀粉颗粒的温度高于70~80℃,以免产生糊化现象。

淀粉干燥通常采用的设备是气流式干燥机。

2.2.8 计量包装 经干燥以后的淀粉,为了使得淀粉的细度均匀,通常对淀粉进行过筛分级,筛网细度为100目,筛下物经计量后进行包装,即成为商品淀粉。

计量包装主要设备为成品筛、重量计量器、缝包机等。

3 关键设备

3.1 和面机

和面机为马丁法小麦淀粉加工工艺的主要设备,其目的是将小麦面粉与水充分搅拌,并制成面团。工作原理及结构参见第1篇第10章第1节。

3.2 齿盘破碎机(图1-15-3)

图1-15-3 齿盘破碎机

1-动齿盘 2-静齿盘 3-螺孔 4-拨料棒 5-门盖 6-外壳 7-主轴 8-注油孔 9-调节手轮 10-轴承座 11-支撑座 12-联轴器 13-电机

齿盘破碎机也称凸齿磨。它是玉米磨碎的主要设备,同时也可在豆类淀粉加工中使用。该机作粗磨使用时,也可使玉米胚芽与其他组织分离,所以也称为脱胚磨。

工作原理:当物料由喂料斗进入机内后,即受到动齿磨1的拨动和惯性力的作用,在动、定齿盘缝隙间向外运动,运动过程中,在动、定齿盘及凸齿的剪切、挤压、搓撕作用下,物料被破碎碾磨,磨碎后的物料从两齿盘间挤出,并甩到机壳上,通过出料口排出。

齿盘间隙在通常情况下,该机是作为对小粒物料(如玉米、豆类)进行粗磨,它能最大限度地降低对胚芽的损伤,以免油分的丧失。该机在装上一个环状的撞击圈后,使磨后的物料抛向撞击圈进一步粉碎,也可作为精磨设备使用。

齿盘破碎机在使用过程中应注意严禁铁器等硬物进入机内,否则将严重损坏齿盘。

3.3 针磨(图1-15-4)

图1-15-4 针磨

1-动盘 2-动针 3-波纹环带 4-定盘 5-定针 6-进料口 7-主轴 8-观察孔 9-出料口

针磨也称为冲击磨、撞击磨。它是玉米细磨的首选设备,也可作为豆类、薯类淀粉生产的精磨设备。针磨的工作原理是将物料通过离心惯性力作用,从中心喂入口向四周高速抛甩的过程中,受到高速运动针柱的反复撞击,最后经四周的波纹环带撞击回弹而达到破碎目的。物料经猛烈地冲撞,绝大部分淀粉与纤维松脱而游离出来,纤维因在冲撞过程中受到剪切力较小未被过分撕碎,大部分呈薄片状存在,十分有利于分离工序。

在动盘和定盘上分别有两排动针和定针,沿动针的运动轨迹,在定盘上有2条环形槽,动针顶部插进环形槽里,以防止物料未受动针冲击就滑漏出去。定针是从定盘上方插进去的,在作业状态下,可以根据磨细程度随时调整定针的数目。在定盘上开有观察孔,可在不卸开机壳的情况下观察到动针的情况,并可由此孔更换动针。

该机动盘转速较高,一般要使得动针的线速度达到130m/s左右。粉碎细度与物料性质、颗粒大小、加料量以及动针数目有关,一般在50~200目范围内。

3.4 曲筛

曲筛又称为弧形筛。它是一种用途广泛的、先进的筛分设备。在淀粉生产中,它用于淀粉与胚芽、纤维的分离。曲筛除输浆泵外,无转动部件,因此曲筛在操作、维修等方面,较其它类型的筛分设备有很大的优越性。曲筛的关键部件是由楔形筛片组成的筛面,它具有一种特殊的切割分离本领,使得筛面有较高的生产能力,且具有较强的自净作用,是一种高效的淀粉筛分设备。

曲筛根据筛分的要求,其筛面圆弧所包圆心角不同,下料的供给方式也不同,淀粉生产中常用的是120°压力曲筛和50°重力曲筛。

3.4.1 120°压力曲筛(图1-15-5) 圆弧包角为120°,依靠压力对湿物料进行分离。物料通过喷嘴沿着筛面圆弧的切线方向送到筛面上。工作压力为0.2~0.4MPa;喷射速度为10~20m/s。经过楔形筛网特殊的切割作用将淀粉乳与纤维渣分开。

图1-15-5 压力曲筛结构示意图

1-喷嘴 2-筛片

120°压力曲筛一般用于淀粉与细渣的精分离工序中。

压力曲筛的筛分效果,与筛缝宽度有着直接的关系。目前通常使用的筛缝宽度有0.50mm和0.75mm两种。为确保压力曲筛的筛分效率,压力曲筛通常须采用6级以上串联使用,并采用逆流洗涤工艺。在前几级中,可选用间隙0.75mm的筛片,最后一级中宜采用0.50mm的筛片。

3.4.2 50°重力曲筛 50°重力曲筛圆弧包角为50°,其结构及筛分机理与120°压力曲筛相似,不同之处在于浆料依靠自重切向自流到筛面上并分级、分离的;料浆在筛面上流速较压力曲筛低,受到的惯性力较小,因而分离能力也较小;筛缝宽度较大,使用中的有1mm和1.5mm两种。

50°重力曲筛一般用于淀粉生产中精磨前淀粉与粗纤维、植物胚芽、壳等的粗分离中,特别在玉米与胚芽的分离中应用得很广泛,且效果很好。重力曲筛通常也须采用逆流洗涤的3级以上串联使用,以获得满意的分离效果。

3.5 卧式螺旋沉降分离机(图1-15-6)

图1-15-6 卧式螺旋沉降分离机结构图

1-差速器 2-外壳 3-转鼓 4-螺旋输送器 5-溢流口 6-空心轴

卧式螺旋沉降分离机是一种用途很广泛的连续分离机械,它能从悬浮液中分离固相物质,从悬浊液中分离两种相对密度不同的液相物质,也可澄清含少量固形物的液体。在淀粉生产中,可用于各种淀粉与蛋白质的分离,小麦淀粉与麸质的分离,以及玉米黄浆、小麦麸质的浓缩及薯类淀粉生产中的汁水分离等。

该机工作时,浆料连续不断地沿进料管进入螺旋输送器4内的空心轴6,再通过布料口抛甩入转鼓3内,并随转鼓高速旋转,在惯性力的作用下,悬浮液或悬浊液中的重相被甩向转鼓内壁。由于转鼓与螺旋输送器的转速差,重相物料被螺旋推向转鼓小端,并在转鼓锥形段上受到由螺旋轴中部喷射的洗涤水洗涤、脱水,最后由卸料孔推出,落入外壳排渣口排出。转鼓内的轻相液当其液面超过转鼓大端溢流口5时,即从此流至外壳的排液口排出。在有的机型中,溢流口高低可通过溢流环调节。

此种设备转速较高,一般为3000r/min左右,分离因数在2000~5000之间。在结构形式及参数上依用途不同有多种。在转鼓结构上,有柱锥形、锥形。其长径比在1.6~3.5之间。在淀粉生产中,淀粉乳的精制、分离工序,通常采用长径比较大的柱锥形转鼓;在浓缩、脱水等工序中,多采用长径比较小的柱锥形转鼓或是锥形转鼓。

3.6 碟片离心机

碟片离心机是一种高效连续分离机械,可连续分离悬浮液或悬浊液的固-液两相或相对密度不同的液-液两相。在淀粉生产中,可完成淀粉与蛋白质分离、淀粉与麸质分离以及黄浆、麸质的浓缩,是精制淀粉的核心设备。

碟片分离机结构(参见第1篇第14章第9节)及参数依用途不同而异。淀粉生产中使用的为喷嘴型碟片离心机,其转鼓直径在450~750mm之间,转速一般为4000r/min,分离因数通常在4000以上,喷嘴直径为0.5~2mm,喷嘴数目8~24个。

目前,碟片离心机在淀粉生产中多用于筛分后的淀粉乳的精制。可利用4~6台碟片分离机组成逆流洗涤系统,同时完成淀粉与麸质及蛋白的分离,并将淀粉乳由3~5°Bé浓缩至8~11°Bé。也可用3台碟片离心机与6~8级旋流器组合使用。

碟片离心机在使用中对操作参数的变化较为敏感,并对浆料要求较高。其浆料的进料浓度一定要控制在3~4°Bé之间,否则将会影响分离效果;浆料在进入离心机之前,通常须用转子过滤器对其进行除杂,以免浆料中残存颗粒堵塞喷嘴。

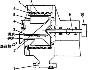
3.7 真空转鼓过滤机

真空转鼓过滤机是一种处理量大,能连续操作的从悬浮液中分离出固形物的固-液两相分离设备。在淀粉生产中,用于精分离后淀粉乳的脱水。

如图1-15-7所示,真空转鼓过滤机结构较为复杂,1为水平放置的柱形转鼓,转鼓表面镶有若干块长方形的筛板,在筛板上顺次铺设好金属网和滤布作为过滤表面。转鼓内空间被径向筋片分隔为若干个过滤室2,每一个过滤室有单独的孔连通至轴径端面。分配头5即平压在该端面上,分配头内也有径向筋片分为4个室(Ⅰ~Ⅳ),它们分别固定与真空或压缩空气线路相通。料槽4中设有摆动式搅拌器8。

1-15-7 真空转鼓过滤机

1-转鼓 2-过滤室 3-窗孔(至转鼓端面的出口) 4-料槽 5-分配头 6-喷淋器 7-刮刀 8-搅拌器

转鼓部分浸在料槽4的淀粉乳中,由电动机通过减速器传动系统带动旋转。工作时,转鼓上的每一个过滤室都将依次与分配头上的Ⅰ~Ⅳ室连通,因此整个转鼓每转动一周,其工作也可分为四个区域:

3.7.1 过滤区 在此区内,过滤室与分配头的Ⅰ室相通,并与真空相连,在真空作用下淀粉与水的分离,水通过滤布进入过滤室,经分配头排出机外,而淀粉则被阻挡在滤布表面形成淀粉层。

3.7.2 洗涤与脱水区 在该区内通过喷嘴6将清水均匀喷撒在淀粉层上,对淀粉作进一步的洗涤。利用真空作用将滤布表面淀粉层中残留的水分吸入过滤室,使淀粉得到进一步的脱水。

3.7.3 卸料区 在该区内,压缩空气通过分配头的Ⅲ室进入该区内的各滤室,迫使淀粉层与滤布分离。在卸料区的末端,设置有刮刀7将滚筒表面的淀粉全部刮下,完成淀粉脱水。

3.7.4 再生区 为除去堵塞在滤布孔隙中的残余淀粉颗粒,压缩空气由分配头的Ⅳ室进入位于该区内各滤室,吹落这些颗粒,使滤布得到再生。

为充分脱水,转鼓转速很低,一般不超过1~2r/min。

真空转鼓过滤机是目前淀粉生产中唯一一种连续脱水机,处理量为各类脱水机中最大的,且便于实现自动控制。但该机与离心式脱水机相比,脱水后的淀粉含水量偏高。此外,该机需辅以真空泵、空压机等配套设备,对淀粉乳浓度的要求也较高,因此限制了它的使用。目前仅在大型、超大型的淀粉厂中使用。

3.8 卧式刮刀卸料离心机(图1-15-8)

图1-15-8 卧式刮刀卸料离心机

1-排液阀 2-进料管 3-清水管 4-升降油缸 5-刮刀 6-滤布 7-滤网 8-转鼓 9-主轴 10-带轮

卧式刮刀卸料离心机为卧式、刮刀卸料、间隙操作的过滤式离心机。它能分离含固相颗粒≥0.01mm的悬浮液,并能在全速运转下自动循环进行洗网、进料、分离、洗涤、卸料等工序的周期操作(亦可人工控制),各工序的时间可根据需要在一定的范围内进行调节。在淀粉生产中,该机主要用于对精分离后的各种淀粉乳进行脱水,同时还可对淀粉进行进一步的洗涤。该机处理量大,脱水效果好,对淀粉乳浓度适应性好,在中型以上的淀粉厂中被广泛地采用。

卧式刮刀卸料离心机工作时,淀粉乳经进料管2进入转鼓8,在转鼓内受离心力作用,水经筛网和转鼓壁上的小孔甩出鼓外,淀粉被截留在筛网上形成淀粉层,在脱水后还可视工艺要求从洗涤管内加入洗涤水对淀粉层进行洗涤。然后再次脱水,脱水后的淀粉由刮刀5刮下落入排料斗卸出机外。在每次加料前要用洗涤水清洗筛网,使筛网再生。

该机对淀粉乳浓度适应范围较大,通常可在18~22°Bé之间,脱水后的淀粉水分含量一般在45%左右。其进料-脱水工作循环可用时间继电器、PC程控器等预设定控制,也可用人工控制,在整个操作过程中转鼓不必停机。

3.9 气流干燥机

气流干燥机又称瞬间干燥机。它利用热空气作为干燥介质,把泥状、粉状的物料混入高速气流中,在很短的时间内使之干燥,并可得到分散成粉粒状的干燥产品。在淀粉生产中,广泛采用气流干燥机对湿淀粉进行干燥,使其水分达到自然平衡水分。

在气流干燥机管道中,湿淀粉颗粒悬浮在热气管中,并呈高度紊流状态,强化了热气流与淀粉颗粒的传热传质作用,使得淀粉颗粒能在高温热气流中得到迅速干燥,而自身温度不超过60℃(淀粉糊化开始温度)。

用于淀粉干燥的气流干燥机按干燥段所处的压力状态可分为正压干燥和负压干燥两种,按干燥操作过程有一级气流干燥和二级气流干燥之分。

3.9.1 正压与负压结合气流烘干机(图1-15-9) 该机采用正、负压结合两级干燥,将湿淀粉的干燥分为两步完成。

图1-15-9 正压与负压结合的气流烘干机

1-热交换器 2-加料器 3-风机 4-二级旋风分离器 5-一级干燥管 6-二级干燥管 7-一级旋风分离器 8-除尘装置

该机利用1台风机实现了两级烘干,风机的进气管延展与第二级旋风分离器4接通,成为第二级负压干燥系统,风机出口接一级干燥管5与第一级旋风分离器7构成第一级正压干燥系统。第二级负压干燥成品淀粉尾气余热与尾气中夹带的飞粉全部回收利用,作为第一级新加入湿淀粉干燥的部分热源,同时还补充一部分热风提高预干燥能力。一级干燥中,温度较二级低,而湿度较二级高,因而尾气温度低且飞粉数量很少,再用一级除尘器回收,淀粉飞散损失很少。

该机热效率高,结构合理,适合于大、中型淀粉厂使用。

3.9.2 正压单级气流干燥机(图1-15-10) 该机采用正压单级干燥,采用热风炉3作为热源。2台风机作为动力。热风炉前的风机主要用于克服热交换器的压损,管道中的风机除补充风压以外,还能为进料器2造成负压,使得进料装置简单,可靠。在干燥管路中,设置了一段变径扩散管4,改变气流的流动状态,使得淀粉颗粒与热气流的碰撞加剧,提高传热传质作用,从而保证了较高的热效率。

图1-15-10 正压单级气流干燥机结构简图

1-风机 2-进料器 3-热风炉 4-扩散管 5-风管 6-集粉器

该机具有结构简单,配套齐全,操作方便,占地少的特点,很适于小型淀粉厂使用。

3.10 淀粉成品筛

淀粉成品筛用于淀粉干燥后的筛分,清除干燥过程中产生微量结块糊化淀粉,确保得到粉状一致的产品。同时筛分过程中还可进一步降低淀粉温度。

淀粉成品筛有振动筛和回转圆筒筛两类,其中振动筛应用较为普遍。各种振动筛结构形式基本一样,通常由机架、电机、传动装置、筛架、筛网、弹簧、料斗等组成,筛网一般为100目。使用过程中,从干燥机卸料器出来的淀粉落在筛面上,由于筛面的抖动,粉料很快被散开,且粉状淀粉透过筛面而落入集料斗,筛面上少量块状、片状次品粉受到传动装置急回惯性力的作用,向一个方向移动,最后从排渣口排到机外。

振动筛由于其结构简单、工作可靠、操作维修容易,因而应用广泛。但该机有振动,噪音大,因而在一些淀粉厂中也有采用回转圆筒筛的。

4 主要辅助设备

4.1 玉米胚芽分离设备

玉米胚芽分离设备是用于从粗磨后的玉米浆中分离出胚芽的机械或系统。

玉米胚芽分离设备是利用玉米胚芽质地硬而重量轻的性质来达到分离目的的。在玉米粗磨时,胚芽大多不易被破碎且漂浮于料浆的上层,过去通常是采用胚芽漂浮器来分离胚芽的,现在较为先进的工艺大多是采用曲筛和旋流器(参见本章第2节)联合系统来分离玉米胚芽。

图1-15-11所示为磨-曲筛-旋流管联合分离、洗涤胚芽系统。整个系统由粗磨、精磨、2组四级曲筛、2组两级旋流管以及泵、管路系统组成。由浸渍罐1来的玉米经曲筛2分离浸渍液后进入粗磨3,粗磨通常是采用齿盘破碎机(参见本节)。磨后料浆调至浓度为5~6°Bé,由第一级泵4以0.4~0.6MPa的压力进入脱细泥砂旋流器5(参见本章第2节)后,进入第1组二级串联的胚芽洗涤旋流器6中进行初级胚芽分离,较重的淀粉及纤维粒子以干物质浓度20%~24%从管底流排出,而较轻的胚芽则从管尾水中排出至第1组三级串联的曲筛2,洗涤胚芽中夹带的淀粉。筛下物汇集后回至第1组泵,胚芽成为筛上物,经三级洗涤后进入胚芽脱水工序。经第1组旋流管分离胚芽后的浆料,进入第2组曲筛2分离,筛下物直接进入第二级泵4,筛上物则进入细磨,通常采用的是针磨。经二次磨碎后与筛下物一起进入第二级泵,浓度调配至7~8°Bé,仍以0.4~0.6MPa的压力送入第2组二级串联的旋流管进行次级胚芽分离。在该组中,第一级的尾水回至粗磨后的料浆中,底流进入第二级旋流管。第二级的尾水回至精磨后的料浆中,底流则可进入下一步的筛分工序。经过以上2组二级分离,可使分离后的淀粉料浆中胚芽含量在1%以下。在胚芽分离系统中,曲筛一般是采用50°重力曲筛。筛条缝隙宽度从脱浸渍液到第2组筛分依次为150μm、100μm、75μm。旋流管一般采用大口直径150~200mm,锥角10°~15°。

图1-15-11 玉米胚芽分离系统

1-浸渍罐 2-曲筛 3-粗磨 4-泵 5-脱细砂旋流器 6-胚芽洗涤旋流器

4.2 小麦面筋机(图1-15-12)

图1-15-12 带式小麦面筋机结构示意图

1-机壳 2-带式搅拌器 3-进水口 4-粉浆出口 5-面筋出口

小麦面筋机用于“马丁法”小麦淀粉加工工艺,其目的是要在不使面筋破碎或分散的情况下,使面团中的淀粉充分析出并与面筋分离,以回收具有相当经济价值的面筋和提高小麦淀粉的品质。

小麦面筋机有多种形式,最为常用的是带式搅拌面筋机。该机机壳为一窄长形的深槽内装2个与整机长度相同的带式搅拌器2,两侧内壁设有凹槽,2个搅拌器以不同的转速反向旋转。面团连续不断地从喂料口加入,喂入量要求始终覆盖带式搅拌器2的螺旋桨叶,洗涤用水从两侧及底部的进水口3注入机槽内,通过螺旋桨叶带的搅动及机壁上凹槽的作用,面团受到充分洗涤,洗涤水和悬浮的淀粉从机槽上部粉浆出口4溢出。而含水约70%的面筋则从底部面筋出口5排出。经洗涤的面筋夹带的淀粉极少,脱水后即可进入干燥,得到水分含量为8%左右的商品面筋。

该机在使用过程中应注意洗涤用水必须充足。

4.3 旋转过滤机(图1-15-13)

图1-15-13 旋转过滤机结构示意图

1-下盖 2-滤网 3-尼龙刷 4-筒体 5-上盖 6-传动装置 7-电机 8-机架

旋转过滤机也称自清过滤机,它是淀粉生产中的一种辅助设备。它主要是与碟片分离机配套使用的,淀粉乳通过旋转过滤器,可把其中沙粒、皮壳以及残渣等杂物滤除,从而可避免碟片分离机喷嘴堵塞,减轻碟片磨损,减少因此引起的振动,提高分离效果。

旋转过滤机工作时,料浆从上盖5进口进入筛网内,筛网上有很多孔眼,其大小根据所配套的碟片分离机喷嘴直径而定,通常直径为Φ1mm。料浆中的液相和直径小于1mm的固相部分在进料工作压力的作用下,顺利地通过滤网而从筒体下部的出口排出,进入下一工序的分离机。而较大的固形物则不能通过而粘附在滤网2的内壁上,被低速旋转的2~3只尼龙刷3刷下来进入过滤机下部的下盖1内,定时打开出口处的滤渣闸阀即可排出杂质。

该机的工作压力在0.3~0.5MPa之间,压力降约为0.15MPa左右。工作时应注意料浆浓度及进料量,浓度通常在3~4°Bé之间,进料量依滤网过滤面积不同而异。若料浆过浓或进料量过大,不仅会降低过滤质量,而且会导致筛网的破裂。

该机主要是为碟片分离机配套使用的,亦可单独使用,以消除精分离后淀粉乳中的微量杂质。

4.4 玉米黄浆回收设备

玉米黄浆是玉米淀粉生产中精分离阶段分离出来的蛋白水,其中含有大量的蛋白质,少量的麸质及微量的淀粉,以及其它一些可溶性有机物。它是玉米淀粉生产中重要的副产品,具有较高的经济价值。

玉米黄浆回收典型工艺流程为:一次浓缩→二次浓缩→干燥。

一次浓缩多采用碟片分离机或是卧式螺旋沉降分离机,将从洗涤工序中排出的麸质水浓缩至6~8°Bé。二次浓缩多采用三效蒸发浓缩机组。图1-15-14所示为三效蒸发浓缩工艺流程及蒸发器结构示意图。在该蒸发系统中,由液体沸腾产生的二次蒸汽进入下一蒸发器去加热并蒸发溶液。由于降低压力,在下一蒸发器中溶液沸点低于前一蒸发器的溶液沸点,这样依次利用前一效的二次蒸汽作为下一效蒸发器的热源,即前一效的二次蒸汽表面冷凝器是后一效的加热室,如此组成多效蒸发器。通过三效蒸发浓缩后的玉米黄浆,其浓度可达42%~46%,可送到干燥工序。

图1-15-14 三效蒸发浓缩系统

1-预热器 2-蒸发器Ⅰ 3-分离器 4-蒸发器Ⅱ 5-蒸发器Ⅲ 6-泵 7-冷凝器

浓玉米黄浆的干燥,较为理想的设备是喷雾干燥机、闪蒸干燥机等,也可采用滚筒式干燥机。

4.5 二氧化硫及亚硫酸水制取设备(图1-15-15)

图1-15-15 亚硫酸水制备工艺

1-自熔式双层燃硫炉 2-冷却夹套 3-SO2吸收塔 4-水喷射泵 5-循环水泵 6-SO2第二次吸收塔

二氧化硫是淀粉生产中的重要辅料,可作为浸泡剂及漂白剂使用。在生产实际中,一般是将二氧化硫溶于水后,以亚硫酸的形式使用的。因此,二氧化硫及亚硫酸水的制取设备是各类淀粉厂不可少的辅助设备。

整套系统由硫磺燃烧炉、SO2吸收塔、SO2二次吸收塔以及管路系统等组成。硫磺的燃烧采用自熔式双层燃硫炉。炉顶部设有一加料室,固体硫磺投入加料室以后,由于下部炉膛内SO2燃烧的热量而熔化。熔化的硫磺变成稀黄液体,通过设置在加料室的调节流量的针阀而进入炉膛燃烧。炉膛内设有上下两层燃烧室,上层燃烧室较小,为一凹形方盘,熔融硫从加料室首先流入上层燃烧室燃烧,熔融硫注满上层燃烧室以后即溢流入下层燃烧室继续燃烧。硫磺燃烧以后生成的含SO2气体经过冷却夹套2冷却后,由水喷射泵4吸入SO2吸收塔3,二氧化硫气体在喷射泵的喉管中与水充分混合,并被吸收。而吸收水则通过循环水泵经水喷射泵反复循环,直至形成的亚硫酸水达到要求的浓度(SO2的浓度为0.2%-0.3%),可由泵送到浸渍工序作为浸渍剂。SO2被吸收后的尾气则进入第二次吸收塔6的底部,由清水喷淋进行第二次吸收,吸收以后的稀亚硫酸水浓度可达0.03%,可作为洗涤工序的清洗、漂白用水。

随便看

 

离鸟网收录3541549条中英文词条,其功能与新华字典、现代汉语词典、牛津高阶英汉词典等各类中英文词典类似,基本涵盖了全部常用中英文字词句的读音、释义及用法,是语言学习和写作的有利工具。

 

Copyright © 2004-2024 vtrois.com All Rights Reserved
更新时间:2026/4/20 0:06:46